P-0200-001.pdf - 第68页
0108-003 24mm ࠹ࡊࡈࠖ࠳ 24mm TAPE FEEDER Fig. 4-6 TAG Assy TAG Assy TG-2460, 2461 TG-2460, 2461

0003-003
4-3
ㇱຠ⇟ภ ㇱ ຠ ฬ ⠨
PART No. PART NAME REMARKS
CT-2460L-08,12,16
CT-2461L-20,24
CT-2480L,PL-08,12,16
CT-2481L,PL-20,24
CT-2460TL-08,12,16
CT-2461TL-20,24
CT-2480TL,HL-08,12,16
CT-2481TL,HL-20,24
1 630 050 0653 FRAME(RL2451LA SUB ASSY1)
2 630 044 1871 PIN,GUIDE(REEL BINDER) 582PL-01B-008
9 630 040 2124 BOLT,HEX-SCT(REEL HOLDER) 582PL-01B-009
10 411 004 6903 NUT HEX 6 M6-3 F
ᢙ㊂
Q'ty
1
1
2
2
⇟
ภ
Key No.
ᵈᗧ
NOTE

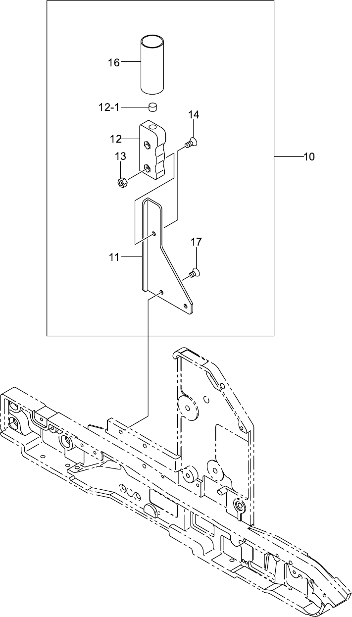
0108-003
24mm ࠹ࡊࡈࠖ࠳ 24mm TAPE FEEDER
Fig. 4-6 TAG Assy TAG Assy
TG-2460, 2461 TG-2460, 2461

0108-003
4-6
ㇱຠ⇟ภ ㇱ ຠ ฬ ⠨
PART No. PART NAME REMARKS
CT-2460TL-08,12,16
CT-2461TL-20,24
CT-2480TL-08,12,16
CT-2481TL-20,24
10 630 071 0656 ASSY,BRACKET(TG-2460) 1 1
10 630 071 0717 ASSY,BRACKET(TG-2461) 1 1
11 630 054 4800 BRACKET 1111 671TP-01B-001
12 630 070 7601 BRACKET(GRIP) 1111 671TP-01B-002
12 -1 630 085 1526 UNIT,I/O 1111 671TP-01H-001
13 411 054 8506 NUT HEX 4 1111 M4 F
14 411 113 4708 SCR FLT 4X10 1111 M4X10 FLT
16 630 039 7079 TUBE,WIRING 1 1 671TP-01H-002
16 630 041 6237 TUBE,WIRING 1 1 671TK-01H-002
17 411 140 7208 SCR FLT 4X6 2222 M4X6 FLT
(YELLOW)
(ORANGE)
YELLOW
ORANGE
ᵈᗧ
NOTE
ᢙ㊂
Q'ty
⇟
ภ
Key No.