P-0200-001.pdf - 第95页

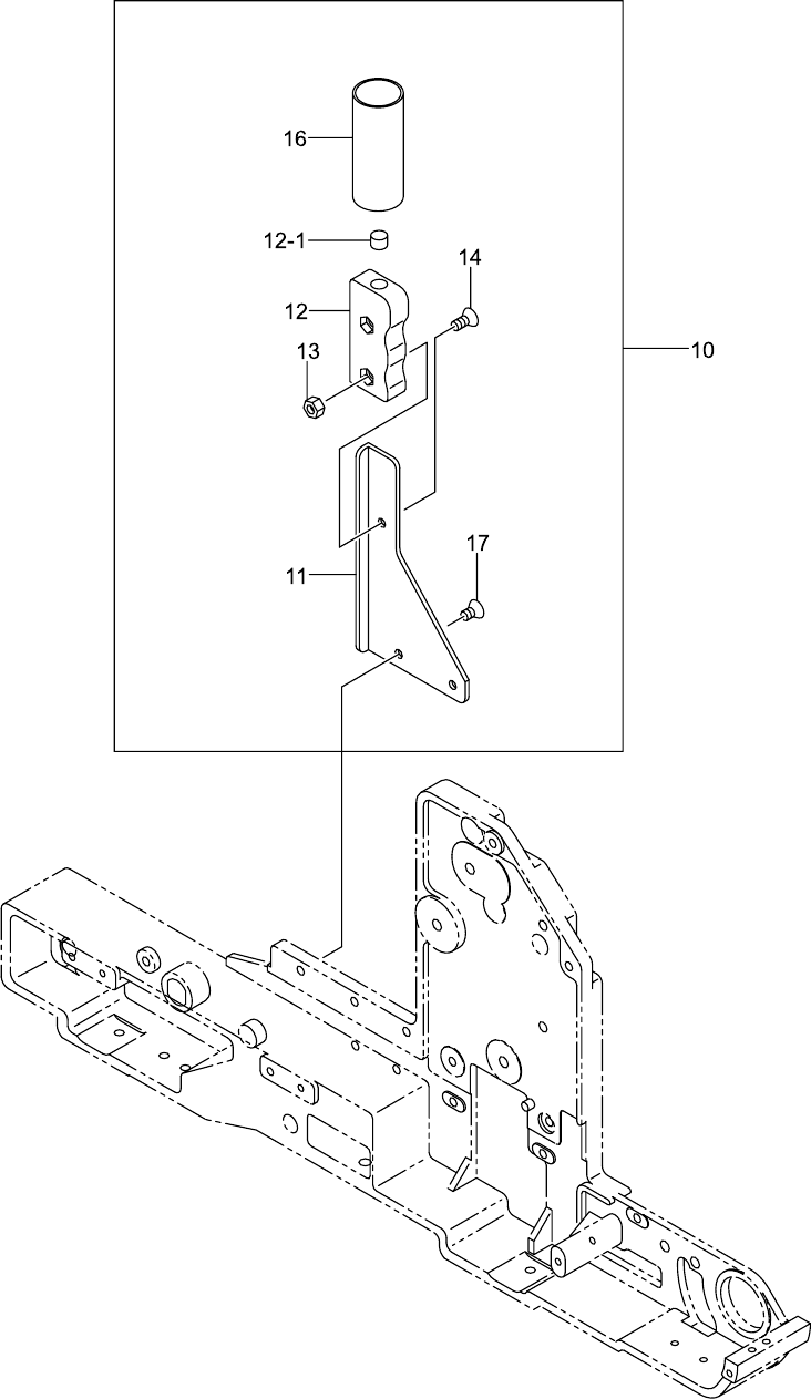
0003-006 6-3 ㇱຠ⇟ภ ㇱ ຠ ฬ ஻ ⠨ PART No. PART NAME REMA RKS CT-3251L CT-3252L CT-3251TL CT-3252TL CT-3253L CT-3283L,PL CT-3283HL 1 630 050 0677 FRAME(RL3251LA SUB ASSY1) 2 630 040 4760 PIN,LOCATE 582RL-01B-009 3 411 141 3902…

100%1 / 166
0108-005
32mm ᏷࠹࡯ࡊࡈࠖ࡯࠳ 32mm TAPE FEEDER
㧔☼⌕࠹࡯ࡊ↪㧕 (for Adhesive Tape)
Fig. 6-3 ᄢ࡝࡯࡞ࡎ࡞࠳ Large Reel Holder
RL-3251L RL-3251L
0003-006
6-3
ㇱຠ⇟ภ
PART No. PART NAME REMARKS
CT-3251L
CT-3252L
CT-3251TL
CT-3252TL
CT-3253L
CT-3283L,PL
CT-3283HL
1 630 050 0677 FRAME(RL3251LA SUB ASSY1)
2 630 040 4760 PIN,LOCATE 582RL-01B-009
3 411 141 3902 WASHER V 3X7X0.5 FW3
4 411 141 2806 WASHER SPR 3 SW3
5 411 140 9905 NUT HEX 3 M3
6 630 040 4777 COLLAR 582RL-01B-010
7 630 040 2254 PLATE,LOCATE 582RL-01B-008
8 411 141 4008 WASHER V 4X9X0.8 FW4
9 411 141 2905 WASHER SPR 4 SW4
10 411 141 0307 NUT HEX 4 M4
11 630 040 4647 PIN,GUIDE 582RL-01B-016
12 630 040 4630 HOOK 582RL-01B-015
13 630 040 4623 PIN,LOCATE 582RL-01B-013
14 630 036 0967 BOLT(FLT HEX-SCT) 582RL-01H-002
15 630 040 2551 LEVER 582RL-01B-011
16 630 050 6266 LEVER(ASSY BRAKE)
17 411 152 8101 SCR TRS 3X6 582RL-01H-004
17 -1 411 141 2806 WASHER SPR 3 SW3
18 411 001 0201 RING E 5 582RL-01H-003
19 630 040 4579 SPRING,TENSION 582RL-01B-014
20 630 044 1871 PIN,GUIDE 582RL-01B-006
21 630 040 2124 BOLT,HEX-SCT(REEL HOLDER) 582RL-01B-007
22 411 004 6903 NUT HEX 6 M6-3 F
2
2
2
ᢙ㊂
Q'ty
1
1
1
1
2
2
2
2
1
1
1
2
1
1
1
1
3
2
2
2
⷗಴⇟
Key No.
ᵈᗧ
NOTE
0108-003
32mm ᏷࠹࡯ࡊࡈࠖ࡯࠳ 32mm TAPE FEEDER
㧔☼⌕࠹࡯ࡊ↪㧕 (for Adhesive Tape)
Fig. 6-6 TAG Assy TAG Assy
TG-3251, 3252 TG-3251, 3252