Machine frame SIPLACE S-23 HM_20211122_023045 - 第11页
Machine frame SIPLACE S-23 HM Page 11 / 33 22.11.2021

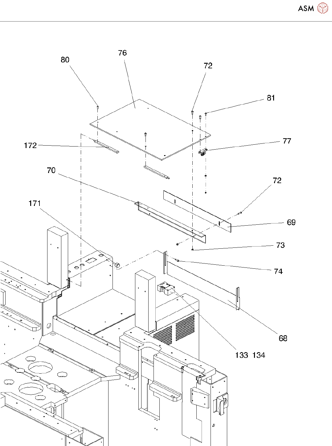
Machine frame SIPLACE S-23 HM
Page 10 / 33 22.11.2021

Machine frame SIPLACE S-23 HM
Page 11 / 33 22.11.2021

Machine frame SIPLACE S-23 HM
Page 12 / 33 22.11.2021