Machine frame SIPLACE S-23 HM_20211122_023045 - 第19页
Machine frame SIPLACE S-23 HM Page 19 / 33 22.11.2021

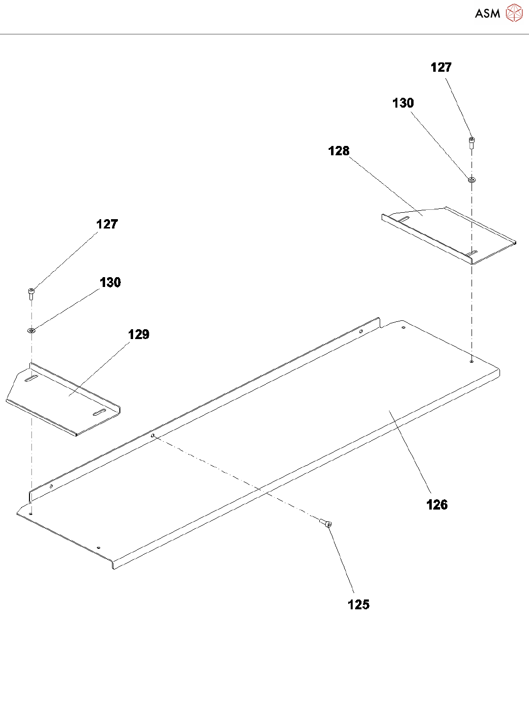
Machine frame SIPLACE S-23 HM
Page 18 / 33 22.11.2021

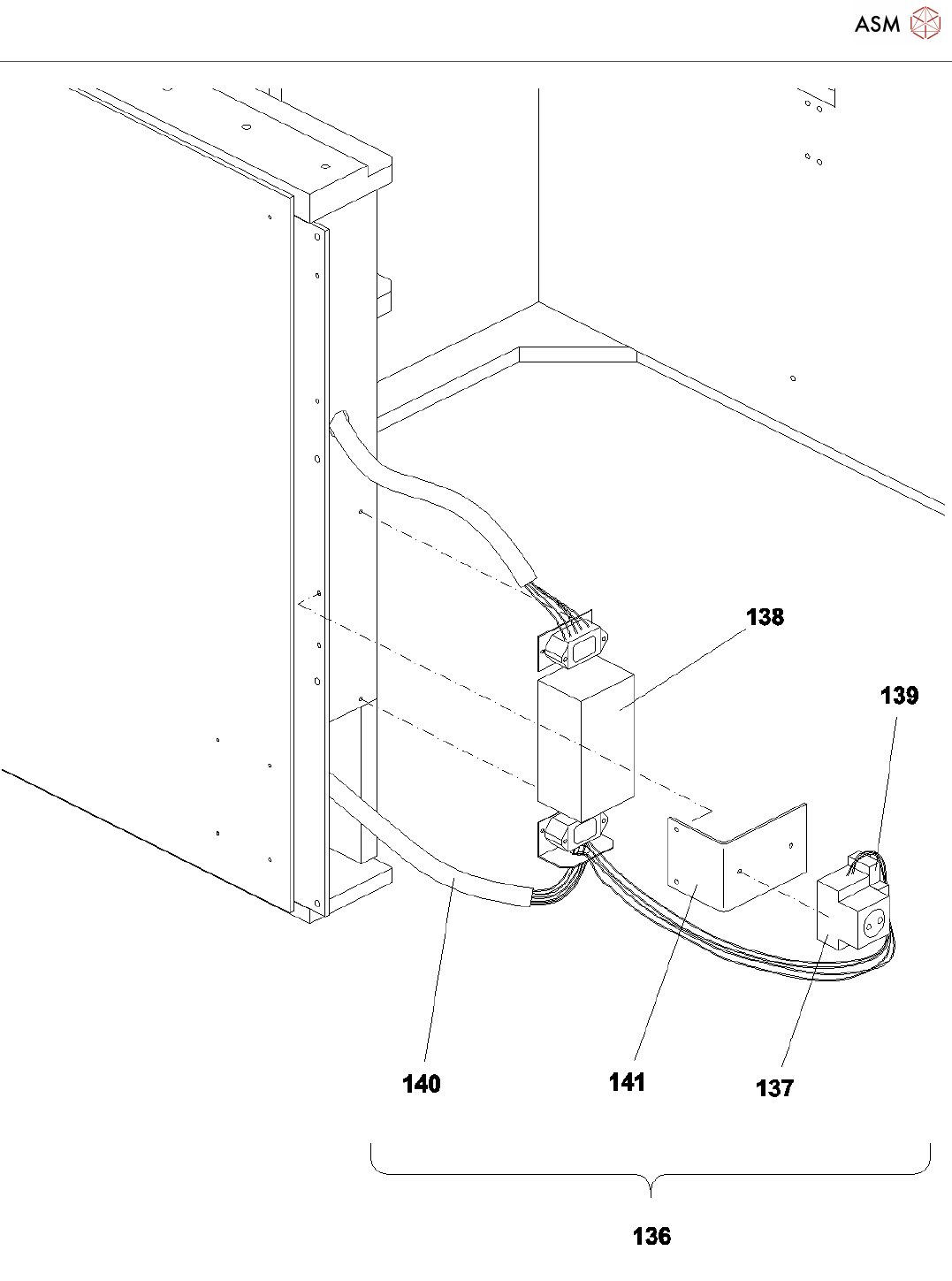
Machine frame SIPLACE S-23 HM
Page 19 / 33 22.11.2021

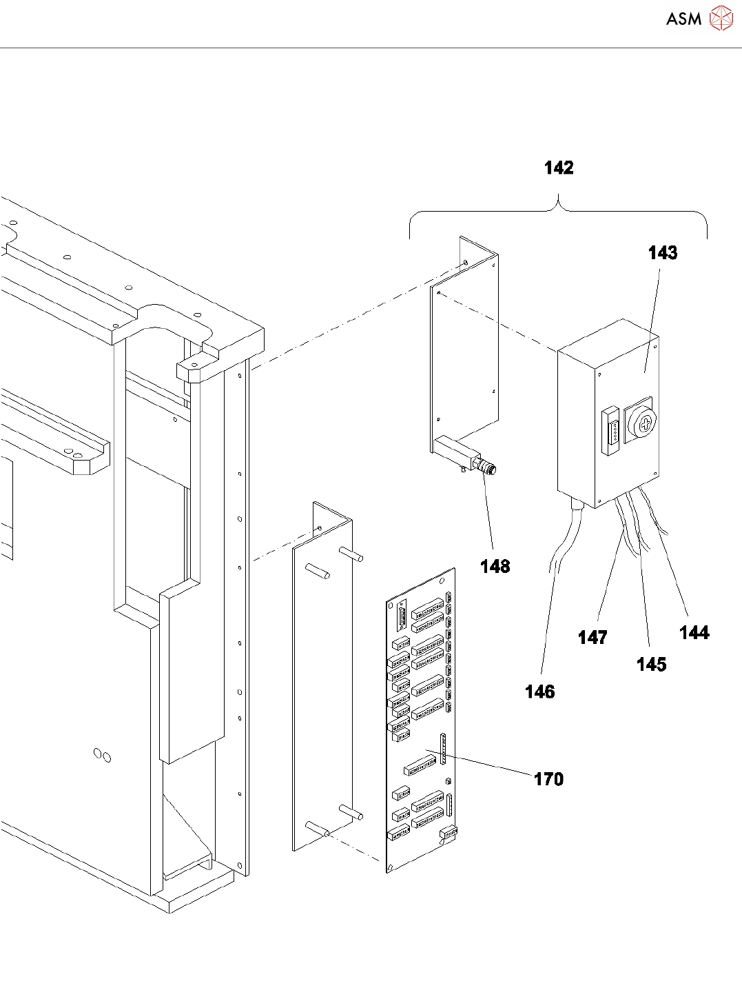
Machine frame SIPLACE S-23 HM
Page 20 / 33 22.11.2021