KE-2070_KE-2080_KE-2080R-Rev14 - 第88页
- - 41. PWB CONVEYOR COMP O NE N TS ( 8) 2 9 5 0 4 9 4 8 5 1 4 4 4 7 A 4 3 4 6 4 6 A 3 9 4 5 9 1 8 1 9 2 8 4 2 3 0 3 1 3 2 3 3 3 4 3 5 3 6 3 7 4 0 4 1 1 5 2 2 3 4 5 6 8 7 B B 3 8 3

- -
REF.NO NOTE PART NO D E S C R I P T I O N Qty
1 400-62328 GUIDE BLOCK ST ASM 1
2 400-00887 GUIDE_BLOCK_A_ASM. (1)
3 400-00889 GUIDE BLOCK B ASM. (1)
4 400-00877 GUIDE BLOCK CLAMP (1)
5 SM-6041602-TN SCREW M4 X 16 (1)
6 #03 400-15793 LOCK SPRING 2
7
#03
400-00895 DAMPER BLOCK R 1
8
#03
SL-6030892-TN SCREW M3 L=8 4
9
#03
400-00891 STOPER SLIDE LEVER L 1
10
#03
400-00897 STOPER SLIDE LEVER R 1
11
#03
400-00892 DAMPER BLOCK L 1
12
#03
400-00978 DAMPER LOCK LINK 2
13
#03
400-00950 DAMPER SPRING 2
14
#03
RE-0300000-K0 E-RING 3 6
15
#03
EA-9500B00-00 CLIP CV-70S 5
16
#03
HX-0031400-00 SPIRAL TABE 0.3
17
#03
400-01081 CENTERING PIN 4.0 2
18
#03
400-15791 DAMPER PLATE L 1
19
#03
400-15792 DAMPER PLATE R 1
20
#03
400-02122 T.PIN SENS ASM 1
21
#03
SL-6030692-TN SCREW M3 L=6 1
22
#03
SL-4031091-SC SCREW M3 X 10 2
23
#03
RE-0300000-K0 E-RING 3 2
24
#03
400-00896 DAMPER LOCK PIN 2
25
#01
E2148-721-000 SENSOR BRACKET R 1
26
#02
E2147-721-000 SENSOR BRACKET L 1
27
#03
400-01087 CENTERING PIN 3.4 1
28
#03
400-01088 CENTERING PIN 3.3 1
29
#03
400-01089 CENTERING PIN 3.2 1
30 #03 400-01090 CENTERING PIN 3.1 1
31
#03
400-01091 CENTERING PIN 3.0 1
32
#03
400-01092 CENTERING PIN 2.9 1
33
#03
400-01093 CENTERING PIN 2.8 1
34
#03
400-01094 CENTERING PIN 2.7 1
35
#03
400-01095 CENTERING PIN 2.6 1
36
#03
400-01096 CENTERING PIN 2.5 1
37
#03
400-01097 CENTERING PIN 2.0 1
38
#03
400-01098 CENTERING PIN 1.9 1
39
#03
400-01099 CENTERING PIN 1.8 1
40
#03
400-01082 CENTERING PIN 3.9 1
41
#03
400-01083 CENTERING PIN 3.8 1
42
#03
400-01084 CENTERING PIN 3.7 1
43 #03 400-01085 CENTERING PIN 3.6 1
44
#03
400-01086 CENTERING PIN 3.5 1
45
#03
E2141-725-000 BU HAND KNOB S 1
46
#03
E2076-721-000 BU HAND KNOB 1

- -
41. PWB CONVEYOR COMPONENTS (8)
2 9
5 0
4 9
4 8
5 1
4 4
4 7
A
4 3
4 6
4 6
A
3 9
4 5
9 1 8
1 9 2 8
4 2
3 0
3 1
3 2
3 3
3 4
3 5
3 6
3 7
4 0
4 1
1 5 2
2
3
4
5
6
8
7
B
B
3 8
3

- -
REF.NO NOTE PART NO D E S C R I P T I O N Qty
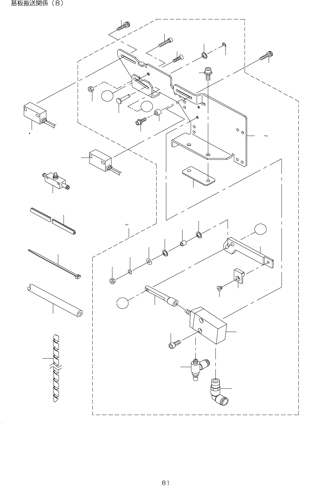
1 400-02214 STOP SENS ASM 1
2 400-02235 C.OUT SENS ASM. 1
3 SL-4031291-SC SCREW M3X12 2
4 PC-0124010-00 SPEED CONTROLLER 1
5 HX-0036700-0A BUSH 0.1
6 EA-9500B00-00 CLIP CV-70S 4
7 BT-0400251-EA TUBE HOSE, BLUE 4
8 HX-0031400-00 SPIRAL TABE 0.4
9
#01
400-20551 STOPER FR ASM 1
10
#02
400-20554 STOPER FL ASM. 1
11
#03
400-20557 STOPER RR ASM. 1
12 #04 400-20564 STOPER FR ASM.(L) 1
13
#05
400-20560 STOPER RL ASM 1
14
#06
400-58537 STOPPER FR(L)ASM 1
15
#09
400-58538 STOPPER RR(L)ASM 1
16
#07
400-64234 STOPPER FR ASM(E) 1
17 #08 400-64236 STOPPER FL ASM(E) 1
18
#10
400-78989 STOPER RR ASM 1
19
#01
400-20552 STOPER FRAME FR (1)
20
#02
400-20555 STOPER FRAME FL (1)
21
#03
400-20558 STOPER FRAME RR (1)
22 #04 400-20565 STOPER FRAME FR(L) (1)
23
#05
400-20561 STOPER FRAME RL (1)
24
#06
400-46030 STOPPER FRAME FR(L) (1)
25
#09
400-46031 STOPPER FRAME RR(L) (1)
26
#07
400-64058 STOPPER FRAME FR(E) (1)
27 #08 400-64059 STOPPER FRAME FL(E) (1)
28
#10
400-78990 STOPER FRAME RR 1
29 SL-6030842-TN SCREW M3 L=8 (1)
30 400-00910 STOPPER PIN (1)
31 RE-0200000-K0 E-RING (1)
32 WP-0320501-SC WASHER M3 (1)
33 400-00911 STOPER CONNECT (1)
34 PA-1002008-A0 AIR CYLINDER (1)
35 SM-6031402-TN SCREW M3X0.5 L=8 (2)
36 PC-0105080-00 SPEED CONTROLLER (1)
37 PJ-3040405-11 ELBOW UNION (1)
38 SL-6041292-TN SCREW (2)
39 E2169-721-000 HOLD PLATE (1)
40
#11
SM-6031402-TN SCREW M3X0.5 L=8 (1)
41
#11
NM-6030001-SC NUT M3X0.5 TYPE1 (1)
42 400-00909 STOPPER (1)
43 E2233-725-000 STOPPER CHIP (1)
44 SM-1030401-SE SCREW M3 L=4 (1)
45 SM-1031201-SC SCREW M3X0.5 L=12 (1)
46 E2039-721-000 WASHER A (2)
47 E2038-721-000 STOPPER COLLAR (1)
48 WP-0330516-SC WASHER 3.3X8X0.5 (1)
49 WS-0310002-KN SPRING WASHER M3 (1)
50 NM-6030001-SC NUT M3X0.5 TYPE1 (1)
51 400-23788 STOPER SPACER (1)
52
#10
400-78970 STOP SENSOR ASM 1