KE-2070_KE-2080_KE-2080R-Rev14 - 第91页
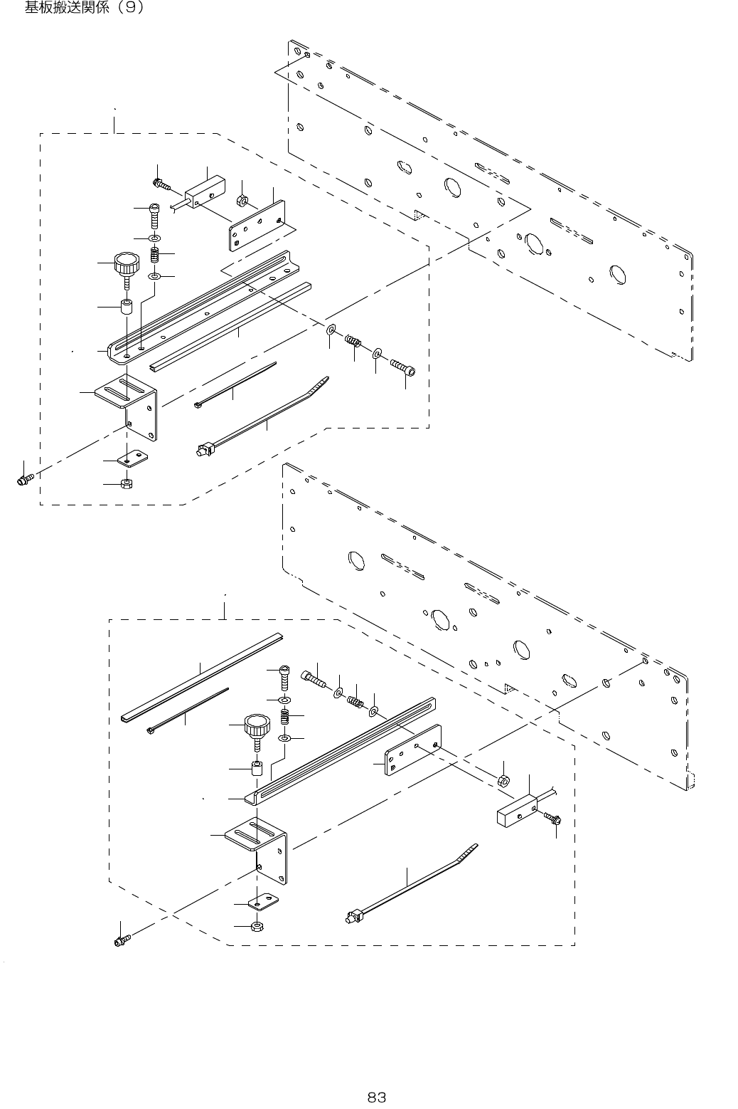
- - REF.NO N O TE PART NO D E S C R I P T I O N Qty 1 400-0 0908 I N SENSOR ASM. 1 2 # 01 400-1726 0 I N SEN SOR ASM. 1 3 HX-0 0 44 0 00- 0 0 CA BL E BAND ( 1) 4 400-0 1078 S ENSOR BR AKET B (1) 5 400-0 1079 S ENSOR BR…

- -
42. PWB CONVEYOR COMPONENTS (9)
1 7
4 1 8
6
8
7
9
2 2
1 0
1 0
1 1
1 1
2 6
1 2
2 1
3 2
2 2
2 3
2 4
2 5
2 6
2 6
1 2
3 3 3 5
3 4
2 7
7
1 1
1 1
2 6
2 5
1 2
1 3
2 8
2 9
1 4
3 0
1 5
1 6
3 1
3 7
3 7
1 2
5
1 9 2 0
3
3 6

- -
REF.NO NOTE PART NO D E S C R I P T I O N Qty
1 400-00908 IN SENSOR ASM. 1
2
#01
400-17260 IN SENSOR ASM. 1
3 HX-0044000-00 CABLE BAND (1)
4 400-01078 SENSOR BRAKET B (1)
5 400-01079 SENSOR BRAKET C (1)
6 400-01076 SENSOR SLIDE PLATE (1)
7 400-00912 SENSOR ADJUST SPRING (3)
8 G6518-880-000 SET PICK-UP (1)
9 GBR-11115000 MOTOR SPACER (1)
10 SM-6041602-TN SCREW M4 X 16 (3)
11 WP-0430801-SC WASHER 4.3X9X0.8 (6)
12 NM-6040002-SE NUT M4X0.7 (3)
13 400-02208 IN SENS ASM (1)
14 SL-4031291-SC SCREW M3X12 (1)
15 HX-0036700-0A BUSH (0.16)
16 EA-9500B00-00 CLIP CV-70S (5)
17 400-01077 SENSOR BRAKET A (1)
18
#01
400-17255 SENSOR BRAKET BR (1)
19 400-00914 OUT SENSOR ASM. 1
20
#01
400-17261 OUT SENSOR ASM. 1
21 400-01076 SENSOR SLIDE PLATE (1)
22 400-00912 SENSOR ADJUST SPRING (3)
23 G6518-880-000 SET PICK-UP (1)
24 GBR-11115000 MOTOR SPACER. (1)
25 SM-6041602-TN SCREW M4 X 16 (3)
26 WP-0430801-SC WASHER 4.3X9X0.8 (6)
27 NM-6040002-SE NUT M4X0.7 (3)
28 400-02210 OUT SENS ASM (1)
29 SL-4031291-SC SCREW M3X12 (1)
30 HX-0036700-0A BUSH (0.16)
31 EA-9500B00-00 CLIP CV-70S (5)
32 400-01077 SENSOR BRAKET A (1)
33 400-01078 SENSOR BRAKET B (1)
34 400-01079 SENSOR BRAKET C (1)
35
#01
400-17255 SENSOR BRAKET BR (1)
36 HX-0044000-00 CABLE BAND (1)
37 SL-6031092-TN SCREW 4

- -
43. PWB CONVEYOR COMPONENTS (10)
3
7
4
6
5
1 1
9
1 0
1 2
2 5
1 8
2 8
2 9
2 4
1 3
1 4
2 6
2 3
1
2
2 0
1 9
1 5
2 2
2 1
2 1
2 2
1 6
1 7
2 7
8
3 0
3 0