KE-2070_KE-2080_KE-2080R-Rev14 - 第94页
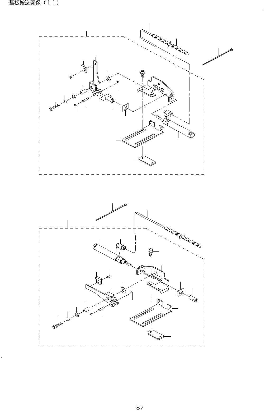
- - 44. PWB CONVEYOR COMP O NE N TS ( 11) 2 3 1 0 1 9 1 8 9 8 7 5 6 2 4 4 3 1 3 1 7 1 5 1 9 1 1 1 6 1 4 4 2 1 1 2 6 2 7 2 8 3 1 3 0 2 9 3 2 3 6 3 7 3 5 3 8 3 3 3 9 4 0 3 4 4 2 4 1 4 2 4 3 2 4 2 2 2 5 1 2 2 0

- -
REF.NO NOTE PART NO D E S C R I P T I O N Qty
1 400-02124 BU ORG SENS ASM 1
2 E4115-729-000 BU SENSOR BRACKET 1
3 400-00916 MANIFOLD VALVE A ASM. 1
4 PV-9150050-00 SOLENOID VALVE INSTALLING BASE (1)
5
#01
PV-1502093-00 5 PORT ELECTROMAGNETIC VALVE (3)
6 PX-0500030-00 SILENCER (1)
7 SL-6041092-TN SCREW 2
8 400-00903 REGULATOR ASM. 1
9 PF-0200040-00 REGULATOR (2)
10 400-00904 REGULATOR BRACKET (1)
11 SM-4033001-SC SCREW M3 L=30 (4)
12 SL-6040892-TN BOLT 2
13 PC-0124010-00 SPEED CONTROLLER 2
14 BT-0400251-EA TUBE HOSE, BLUE 4
15 PX-5000140-00 PLUG 2
16 400-02212 WAIT SENSOR ASM 1
17 SL-6030642-TN SCREW M3 L=6 2
18 SL-6041092-TN SCREW 1
19 E4114-729-000 BU SENSOR DOG 1
20 SL-6051292-TN BOLT 2
21 SL-6104042-TN BOLT 4
22 WP-1052001-SC WASHER 10 4
23 CM-3003000-02 LABEL2 (25) 1
24 400-46029 HANDLE SHAFT 1
25 EA-9500B01-00 CABLE BAND 1
26 CM-3002000-03 ATTENTION LABEL 2
27 EA-9500B01-00 CABLE BAND 20
28 400-13197 CONVEYOR COUPLING 1
29 SM-8050502-TP SCREW M5 L=5 4
30 401-05880 CRUSH HAZARD LABEL (50) 2

- -
44. PWB CONVEYOR COMPONENTS (11)
2 3
1 0
1 9
1 8
9
8
7
5
6
2
4 4
3
1 3
1 7
1 5
1 9
1 1
1 6
1 4
4
2 1
1
2 6
2 7
2 8
3 1
3 0
2 9
3 2
3 6
3 7
3 5
3 8
3 3
3 9
4 0
3 4
4 2
4 1
4 2
4 3
2 4
2 2
2 5
1 2
2 0

- -
REF.NO NOTE PART NO D E S C R I P T I O N Qty
1 EA-9500B01-00 CABLE BAND 1
2 E2281-725-0A0 PUSHER XL ASM. 1
3 E2280-725-000 PUSHER X (1)
4 E2173-715-000 THRUST WASHER (1)
5 E2172-715-000 PUSHER SHAFT (1)
6 WP-0430801-SC WASHER 4.3X9X0.8 (1)
7 WS-0410002-KN SPRING WASHER (1)
8 SM-6041802-TN SCREW M4X0.7 L=18 (1)
9 E2233-725-000 STOPPER CHIP (1)
10 SM-1030401-SE SCREW M3 L=4 (1)
11 E2281-725-000 PUSHER CYLINDER BRACKET XL (1)
12 E2284-725-000 HOLD PLATE B (1)
13 E2283-725-000 PUSHER CYLINDER SUPPER (1)
14 SL-6041042-TN BOLT (2)
15 PA-1002101-A0 AIR CYLINDER (1)
16 PJ-3040405-11 ELBOW UNION (1)
17 E2177-715-000 CYLINDER ARM X (1)
18 E4843-760-000 CYLINDER PIN (1)
19 RE-0250000-K0 E-RING 2.5 (2)
20 E2116-725-000 PUSHER STOPPER PLATE (1)
21 BT-0400251-EA TUBE HOSE, BLUE 1.8
22 BT-0400251-EA TUBE HOSE, BLUE 1.8
23 EA-9500B01-00 CABLE BAND 1
24 HX-0031400-00 SPIRAL TABE 0.6
25 E2282-725-0A0 PUSHER XR ASM. 1
26 E2280-725-000 PUSHER X (1)
27 E2173-715-000 THRUST WASHER (1)
28 E2172-715-000 PUSHER SHAFT (1)
29 WP-0430801-SC WASHER 4.3X9X0.8 (1)
30 WS-0410002-KN SPRING WASHER (1)
31 SM-6041802-TN SCREW M4X0.7 L=18 (1)
32 E2233-725-000 STOPPER CHIP (1)
33 SM-1030401-SE SCREW M3 L=4 (1)
34 E2282-725-000 PUSHER CYLINDER BRACKET XR (1)
35 E2284-725-000 HOLD PLATE B (1)
36 E2283-725-000 PUSHER CYLINDER SUPPER (1)
37 SL-6041042-TN BOLT (2)
38 PA-1002101-A0 AIR CYLINDER (1)
39 PJ-3040405-11 ELBOW UNION (1)
40 E2177-715-000 CYLINDER ARM X (1)
41 E4843-760-000 CYLINDER PIN (1)
42 RE-0250000-K0 E-RING 2.5 (2)
43 E2116-725-000 PUSHER STOPPER PLATE (1)
44 HX-0031400-00 SPIRAL TABE 0.6