JX-350_保养维修手册.pdf - 第225页
维修调整要领书 13-20 13-5 XY 装置 XY装置由检测驱动XY轴 AC 伺服放大器和移动位置的电磁标尺构成。 13-5-1 XY 装置构成 AC 伺服放大器实装有 3 台单轴的伺服放大器(驱动 Y 轴的 AC 伺服放大器 2 台和驱动 X 轴的伺服放 大器 1 台)。贴装头部装有 X 轴磁尺探测头 1 台, X 轴框架上装有 Y 轴磁尺探测头 2 台。 (参照图 13-1-1-3 → ⑫ ) (参照图 13-1-1-2 → ⑬…

维修调整要领书
13-19
13-4-1 电池装置(40146347)
警告
为了避免因触电而发生重伤事故,请使原开关处于「切断」状态。
请确认主体的主自动断路器以及主开关是否关闭。
原开关是指安装在建筑物上的电源开关,并不是主体开关。
警告
1) 请摘下手表、戒指、项链或其他金属物后再进行操作。
2) 请使用带绝缘把手的工具。
3) 请不要在电池上放置工具或金属零件。
【功能】
停电时,通过连接的 ATX 电池(40146346),向控制箱
中进行电池后援。
【双列开关类的设定】
在电池装置中没有双列开关类。
【LED 的意义】
电池装置上没有 LED。
【更换后的调整项目】
没有特别需要调整的项目。
【更换时期】
电池更换请以 3 年为基准。
【更换顺序】
① 更换工作一定要在主电源和主自动断路器、主开关都处于关闭的状态下进行。
② 电池装置配置在基座框架后侧,ATX 电源(40146346)的左侧,只要松开 2 个 SL6041092TN,
即可与 ATX_BATTERY BR(40146347)一起卸下。
另外,拆下与 ATX 电源相连接的电缆。
③ 若从 ATX BATTERY BR 中拆下 4 个 INCH SCREW (40048047),就能拆卸下来。
④ 把电池装置池换成新的,按照与拆卸时相反的顺序进行安装。

维修调整要领书
13-20
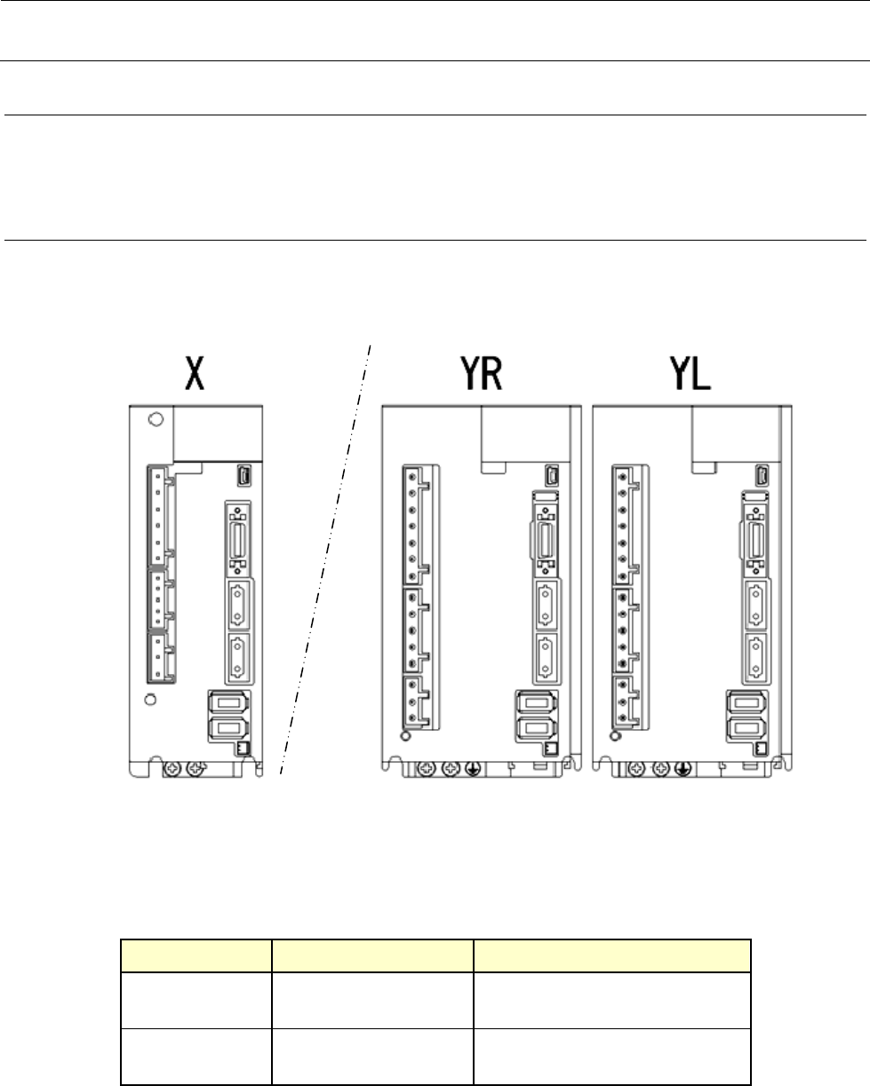
13-5 XY 装置
XY装置由检测驱动XY轴 AC 伺服放大器和移动位置的电磁标尺构成。
13-5-1 XY 装置构成
AC 伺服放大器实装有 3 台单轴的伺服放大器(驱动 Y 轴的 AC 伺服放大器 2 台和驱动 X 轴的伺服放
大器 1 台)。贴装头部装有 X 轴磁尺探测头 1 台,X 轴框架上装有 Y 轴磁尺探测头 2 台。
(参照图 13-1-1-3 → ⑫ ) (参照图 13-1-1-2 → ⑬ )
图 13-5-1-1 XY 装置的构成
<AC 伺服放大器货号>
轴 货号 品名
YL 轴及 YR 轴
40129654
SERVO AMP 2000W
Y AXIS DRIVER
X 轴
40129652
SERVO AMP 750W
X AXIS DRIVER
电动机输出
YL 轴及 YR 轴:1500W
XL 轴及 XR 轴:750W

维修调整要领书
13-21
【更换后的调整项目】
更换伺服放大器时,必须利用各轴的伺服放大器的旋转开关(SW1)进行轴选择设置。
请打开伺服放大器前面的盖罩,转动选轴用的旋转开关(SW1),使箭头指向下表的设置值。
请确认双列开关(SW2)为 OFF 状态。
调整后,请先使主机电源 ON/OFF 一次,然后再启动。
注.更换伺服放大器后,首次启动主机时请勿进行原点复归。
表 13-5-1-1 转动开关的设定
伺服放大器 选轴开关设置值
X 0
YL 2
YR 3
13-5-2 XY 伺服放大器的显示器显示
XY 伺服放大器正面装有指示状态的 7 段 LED。
一般情况下显示如下。
表 13-5-2-1 7 段显示
显示
Ab AC
→
C#
→
d#
内容 电源 ON 正在初始化 伺服 OFF 伺服 ON
* #显示轴编号(参照下表)。
表 13-5-2-2 7 段显示
轴 轴编号#
X 轴
1
YL 轴
3
YR 轴
4
3位7段LED
控制轴设定开关(SW2)
轴选择转动开关(SW1)
轴编号辅助设定开关
控制轴无效开关
测试运行切换开关