P-206-001 - 第201页
MODEL TCM-X200 021 1-003 Key No. P AR T No. P AR T NAME Q’ ty REMARKS NOTE 199 MA-1 7 630 109 3529 COV ER( RFR ) 1 696MA-1 10-007 9 630 095 0960 COV ER( RFR ) 1 696MA-1 10-009 10 630 1 16 2744 COV ER( FSL ) 1 696MA-1 10-…

MODEL TCM-X200
0211-003
198
ࠞࡃㇱ COVER SECTION
Fig. MA-1 ᧄࠞࡃ Body Cover
Fig.MA-1
TCM-X200-003
4797A-003
23
11
11
11
11
11
22
11
21
20
19
18
24
11
11
10
11
11
30
11
11
11
31
32
33
7
11
11
9
11
24
25
11
11
26
15
11
17
16

MODEL TCM-X200
0211-003
Key No. PART No. PART NAME Q’ty REMARKS
NOTE
199
MA-1
7 630 109 3529 COVER(RFR) 1 696MA-110-007
9 630 095 0960 COVER(RFR) 1 696MA-110-009
10 630 116 2744 COVER(FSL) 1 696MA-110-010
11 411 113 9109 SCR TRS 5X10 106 696MA-110-011
15 630 095 0984 COVER(FSL) 1 696MA-110-015
16 630 109 3543 COVER(RFL) 1 696MA-110-016
17 630 095 1011 COVER(RFL) 1 696MA-110-017
18 630 097 2924 COVER 1 696MA-110-018
19 630 097 2931 COVER 1 696MA-110-019
20 630 116 2713 COVER(RBC) 1 696MA-110-020
21 630 116 2720 COVER(RBC) 1 696MA-110-021
22 630 097 2962 COVER 1 696MA-110-022
23 630 097 2979 COVER 1 696MA-110-023
24 630 116 9903 COVER(RS) 2 696MA-110-024
25 630 095 1103 COVER(FSR) 1 696MA-110-025
26 630 099 6579 COVER 1 696MA-110-026
30 630 095 1127 COVER 1 696MA-110-030
31 630 097 2139 COVER(ML) 1 696MA-110-031
32 630 098 1223 COVER(MR) 1 696MA-110-032
33 630 097 7790 COVER 1 696MA-110-033

MODEL TCM-X200
0211-003
200
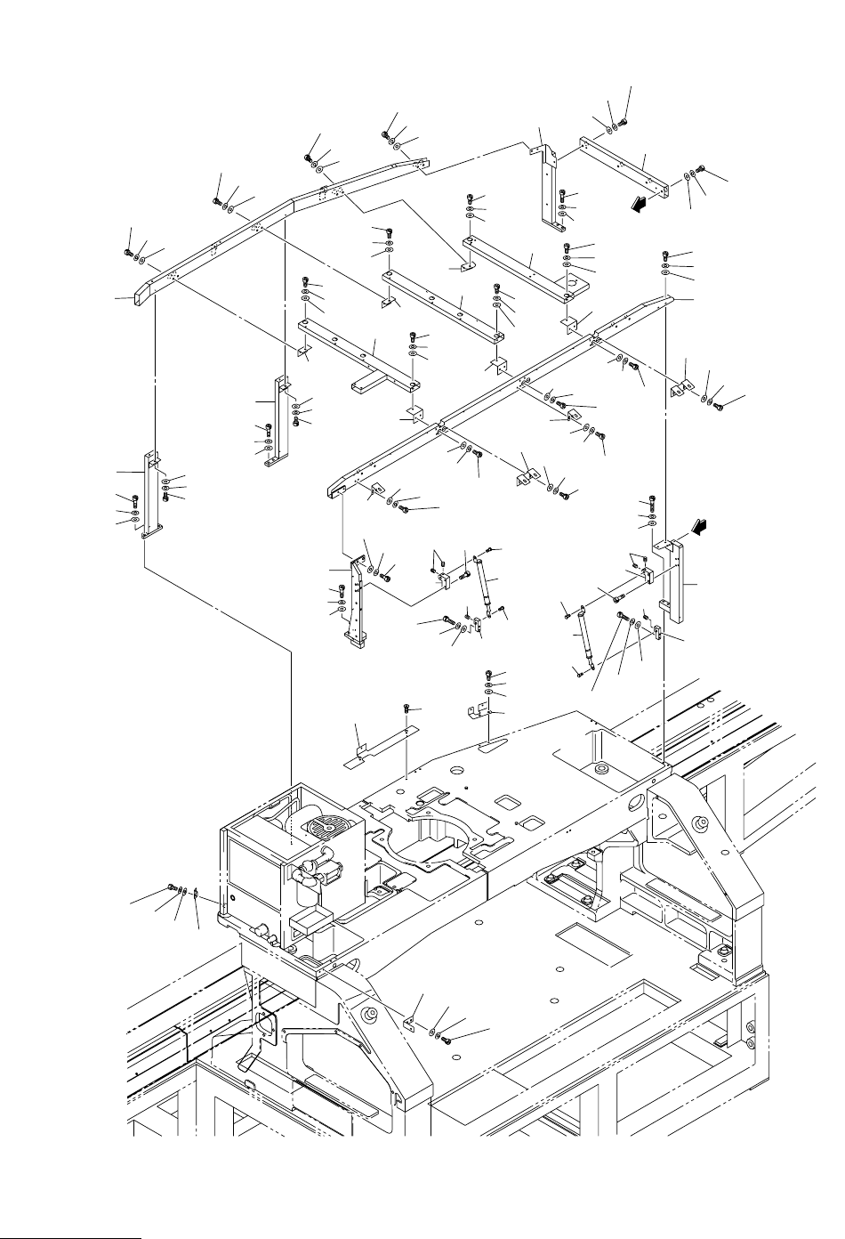
ࠞࡃㇱ COVER SECTION
Fig. MA-2 ㇱࡈࡓ Upper Frame
Fig.MA-2
TCM-X200-003
4797A-003
147
135
148
149
140
146
147
140
113
146
147
109
140
146
147
140
108
115
146
147
140
118
140
146
147
140
146
147
140
146
147
140
146
147
107
118
146
147
147
146
140
147
146
140
135
104
148
149
135
105
148
149
140
146
147
127
147
146
140
147
146
140
128
133
146
140
129
133
146
140
128
133
146
102
143
138
147
146
121
140
136
148
149
143
120
139
122
148
135
131
149
138
146
147
132
117
146
147
130
146
140
126
147
112
133
146
129
119
140
147
146
141
143
139
122
116
122
122
116
143
121
147
146
140
127
127
140
146
147
A
A
111
146
140
147
103
146
140
106
114
133
146
140