P-206-001 - 第55页
MODEL TCM-X200 021 1-003 Key No. P AR T No. P AR T NAME Q’ ty REMARKS NOTE 53 EB-2 10 1 630 086 4236 BASE(SCOPE XY) 1 6 9 6 EB-1 10-101 10 2 630 088 8690 BASE(SCOPE XY) 1 6 9 6 EB-1 10-102 10 3 630 086 2591 C OLL AR (0. …

MODEL TCM-X200
0203-002
52
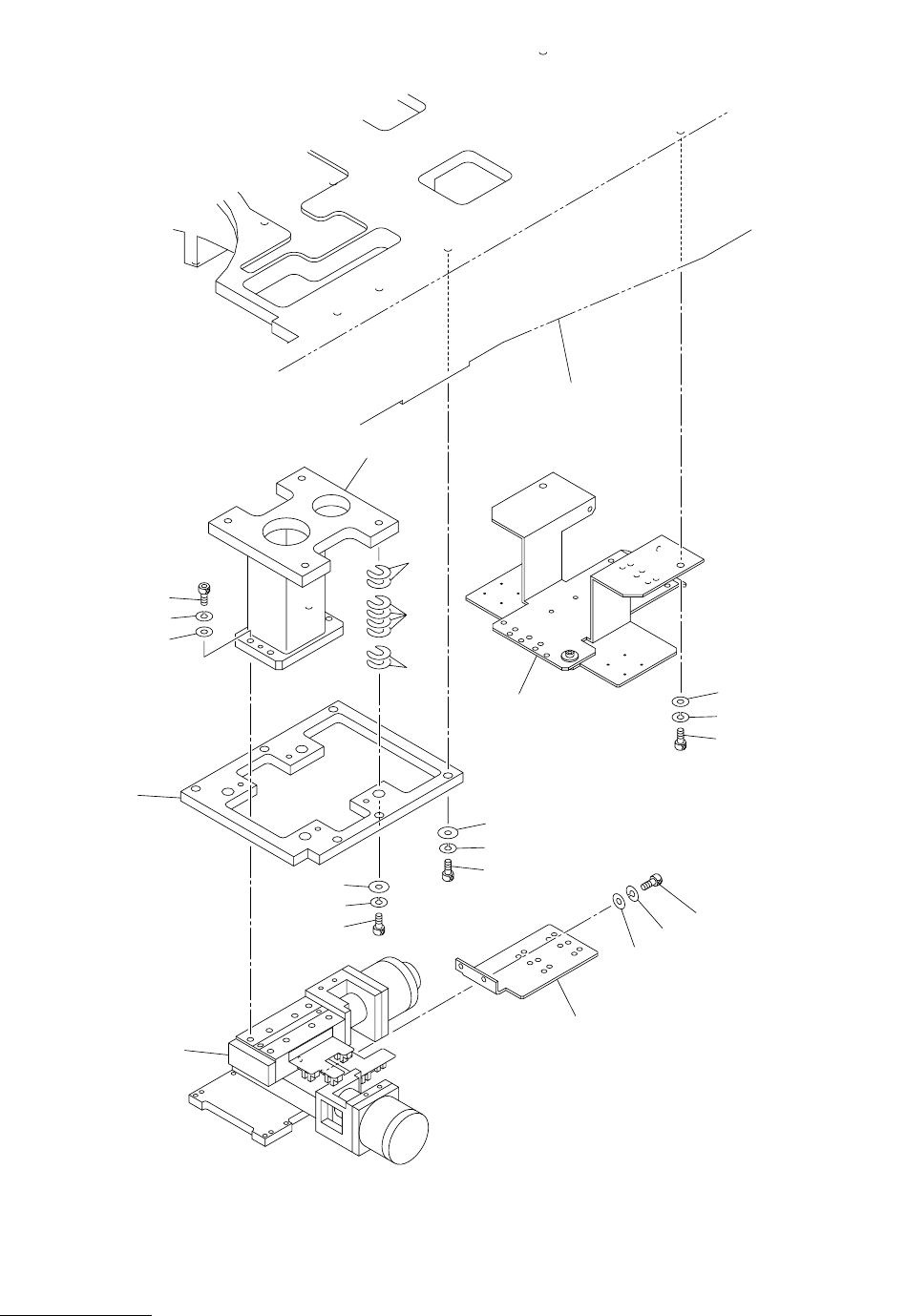
⼂࡙࠾࠶࠻ㇱ RECOGNITION UNIT SECTION
Fig. EB-2 ࠬࠦࡊ XY ࡙࠾࠶࠻ Scope XY Unit
119
111
120
108
112
108
112
121
115
114
113
107
109
108
106
105
104
See Fig.L-1
Key No.12
118
117
103
110
102
101
Fig.EB-2
TCM-X200-002
4797A-002
4797L
TCM-X300

MODEL TCM-X200
0211-003
Key No. PART No. PART NAME Q’ty REMARKS
NOTE
53
EB-2
101 630 086 4236 BASE(SCOPE XY) 1 696EB-110-101
102 630 088 8690 BASE(SCOPE XY) 1 696EB-110-102
103 630 086 2591 COLLAR(0.5) 8 T0.5 696EB-110-103
104 630 000 8036 BOLT,HEX-SCT 4 696EB-110-104
105 411 141 3100 WASHER SPR 8 4 696EB-110-105
106 630 001 0244 WASHER 4 696EB-110-106
107 630 000 7916 BOLT,HEX-SCT 6 696EB-110-107
108 411 141 3001 WASHER SPR 6 12 696EB-110-108
109 630 001 0237 WASHER 6 696EB-110-109
110 630 087 2156 COLLAR(0.1) 16 T0.1 696EB-110-110
111 630 098 2695 COLLAR(0.05) 8 T0.05 696EB-110-111
112 411 141 4305 WASHER V 6X12.5X1.6 6 696EB-110-112
113 630 000 7756 BOLT,HEX-SCT 2 696EB-110-113
114 411 141 6705 WASHER SPR 5 2 696EB-110-114
115 411 141 4107 WASHER V 5X10X1 2 696EB-110-115
117 630 093 9941 BRACKET 1 696EB-110-117
118 630 092 0512 BRACKET 1 696EB-110-118
119 630 099 6128 UNIT 1 MPM28(CX),MPM29(CY),BPH1-8
696EB-110-119
120 630 000 7893 BOLT,HEX-SCT 4 696EB-110-120
121 630 000 7886 BOLT,HEX-SCT 2 696EB-110-121

MODEL TCM-X200
0203-002
54
⼂࡙࠾࠶࠻ㇱ RECOGNITION UNIT SECTION
Fig. EB-3
ၮ᧼⼂ࠞࡔޔഀၮ᧼ਇ⦟ᬌࡦࠨ
P.E.C. Camera, B.B.R. Sensor
252
.
251
217
216
219
See Fig.L-1
Key No.12
232
216
223
240
212
213
232
216
223
232
216
219
239
212
213
208
207
221
227
237
226
225
238
226
204
203
202
217
216
215
253
254
213
231
230
229
233
228
224
222
220
218
214
201
Fig.EB-3
4797L
TCM-X300
TCM-X200-002
4797A-002