P-215-001e - 第134页
MODEL TIM-X100F/R 01 12-001 132 Fig.QC-4 TIM-X100 322 304 305 348 307 328 343 315 331 332 333 301 303 316 330 306 310 339 349 309 339 310 349 341 342 344 313 331 332 334 308 312 326 327 329 336 337 340 314 341 342 344 33…

MODEL TIM-X100F/R
0112-001
131
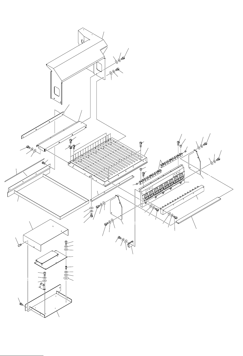
Fig. QCフィーダベース部 後側 FEEDER BASE SECTION-REAR

MODEL TIM-X100F/R
0112-001
132
Fig.QC-4
TIM-X100
322
304
305
348
307
328
343
315
331
332
333
301
303
316
330
306
310
339
349
309
339
310
349
341
342
344
313
331
332
334
308
312
326
327
329
336
337
340
314
341
342
344
331
313
332
334
399
398
397
371
336
337
338
347
396
398
399
351
352
398
399
321
348
396
398
399
363
331
332
334
331
332
333
395
フィーダベース部 後側 FEEDER BASE SECTION-REAR
Fig. QC-4 フィーダベース1 Feeder Base #1

MODEL TIM-X100F/R
0302-002
133
Key No. PART No. PART NAME Q’ty REMARKS
NOTE
QC-4
301 630 110 7035 COVER 1 750QC-210-506
303 630 104 4378 PLATE(STOPPER) 1 750QC-210-043
304 630 103 1811 BRACKET 1 750QC-210-013
305 630 094 9247 NAME PLATE,INDEX 1 750QC-210-023
306 630 099 0980 BASE 1 750QC-210-001
307 630 101 1257 BLOCK 1 750QC-210-002
308 630 099 9235 PLATE 1 750QC-210-004
309 630 099 9228 BLOCK 2 750QC-210-005
310 630 099 2397 PIN,LOCATE 2 750QC-210-037
312 630 102 8699 VALVE 1 750QC-210-019
313 630 099 2366 BRACKET 2 750QC-210-035
314 630 099 2380 BLOCK 1 750QC-210-036
315 630 115 4022 GUIDE 17 750QC-210-040
316 630 115 2929 GUIDE 1 750QC-210-041
321 630 115 3049 BRACKET 1 750QC-210-008
322 630 099 2403 COVER 1 750QC-210-038
326 411 141 4305 WASHER V 6X12.5X1.6 5 750QC-210-326
327 411 141 3001 WASHER SPR 6 5 750QC-210-327
328 630 000 7893 BOLT,HEX-SCT 2 750QC-210-328
329 630 000 7909 BOLT,HEX-SCT 5 750QC-210-329
330 630 000 7930 BOLT,HEX-SCT 2 750QC-210-330
331 411 141 4107 WASHER V 5X10X1 16 750QC-210-331
332 411 141 6705 WASHER SPR 5 16 750QC-210-332
333 630 000 7749 BOLT,HEX-SCT 4 750QC-210-333
334 630 000 7756 BOLT,HEX-SCT 12 750QC-210-334
336 411 141 4008 WASHER V 4X9X0.8 9 750QC-210-336
337 411 141 2905 WASHER SPR 4 9 750QC-210-337
338 630 000 7657 BOLT,HEX-SCT 4 750QC-210-338
339 630 000 7664 BOLT,HEX-SCT 6 750QC-210-339
340 630 000 7688 BOLT,HEX-SCT 5 750QC-210-340
341 411 141 3902 WASHER V 3X7X0.5 4 750QC-210-341
342 411 141 2806 WASHER SPR 3 4 750QC-210-342
343 630 000 7503 BOLT,HEX-SCT 17 750QC-210-343
344 630 000 7534 BOLT,HEX-SCT 4 750QC-210-344
347 411 050 5004 SCR TRS 3X6 4 750QC-210-347
348 411 051 2804 SCR TRS 4X8 6 750QC-210-348
349 630 000 8883 SET SCREW 2 750QC-210-349
351 630 110 9732 P.C.B,MOUNT(HLS I/O-05) 1 UA76*005*0000 750QC-210-051
352 630 069 9616 ACCESSORY,P.C.B 5 750QC-210-052
363 630 110 5741 RELAY 1 -K51 750QC-210-063
371 630 097 9435 P.C.B,MOUNT(CN FB) 8 UA79*001*0000 750QC-210-071
395 630 001 0206 WASHER 5 750QC-210-095
396 411 041 8908 SCR PAN 3X6 7 750QC-210-096
397 411 040 6202 SCR PAN 3X10 16 750QC-210-097
398 411 086 4408 WASHER SPR 3 28 750QC-210-098
399 411 119 1909 WASHER V 3X7X0.5 28 750QC-210-099