00195375-05_SM_D1_D1i_D2_D2i_DE - 第132页
Servicearbeiten C&P6/12-Kopf 4.4.9 Ventilstella ntrieb Abwurfkreis tausch en [0036 7768-xx] (bis DLM3) 132 Serviceanleitung SIPLACE D1/D1i/D2/D2i 4.4.9 4 . 4 . 9 V e n t ils t e lla n t r ie b A b w u r f k r e is t …

Servicearbeiten
4.4.8 Ventilstellantrieb Bestückkreis tauschen [00368075-xx] C&P6/12-Kopf
Serviceanleitung SIPLACE D1/D1i/D2/D2i 131
4.4.8.3
4.4.8.3 Mechanische Justage (alle Versionen)
Mechanische Justage (alle Versionen)
Einstellen des Ventilstellantriebs "Bestückposition"
HINWEIS
Einstell-Ventilstößel
Mit den Einstell-Ventilstößeln können DLM1 (Bestückposition) und alle Ventilstellantriebe von
DLM2, DLM3 und DLM4 eingestellt werden.
► Setzen Sie den abmontierten Kopf auf den Kopfhalter
auf und legen sie beides zur Vorderseite hin ab bzw.
legen sie den Kopf auf eine weiche, ESD-leitfähige
Unterlage zur Kopfvorderseite hin ab.
► Die Sicherungsschraube (1) und die
Befestigungsschraube (2) des Ventilstellantriebs
müssen gelöst sein bzw. werden bei Antriebsmonta-
ge nur leicht eingeschraubt.
► Nun wird statt eines Ventilstößels der Einstellstößel
für die Bestückposition (P) wie im Bild erkennbar ein-
gesetzt.
► Drehen Sie den Einstellventilstößel so, dass die Spit-
zen der beiden Zentrierstifte nahe der Kurvenscheibe
hinter dem Kugellager stehen. Drehen Sie die Kur-
venscheibe mit einem spitzen Gegenstand vorsichtig
in die "Ausgangsposition" (Kugellager waagrecht ne-
ben der Antriebswelle).
► Drehen Sie den Stern vorsichtig in Richtung auf den
Ventilstellantrieb so, dass die beiden Zentrierstifte
hinter dem Kugellager die Befestigung auf der Kur-
venscheibe umfassen.
Der Einstellventilstößel schwenkt sich dabei in die
korrekte Lage (Zentrierstifte parallel zur Kurvenschei-
be).
► Drücken Sie den Ventilstellantrieb in Richtung
Bestückstern und befestigen Sie den Antriebshalter
mit dem Inbusschlüssel 2,5 mm.

Servicearbeiten
C&P6/12-Kopf 4.4.9 Ventilstellantrieb Abwurfkreis tauschen [00367768-xx] (bis DLM3)
132 Serviceanleitung SIPLACE D1/D1i/D2/D2i
4.4.9
4.4.9 Ventilstellantrieb Abwurfkreis tauschen [00367768-xx] (bis DLM3)
Ventilstellantrieb Abwurfkreis tauschen [00367768-xx] (bis DLM3)
Teile, Hilfsmittel und Werkzeug
▪ Gebräuchlich bis Version 2: Abstandslehre 0,2 mm [00325445-xx]
▪ Einstell-Ventilstößel Bestückkreis [03068816-xx]
Verfügbar ab Version 3, gültig für alle Versionen.
Vorbereitung
► Bauen Sie den Kopf aus der Maschine aus. Für den Aus- und Einbau des Bestückkopfes lesen Sie
die Serviceanleitung Ihrer Maschine.
► Anschließend schrauben Sie den Sicherungsgewin-
destift mit einem Inbusschlüssel 0,89 mm fest. Halten
Sie dabei am Ventilstellantrieb dagegen. Durch
übermäßiges Anziehen könnten sie den Ventilstell-
antrieb nach "Hinten" drücken.
► Entfernen Sie den Einstellstößel indem Sie den
Bestückstern zurück drehen und den Einstellstößel
drehend aus dem Ventilgehäuse entnehmen.
HINWEIS
Ventilstellantrieb Abwurfkreis nur bis DLM3
Ab Version DLM4 gibt es keinen Ventilstellantrieb Abwurfkreis mehr.
Einstell-Ventilstößel C&P6/12
1. Einstell-Ventilstößel Abwurfkreis C&P12 [03064290-
xx]
2. Einstell-Ventilstößel Bestückkreis C&P12
[03068816-xx]
3. Einstell-Ventilstößel Abwurfkreis C&P6 [03068854-
xx]
4. Einstell-Ventilstößel Bestückkreis C&P6 [03065628-
xx]
Die eingeprägten Beschriftungen auf den Stößeln haben
folgende Bedeutungen:
▪ 6 = C&P6
▪ 12 = C&P12
▪ P = Bestückkreis (Placement)
▪ R = Abwurfkreis (Reject)

Servicearbeiten
4.4.9 Ventilstellantrieb Abwurfkreis tauschen [00367768-xx] (bis DLM3) C&P6/12-Kopf
Serviceanleitung SIPLACE D1/D1i/D2/D2i 133
Ausbau
Einbau
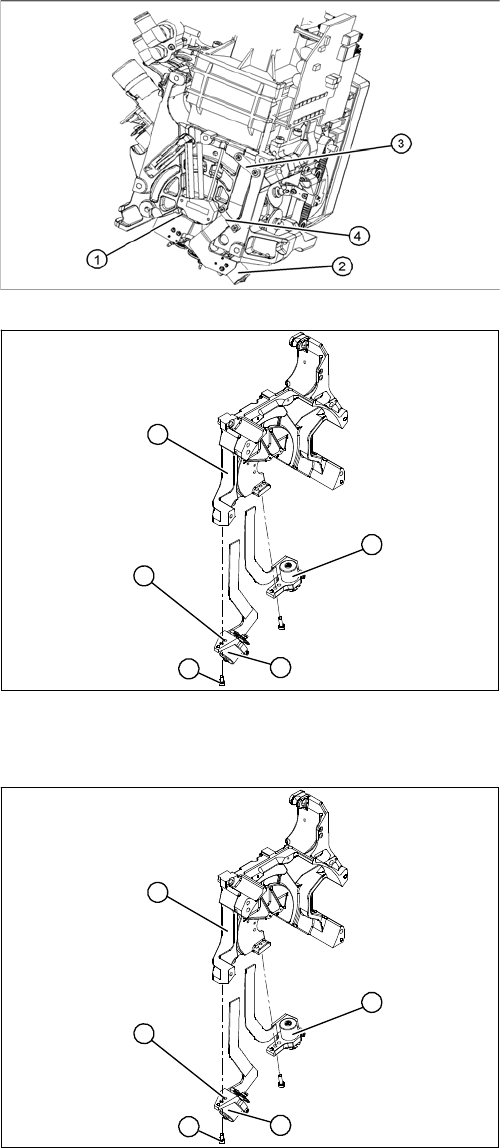
1. Ventilstellantrieb Bestückkreis [00368075-xx]
2. Ventilstellantrieb Abwurfkreis [00367768-xx]
3. Flachbandkabelhalter
4. Flachbandkabelhalter
► Lösen Sie beide Kreuzschlitzschrauben der
Flachbandkabelhalter (3) und (4).
1. Ventilstellantrieb Bestückkreis [00368075-xx]
2. Ventilstellantrieb Abwurfkreis [00367768-xx]
► Lösen Sie die Befestigungsschraube (4).
► Ziehen Sie den Ventilstellantrieb (2) vorsichtig ab.
5
1
4
3
2
► Setzen Sie den Ventilstellantrieb ein. Achten Sie da-
bei auf die Zylinderstifte (5).
► Ziehen Sie die Innensechskantschraube (4) nur lo-
cker an.
► Fixieren Sie die Flachbandkabel mit den Kabelhal-
tern. Achten Sie darauf, dass die Flachbandkabel
nicht gequetscht werden.
5
1
4
3
2