00195375-05_SM_D1_D1i_D2_D2i_DE - 第276页
Einstellungen LP-Transport modular 6 .7.8 Funktion der Lichtschranken im Eingab e -, Zwischen- und Ausgabeband 276 Serviceanleitung SIPLACE D1/D1i/D2/D2i Funktion der Lichtschranke im Bestückbereich: ▪ Einschalten der La…

Einstellungen
6.7.7 Funktion "Konstante Transportzeit im Bestückbereich" LP-Transport modular
Serviceanleitung SIPLACE D1/D1i/D2/D2i 275
► Transportieren Sie eine Leiterplatte mit weissem Aufkleber an der Vorderkante in den
Bestückbereich.
► Aktivieren Sie die entsprechende Laserdiode über die Ein-/Ausgabe-Funktionen im SITEST.
► Öffnen Sie nur die in Transportrichtung gesehene linke Schutzhaube um die Laserlichtschranke ex-
akt einzustellen.
► Prüfen Sie den Verlauf des Laserstrahls an der Leiterplatte mit einem weißen Aufkleber.
► Stellen Sie ggf. mit Hilfe der drei Einstellschrauben den Laserstrahl auf die Mitte des Empfängers
ein.
► Überprüfen Sie die LP-Referenz-Ecke und teachen Sie diese ggf. neu.
6.7.7
6.7.7 Funktion "Konstante Transportzeit im Bestückbereich"
Funktion "Konstante Transportzeit im Bestückbereich"
Diagramme Bremsvorgang der Leiterplatte
Durch das automatische Lernen zum Start des Verfahrprofils wird die Stopperposition immer in einer
konstanten Zeit erreicht, unabhängig vom Gewicht der Leiterplatte. Somit bleibt die Transportzeit immer
konstant.
HINWEIS
Der Strahl muss beim Verschieben des Papiers möglichst genau der Leiterplattenkante entlang
folgen, wobei die Abweichung nach rechts und nach links möglichst gering sein soll.

Einstellungen
LP-Transport modular 6.7.8 Funktion der Lichtschranken im Eingabe-, Zwischen- und Ausgabeband
276 Serviceanleitung SIPLACE D1/D1i/D2/D2i
Funktion der Lichtschranke im Bestückbereich:
▪ Einschalten der Laser-Lichtschranke
▪ Start des Bremsvorganges der Leiterplatte.
Die Lichtschranke im Bestückbereich hat die Aufgabe nach Erkennen einer Leiterplatte den Bremsvor-
gang (Verfahrprofil) über die Transportsoftware zu starten. Über die Software wird die Langsamfahrt der
ersten Leiterplatte automatisch "gelernt". Das Verfahrprofil zum Abbremsen der Leiterplatte wird recht-
zeitig gestartet, so dass die Leiterplatte nach max. 100 ms sicher an der Laserlichtschranke gestoppt
wird.
6.7.8
6.7.8 Funktion der Lichtschranken im Eingabe-, Zwischen- und Ausgabeband
Funktion der Lichtschranken im Eingabe-, Zwischen- und Ausgabeband
▪ Sicheres Erkennen und Stoppen der Leiterplatten
▪ Leiterplattenüberwachung im Eingabeband, d. h.:
Wird eine LP im Eingabeband erkannt, erscheint Sie auf der Bedienoberfläche und die Maschine
sperrt die Transportschnittstelle zur Vorgängerstation. Bei Leiterplatten mit Ausbrüchen kann es vor-
kommen dass die LP stoppt, aber die Lichtschranke wieder deaktiviert und die Schnittstelle zur
Vorgängermaschine wieder geöffnet wird. Dann würde die nächste LP auf die noch im Eingabeband
liegende LP auffahren. Durch die LP-Überwachung wird die LP wieder rückwärts und erneut nach
vorn transportiert, bis die Lichtschranke schaltet.
6.7.9
6.7.9 Einstellung der Betätiger für die Klemmung
Einstellung der Betätiger für die Klemmung
6.7.10
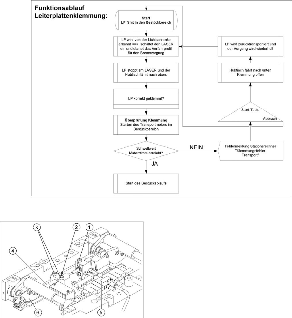
6.7.10 Überprüfung Leiterplattenklemmung
Überprüfung Leiterplattenklemmung
Funktionsbeschreibung:
▪ LP fährt in den Bestückbereich, LP wird von der Lichtschranke erkannt und am Laser gestoppt, der
Hubtisch fährt nach oben.
▪ Überprüfung LP-Klemmung: Der Transportmotor im Bestückbereich wird wieder gestartet. Ist die LP
geklemmt, steigt der Motorstrom über einen bestimmten Schwellwert an. Wurde die Leiterplatte kor-
rekt geklemmt, wird der Bestückprozess gestartet.
▪ Wird dieser Schwellwert nicht erreicht, wird davon ausgegangen, dass sich die LP in Richtung Zwi-
schenband bzw. Ausgabeband bewegt hat und somit nicht korrekt geklemmt wurde.
▪ Am Stationsrechner erfolgt eine Fehlermeldung "LP nicht richtig geklemmt BB1 (BB2)" und mit der
"Start-Taste" kann der Vorgang wiederholt werden.
▪ Der Hubtisch fährt nach unten, die Leiterplatte wird zurück transportiert und fährt die Stopperposition
erneut an.
Legende
1. Betätiger
2. Oberkante Transportriemen
► Stellen Sie den Betätiger zur Oberkante Transportrie-
men auf 94 mm ein.
HINWEIS!
Der Abstand Betätiger Klemmung (Hubtisch) und Ober-
kante Riemen muss an allen vier Auflagepunkten
überprüft werden.
HINWEIS
Die Überprüfung, ob eine Leiterplatte korrekt geklemmt wurde, wird über die Addition der
Ströme des Transportmotors in einem definierten Zeitintervall kontrolliert. Zur Überprüfung der
Funktion kann ein Distanzstück unterhalb der Seitenwange den Hubtisch am Hochfahren hin-
dern.
Die Überprüfung findet nicht statt, wenn die Option "Vacuum Tooling" installiert ist.

Einstellungen
6.7.11 Hubtischfunktionen LP-Transport modular
Serviceanleitung SIPLACE D1/D1i/D2/D2i 277
6.7.11
6.7.11 Hubtischfunktionen
Hubtischfunktionen
Funktion Hubtisch oben
Vorraussetzungen für die Erkennung, dass der Hubtisch oben ist:
▪ 7-8 Schritte auf der Inkrementalscheibe
▪ Überprüfung durch die Software (siehe "6.7.10 Überprüfung Leiterplattenklemmung" [ ➙ 276])
▪ Zeitverhalten von ca. 500 ms
Funktion Hubtisch unten
Vorraussetzungen für die Erkennung, dass der Hubtisch unten ist:
▪ 7-8 Schritte auf der Inkrementalscheibe
Hubtischeinheit
Legende
1. Betätiger
2. Kontermutter Dämpfung
3. Befestigungsschrauben des Befestigungsblocks
4. Dämpfungseinheit
5. 5/3-Wegeventil darunter Pneumatikzylinder mit End-
lagebero
6. Gabellichtschranken/Inkrementalscheibe