BM221 Parts list(Electrical20140424) - 第103页
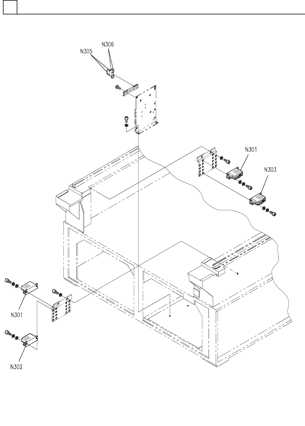
PART No. イラスト No. REF No. PART NAME REMARKS Q'TY 15 カート部 (1) CART SE CT.(1) 部 品 名 品 番 個数 備 考 R 1 R 2 1 N610063867AA CART U NIT カートユニット P610-I8N -C S 2 N301 N610080720AA OPTICA L UNIT ヒカリモシ ゙ュール P610-O8N -C S 1 N302 …

カート部(1)
CART SECT.(1)
15
FN610063867AA_06-1
E79

PART No.
イラスト
No.
REF
No.
PART NAME
REMARKS
Q'TY
15
カート部(1)
CART SECT.(1)
部 品 名 品 番 個数
備 考
R
1
R
2
1 N610063867AA
CART UNIT カートユニット
P610-I8N-C S
2
N301
N610080720AA
OPTICAL UNIT ヒカリモジュール
P610-O8N-C S
1
N302
N610080721AA
OPTICAL UNIT ヒカリモジュール
P610-O16B S
1
N303
N610077295AA
OPTICAL UNIT ヒカリモシ
゙ュール
G7SA-2A2B S
4
N305
K6B4EHA00001
RELAY リレー
P7SA-10F
4
N306
N210P7SA10F
SOCKET ソケット
E80
FN610063867AA_06-1

カート部(2)
CART SECT.(2)
15
FN610063867AA_06-2
E81