BM221 Parts list(Electrical20140424) - 第34页
本体部( 共通部4) MAIN BO DY SECT.(COMMO N SECT.-4) 2 FN610073377AA_1 3-4 E11

PART No.
イラスト
No.
REF
No.
PART NAME
REMARKS
Q'TY
2
本体部(共通部3)
MAIN BODY SECT.(COMMON SECT.-3)
部 品 名 品 番 個数
備 考
R
1
R
2
P610-I16B S
2
A013
N610077291AA
OPTICAL UNIT ヒカリモジュール
P610-O16B S
3
A014
N610077295AA
OPTICAL UNIT ヒカリモジュール
P610-I8N-C S
2
A015
N610080720AA
OPTICAL UNIT ヒカリモジュール
P610-O8N-C S
2
A016
N610080721AA
OPTICAL UNIT ヒカリモジュール
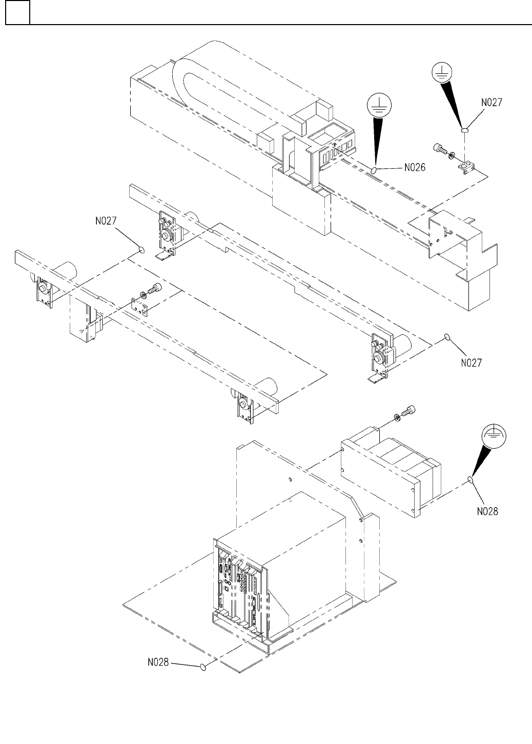
HA527-12.5
1
N026
N986HA52-782
LABEL ラベル
TE1
1
N028
N986TE1
LABEL ラベル
E10
FN610073377AA_13-3

本体部(共通部4)
MAIN BODY SECT.(COMMON SECT.-4)
2
FN610073377AA_13-4
E11

PART No.
イラスト
No.
REF
No.
PART NAME
REMARKS
Q'TY
2
本体部(共通部4)
MAIN BODY SECT.(COMMON SECT.-4)
部 品 名 品 番 個数
備 考
R
1
R
2
HA527-12.5
1
N026
N986HA52-782
LABEL ラベル
HA527-7
6
N027
N986HA5277
LABEL ラベル
TE1
2
N028
N986TE1
LABEL ラベル
E12
FN610073377AA_13-4