BM221 Parts list(Electrical20140424) - 第74页
電源部 (タイプD,E) ELECTR IC POWER SECT. (TYPE-D,E) 6 FN610071106AA_00 E51

PART No.
イラスト
No.
REF
No.
PART NAME
REMARKS
Q'TY
6
電源部(タイプD,E)
ELECTRIC POWER SECT.(TYPE-D,E)
部 品 名 品 番 個数
備 考
R
1
R
2
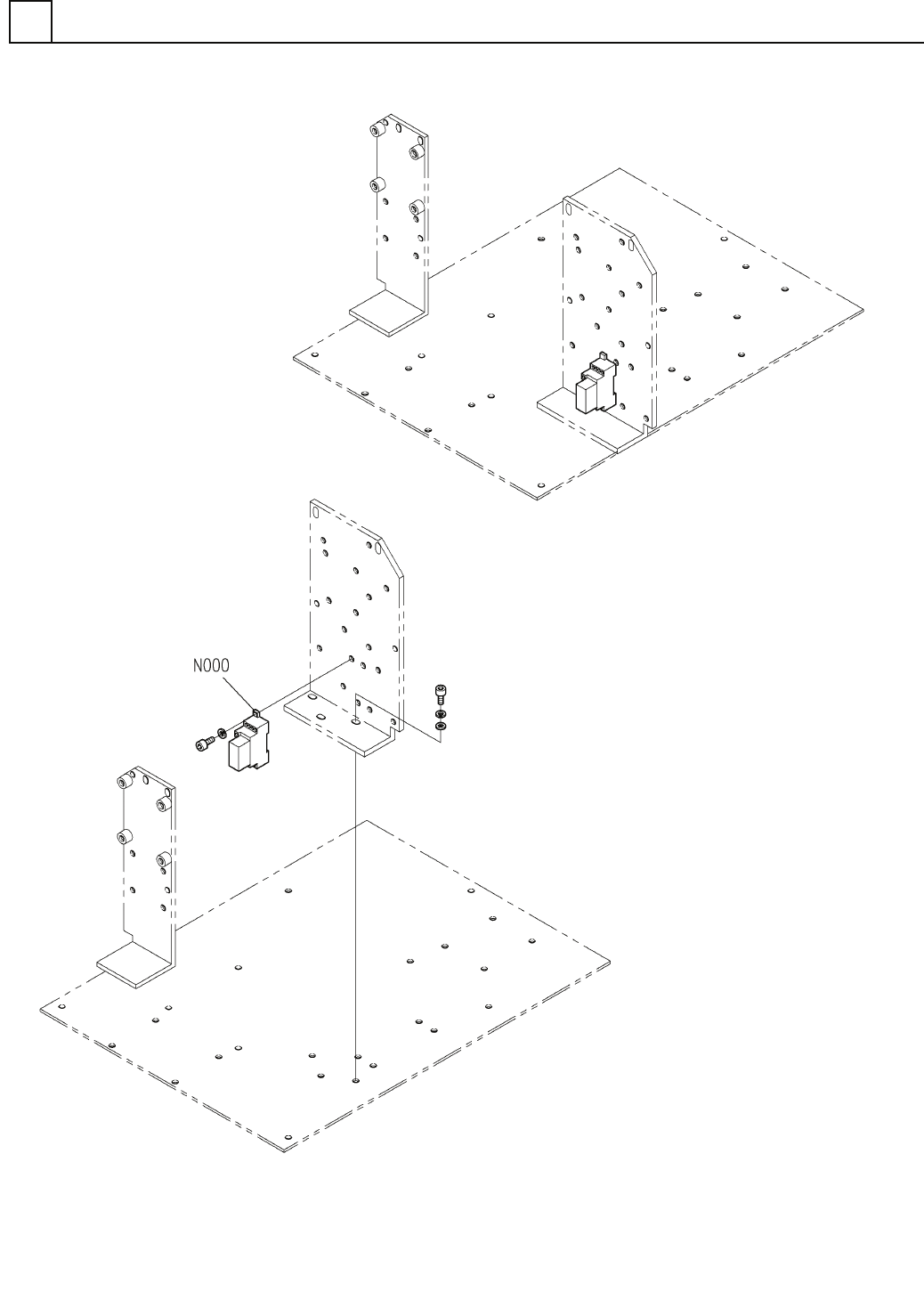
1 N610070129AA
POWER SUPPLY UNIT デ
ンゲンユニット
SD-Q19DC24V S
1
N000
KXFP6JTDA00
ELECTROMAGNETIC CONTACTOR デンジセッショクキ
G7SA-2A2B S
1
N001
K6B4EHA00001
RELAY リレー
P7SA-10F-ND
1
N002
KXFP6JGFA00
SOCKET ソケット
E50
FN610070129AA_03

電源部(タイプD,E)
ELECTRIC POWER SECT.(TYPE-D,E)
6
FN610071106AA_00
E51

PART No.
イラスト
No.
REF
No.
PART NAME
REMARKS
Q'TY
6
電源部(タイプD,E)
ELECTRIC POWER SECT.(TYPE-D,E)
部 品 名 品 番 個数
備 考
R
1
R
2
1 N610071106AA
POWER SUPPLY UNIT デ
ンゲンユニット
G7SA-3A1B S
1
N000
N210G7SA3A1B
RELAY リレー
E52
FN610071106AA_00