CM402-M Parts list-mechanical20150105 - 第182页
13 高 速ヘッド 接続 ユニット:ボールネジ対応 High-Speed Head Connection Unit:for Ball Screw パーツレイアウト Ki t N o . キット 品番 Kit N am e キット名称 KXFX0643A00 セクションNo. PARTS LAYOUT Section No. S41

Ref
No.
Remarks
R
1
Q'ty
12-E
汎用
ヘ
ッ
ド
(
8ノズル
)
High-flexibility Head ( 8 Nozzles )
イラスト
No.
Part No.
品 名品番 数量
R
2
パーツリスト
Kit N
o
.
キット品
番
Kit Name
キット名称
N610055234AA
Part Name
備 考
セクションNo.
PARTS LIST
Section No.
R
3
MANIFOLD
1
1 KXFB0AN1A00
BRACKET
1
2 N210010111AC
BRACKET
1
3 N210010113AC
COVER
1
4 N210010114AA
PLATE
1
5 N210010115AA
BRACKET
1
6 N210026970AA
GUIDE
1
7 N210026973AA
COVER
1
8 N210010117AB
BRACKET
1
9 N210016027AC
PLATE
1
10 MTPB001986AA
STOPPER
3
11 N210026972AA
STOPPER
1
12 N210026971AB
JOINT
2
13 N510065541AA KQ2U06-08A
SPACER
5
14 N510063086AA ASL-360BE
SPACER
5
15 N510063087AA CL-305BE
SCREW
4
16 N510018283AA
Cross recessed Truss head machine screw M4X8-4.8 A2S (Trivalent)
FAN
1
17 KXF0DHHAA00
S
109L0624H402(DA 0DHHA)
SCREW
4
18 N510018254AA
Cross recessed Truss head machine screw M3X6-4.8 A2S (Trivalent)
SPACER
4
19 N510015279AA ASF-310E
JOINT
1
20 KXF02BXAA00 KQL06-01S
PLUG
2
21 KXF02TGAA00 M-5P
JOINT
8
22 KXF0CSYAA00 KJS23-M5
SPACER
4
23 N510017060AA ASF-326E
SPACER
2
24 N510015651AA CF-410E
CABLE-SUPPORT
1
25 KXF0DGAAA00 HV-125
CLAMP
1
26 KXF0DUTAA00 CKS-07-L
SPACER
4
27 KXF0E156A00 CL-316B
SCREW
4
28 N510018278AA
Cross recessed Truss head machine screw M4X5-4.8 A2S (Trivalent)
S40
--
( KN610055234AA-21-5 )

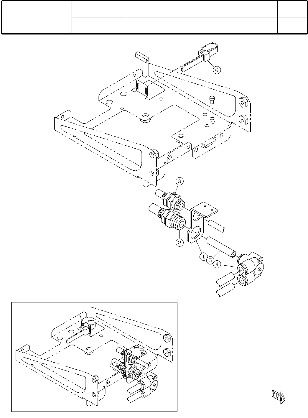
13
高
速ヘッド
接続
ユニット:ボールネジ対応
High-Speed Head Connection Unit:for Ball Screw
パーツレイアウト
Ki
t
N
o
.
キット
品番
Kit Name
キット名称
KXFX0643A00
セクションNo.
PARTS LAYOUT
Section No.
S41

Ref
No.
Remarks
R
1
Q'ty
13
高
速ヘッド
接続
ユニット:ボールネジ対応
High-Speed Head Connection Unit:for Ball Screw
イラスト
No.
Part No.
品 名品番 数量
R
2
パーツリスト
Kit N
o
.
キット品
番
Kit Name
キット名称
KXFX0643A00
Part Name
備 考
セクションNo.
PARTS LIST
Section No.
R
3
BRACKET
1
1 N210010143AA
JOINT
1
2 KXF0CV0AA00 KK4P-08E
JOINT
1
3 KXF0CSZAA00 KK3P-06E
JOINT
1
4 KXF0E4LWA00 KQLU08-00
JOINT
1
5 KXF0AERAA00 KQN08-99
CABLE-SUPPORT
1
6 KXF0DGAAA00 HV-125
S42