CM402-M Parts list-mechanical20150105 - 第197页
Ref No. Remarks R 1 Q't y 16 多機能 ヘッド 接続 ユニット : ボー ルネジ対応 Multi-Functioal Head Connection Unit:for Ball Screw イラスト No. Part No. 品 名 品番 数量 R 2 パーツリスト Kit No . キット品 番 Kit Name キット名称 KXFX064BA00 Part N ame 備 考 セクションNo. P…

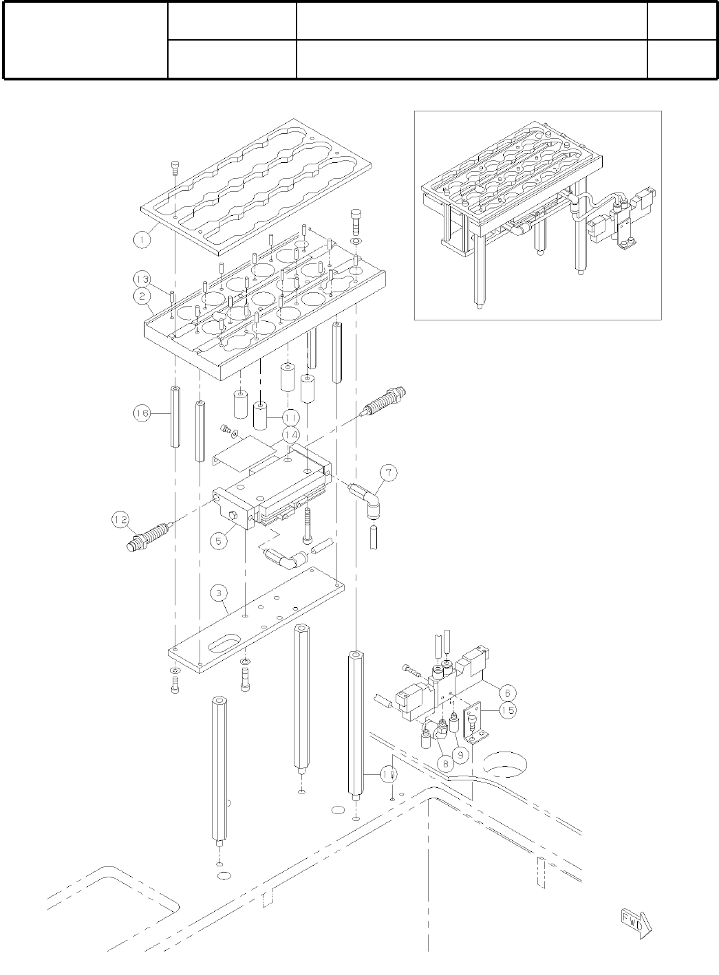
16
多機能
ヘッド
接続
ユニット : ボールネジ対応
Multi-Functioal Head Connection Unit:for Ball Screw
パーツレイアウト
Kit No.
キット品
番
Kit Name
キット名称
KXFX064BA00
セクションNo.
PARTS LAYOUT
Section No.
S55

Ref
No.
Remarks
R
1
Q't
y
16
多機能
ヘッド
接続
ユニット : ボールネジ対応
Multi-Functioal Head Connection Unit:for Ball Screw
イラスト
No.
Part No.
品 名品番 数量
R
2
パーツリスト
Kit No.
キット品
番
Kit Name
キット名称
KXFX064BA00
Part Name
備 考
セクションNo.
PARTS LIST
Section No.
R
3
BRACKET
1
1 N210010143AA
JOINT
1
2 KXF0CV0AA00 KK4P-08E
JOINT
1
3 KXF0CSZAA00 KK3P-06E
JOINT
1
4 KXF0CV1AA00 KK3P-06L
JOINT
1
5 KXF02CDAA00 KQL08-99
CABLE-SUPPORT
1
6 KXF0DGAAA00 HV-125
S56

17
ノズルチェンジャ(
多機能
ヘッド)
Nozzle Changer (Multi-Functional heads)
パーツレイアウト
Kit No.
キット品
番
Kit Name
キット名称
KXFX036XA00
セクションNo.
PARTS LAYOUT
Section No.
S57