RX-6_RX-6B_RX-6R-Rev08PDFA - 第108页
- 10 3 - 52. ROTARY T RANSFER D EVICE ロータリ ー型転写装置 2 66 1 39 44 63 54 53 52 50 51 49 48 47 43 46 41 45 42 16 62 60 61 64 65 56 57 55 58 59 17 10 40 13 14 20 21 22 23 24 25 12 26 37 36 27 36 35 38 28 34 30 31 32 33 29 11 1…

- 102 -
NOTE( 注記 ) #01....TYPE MOUNTED ON THE BASE FRAME. ベースフレーム取付タイプ
#02....TYPE MOUNTED ON THE FEEDER BANK. フィーダバンク取付タイプ
REF.NO NOTE PART NO D E S C R I P T I O N
品 名
Qty
1
#01
400-45523 FLUXER CYL UNIT PL ASM
フラクサシリンダユニット PL 組
1
2
#02
400-99143 FLUXER CYL BANK UNIT PL ASM
フラクサシリンダバンクユニット PL 組
1
3
#01
400-42180 FLUXER CYLINDER UNIT ASM
フラクサシリンダユニット組
(1)
4
#02
400-97610 FLUXER CYLINDER BANK UNIT ASM
フラクサシリンダバンクユニット組
(1)
5 EA-9500B02-00 CABLE BAND
束線バンド
(1)
6 400-44050 FLUXER CYL UNIT
フラクサシリンダユニット
(1)
7 400-44094 FLUX CONTAINER COVER
フラクサコンテナーカバー
(1)
8 400-44093 FLUX CONTAINER
フラクサコンテナー
(1)
9 400-50208 SLIDING PLATE ASM
スライドプレート組
(1)
10 400-50212 LINEAR SLIDE
リニアスライド
(1)
11 400-50262 BASE PLATE ASM
ベースプレート組
(1)
12 400-50209 RIGHT LEVER HOLDER ASM
右レバーホルダ組
(1)
13 400-50550 TERMINAL STRIP
ターミナルストリップ
(1)
14 400-50215 CYL. SCREW M3-8
シリンダスクリュー M 3−8
(2)
15 400-50217 LENS SCREW M3-6 BN1593
レンズスクリュー M 3−6 BN 1593
(2)
16 400-50211 SOLENOID VALVE
ソレノイドバルブ
(1)
17 400-50551 SV CABLE ASM
SV ケーブル組
(1)
18 400-50214 CYL. SCREW M3-6
シリンダスクリュー M 3−6
(8)
19 400-50216 SUNK SCREW M4-12 BN21
SUNK スクリュー M 4−12 BN 21
(6)
20 400-50549 REED SWITCH
リードスイッチ
(2)
21 400-50210 LEFT LEVER HOLDER ASM
左レバーホルダ組
(1)
22 EA-9500B01-00 CABLE BAND
束線バンド
(1)
23 400-66695 FLUX SCRAPER
フラックススクレーパ
(1)
24 400-50485 RUBBER CAP
ゴムキャップ
(2)
25
#01
401-32940 FULUXER_BASE_RX6
フラクサ取付板組_ RX 6
1
26
#01
401-32942 FLUXER_FRAME
フラクサフレーム
(2)
27
#01
SM-6062002-TP SCREW M6 L=20
六角穴ボルト M 6 L =20
(3)
28
#01
SM-3061652-TN SCREW M6 L=16
丸ねじ M 6 L =16
(6)
29
#01
SM-6041202-TN SCREW M4X0.7 L=12
六角穴ボルト M 4 X 0.7 L =12
(8)
30
#01
401-32941 FLUXER_BASE
フラクサベース
(1)
31 SL-6042092-TN SCREW M4 L=20
座金付き六角穴ボルト M 4 L =20
(4)
32
#01
SL-6062092-TN SCREW M6 L=20
座金付き六角穴ボルト M 6 L =20
3
33 SL-6041492-TN SCREW M4 L=14
座金付き六角穴ボルト M 4 L =12
4
34 HX-0029400-00 FIXED BASE
固定ベース
2
35 SM-4040601-SC SCREW M4X0.7 L=6
なべ小ねじ M 4 X 0.7 L =6
1
36 SM-4030601-SC SCREW M3X0.5 L=6
なべ小ねじ M 3 X 0.5 L =6
1
37 400-44165 JIG PLAT ASM
軸プレート組
1
38
#02
HX-0024500-00 CABLE CLAMP
ケーブルクランプ
4
39
#02
SM-4040601-SC SCREW M4X0.7 L=6
なべ小ねじ M 4 X 0.7 L =6
4
40 PJ-3010400-04 REDUCER
レジューサ
1
41
#01
PJ-3080600-03 UNION Y
ユニオン ワイ
1
42
#01
BT-0600400-EC URETHANE TUBE BLUE 6X4
ポリウレタン チューブ 青 6 X 4
0.5
43
#02
PJ-0320090-05 NIPPLE
エアカプラニップル
1
44
#02
PJ-3030600-01 STRAIGHT UNION
ストレートユニオン 6
1
45
#02
BT-0600400-EC URETHANE TUBE BLUE 6X4
ポリウレタン チューブ 青 6 X 4
2
46 BT-0400251-EA URETHANE TUBE BLUE 4X2.5
ポリウレタン チューブ 青 4 X 2.5
2
47 EA-9500B01-00 CABLE BAND
束線バンド
8
48 EA-9500B02-00 CABLE BAND
束線バンド
10
49 PJ-3050600-04 TEE
チーズ
1
50
#02
400-94943 FLUXER BASE ASM E
フラクサベース組電動
1
51
#02
400-93956 FLUXER STUD E
フラクサースタッド E
(4)
52
#02
400-93958 NUT M8 P1
M8ナットP1
(4)
53
#02
SL-6041642-TN SCREW M4 L=16
座金付き六角穴ボルト M 4 L =16
(1)
54
#02
400-94487 ST CLAMP BR E
ST クランプブラケット E
(1)
55
#02
SL-6040892-TN SCREW M4 L=8
座金付き六角穴ボルト M 4 L =8
(4)
56
#02
E1214-726-000 ST CLAMP
スタッカクランプ
(1)
57
#02
400-93955 FLUXER BASE E
フラクサーベース E
(1)
58
#02
400-93957 X STOPPER BR
X ストッパーブラケット
(1)
59
#02
PH-0400062-C0 PARALLEL PIN TYPEB 4X6
平行ピン B 種 4 X 6
(1)
60
#02
SL-6030592-TN SCREW M3 L=5
座金付き六角穴ボルト M 3 L =5
(2)
61
#02
400-77518 SLIDE RAIL
スライドレール
(2)
62
#02
SM-3031052-TN SCREW M3 L=10
丸ねじ M 3 L =10
(14)
63
#02
ST-1030651-SN TAPPING SCREW D=3 L=6
タッピンねじ D =3 L =6
(2)
64
#02
E1109-723-000 LOCK HOLDER
ロックホルダー
(1)
65
#02
SL-4040881-SC SCREW M4 L=8
座金付きなべ小ねじ M 4 L =8
(4)
66
#02
400-78576 RAIL CAP
レールキャップ
(2)
67
#02
SM-1031201-SC SCREW M3X0.5 L=12
皿小ねじ M 3 X 0.5 L =12
(2)
68
#02
400-77519 PLUNGER PLATE
プランジャープレート
(2)
69
#02
400-77520 Y STOPPER PLATE
ワイストッパープレート
(2)
70
#02
SL-6051092-TN SCREW M5 L=10
座金付き六角穴ボルト M 5 L =10
(4)
71 400-80833 SPONGE
スポンジ
1

- 103 -
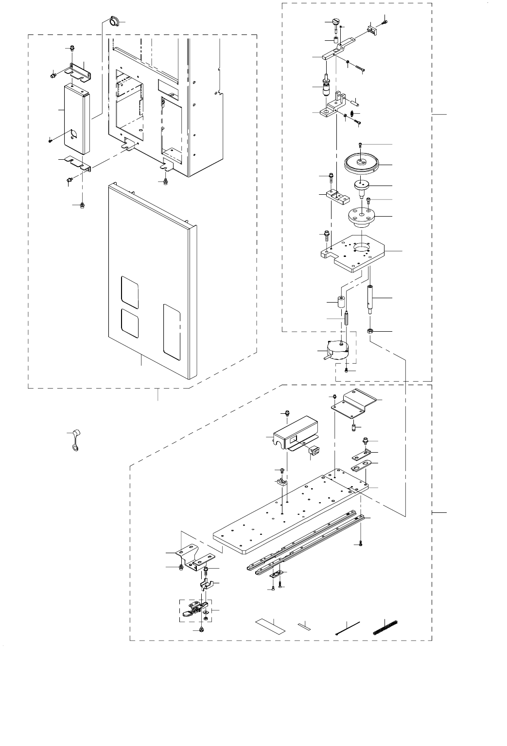
52.ROTARY TRANSFER DEVICE
ロータリー型転写装置
2
66
1
39
44
63
54
53
52
50
51
49
48
47
43
46
41
45
42
16
62
60
61
64
65
56
57
55
58
59
17
10
40
13
14
20
21
22
23
24
25
12
26
37
36
27
36
35
38
28
34
30
31
32
33
29
11
19
15
18
3
9
7
6
6
5
4
8
8
8
8

- 104 -
REF.NO NOTE PART NO D E S C R I P T I O N
品 名
Qty
1 401-22786 ROTARY FLUXER CABLE ASM
ロータリーフラクサケーブル組
1
2 HK-0436900-00 CONNECTOR
コネクタパーツ
1
3 401-22736 COVER_SET_ROTARY
カバー_セット_ロータリー
1
4 SM-4860601-SC SCREW M2.6 L=6
なべ小ねじ M 2.6 L =6
(2)
5 401-10947 SUB_COVER_FUL_V2
サブカバー FUL _ V 2
(1)
6 401-10949 SWITCH_PL_BR_V2
スイッチプレートブラケット V 2
(2)
7 401-22735 SWITCH_PLATE_SP_ROTARY
スイッチ_プレート_ SP _ロータリー
(1)
8 SL-6040892-TN SCREW M4 L=8
座金付き六角穴ボルト M 4 L =8
(8)
9 SL-6041092-TN SCREW M4 L=10
座金付き六角穴ボルト M 4 L =10
(4)
10 401-22788 ROTARY FLUXER MOTOR ASM
ロータリーフラクサモーター組
1
11 401-22904 ROTARY_FLUXER_UPPER_FOR_E
ロータリフラクサ上部ユニット(電動)
1
12 SL-6042092-TN SCREW M4 L=20
座金付き六角穴ボルト M 4 L =20
(2)
13 401-22724 BSAE_PLATE_V
ベースプレート V
(1)
14 SL-6052092-TN SCREW M5 L=20
座金付き六角穴ボルト M 5 L =20
(4)
15 401-22731 CIRCULAR_POST_V
ポスト
(4)
16 401-22732 SPACER_V
スペーサ_ V
(2)
17 SM-6030602-TN SCREW M3X6
六角穴ボルト M 3 X 6
(2)
18 NM-6060001-SC NUT M6X1 TYPE1
六角ナット M 6 X 1 1種
(4)
19 401-07112 FLEXIBLE_COUPLING
カップリング
(1)
20 401-07111 BEARING_HOLDER
ベアリングホルダ
(1)
21 SM-6041002-TN SCREW
六角穴ボルト
(4)
22 401-07117 SAUCER_BASE
受け皿ベース
(1)
23 401-07101 SAUCER
受け皿
(1)
24 SM-6030802-TN SCREW
六角穴ボルト
(2)
25 401-07105 LOCATING_BLOCK
ブロック
(1)
26 401-07104 HINGE_BASE
ヒンジベース
(1)
27 401-07103 LEVER
レバー
(1)
28 401-07119 PARALLEL_PIN_M5_L20
平行ピン M 5_ L =20
(1)
29 SM-8030302-TP SCREW M3X0.5 L=3
止めねじ M 3 X 0.5 L =3
(1)
30 401-07116 KNURLED_KNOB_SCREW
つまみねじ
(1)
31 401-07108 SPACE_COLLAR
スペースカラー
(1)
32 401-07102 SQUEEGEE
スキージ
(2)
33 SL-6031092-TN SCREW M3 L=10
座金付き六角穴ボルト M 3 L =10
(1)
34 401-07115 MICROMETER_HEAD
マイクロメータヘッド
(1)
35 SM-6032002-TN SCREW M3X0.5 L=20
六角穴ボルト M 3 X 0.5 L =20
(1)
36 NM-6030001-SC NUT M3X0.5 TYPE1
六角ナット M 3 X 0.5 1種
(1)
37 SM-6031202-TN SCREW M3X12
六角穴ボルト M 3 X 12
(1)
38 401-07110 PULL_SPRING
引張ばね
(1)
39 401-22905 ROTARY_FLUXER_BASE_ASM_E
ロータリフラクサベース組(電動)
1
40 E1602-723-000 MARKER
取り付けマーカ
(1)
41 400-78576 RAIL_CAP
レールキャップ
(2)
42 401-22725 ROTARY_FLUXER_BASE_E_V
ロータリー_フラクサ_ベース_ E _ V
(1)
43 ST-1030651-SN TAPPING SCREW D=3 L=6
タッピンねじ D =3 L =6
(2)
44 400-77518 SLIDE_RAIL
スライドレール
(2)
45 SM-3031052-TN SCREW M3 L=10
丸ねじ M 3 L =10
(14)
46 SM-1031201-SC SCREW M3X0.5 L=12
皿小ねじ M 3 X 0.5 L =12
(2)
47 401-22726 X_STOPPER_BR_V
X _ストッパ_ブラケット_ V
(1)
48 400-68181 X_GUIDE_PIN_FRONT
エックスガイドピンフロント
(1)
49 SL-6030592-TN SCREW M3 L=5
座金付き六角穴ボルト M 3 L =5
(4)
50 400-77520 Y_STOPPER_PLATE
ワイストッパープレート
(2)
51 400-77519 PLUNGER_PLATE
プランジャープレート
(2)
52 SL-6051092-TN SCREW M5 L=10
座金付き六角穴ボルト M 5 L =10
(4)
53 HX-0029400-00 FIXED BASE
固定ベース
(2)
54 SM-4040601-SC SCREW M4X0.7 L=6
なべ小ねじ M 4 X 0.7 L =6
(2)
55 EA-9500B01-00 CABLE BAND
束線バンド
(3)
56 401-22733 COVER_V
カバー_ V
(1)
57 SL-6040892-TN SCREW M4 L=8
座金付き六角穴ボルト M 4 L =8
(4)
58 E5348-033-100 CABLE PROTECTOR 106MM
ブッシュ
(0.066)
59 401-22789 ROTARY FLUXER SWITCH ASM
ロータリーフラクサスイッチ組
(1)
60 E1214-726-000 ST CLAMP
スタッカクランプ
(1)
61 E1109-723-000 LOCK HOLDER
ロックホルダー
(1)
62 SL-6041642-TN SCREW M4 L=16
座金付き六角穴ボルト M 4 L =16
(1)
63 400-94487 ST_CLAMP_BR_E
ST クランプブラケット E
(1)
64 SL-4040881-SC SCREW M4 L=8
座金付きなべ小ねじ M 4 L =8
(4)
65 SL-6040892-TN SCREW M4 L=8
座金付き六角穴ボルト M 4 L =8
(2)
66 401-24846 RATING_LABEL_ROTARY_STAMPING_M
レイティング_ラベル_ロータリ_転写装置_ M
(1)