P-329-009_SIGMA-G5SII - 第172页
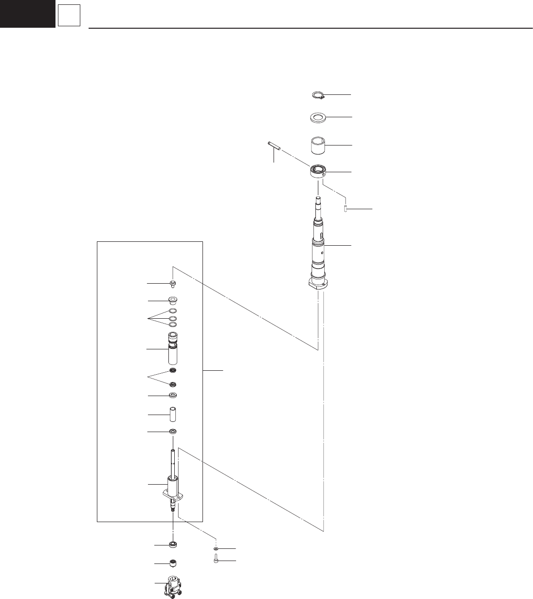
– 166 – G3 2006-009 4 Nozzle 1·2·3 Shaft 27 10 13,1 1 9 2 77 36 34 77-03 77-02 77-08 77-01 77-09 77-06 77-04 77-05 77-07 14 39 78 71 70

– 165 –
MULTI-FUNC. HEAD SECTION
2006-009
No.
Part No.
Part Name Qty. Detail
Yamaha Hitachi
1 KYX-M710E-00 FRAME,MF-NOZZLE 1
12 KYB-M712B-00 1011DA29 BLOCK 1
15
KYX-M7111-00 BLOCK
1
17
KYB-M712H-00 211F9020 BRACKET
2
18-01 KYX-M712F-10 PLATE,DIFFUSER-13 2 Nozzle 1, 3
18-02 KYX-M712F-20 PLATE,DIFFUSER-13 1 Nozzle 2
19 KYB-M7126-00 1011DA1X MOTOR_AC-SERVO 1
20 90112-2AJ012 221AA003 BOLT,HEX.SOCKET HEAD 2
21 KYB-M7116-00 1011DA26 COUPLING 1
22 KYB-M713F-00 222F0094 BEARING_UNIT 1
23 KYX-M712A-00 BRACKET,DOG-1 1
24 KYX-M7129-00 BRACKET,DOG-2 1
25 91312-03008 221AA006 BOLT,HEX.SOCKET HEAD 2
26 91312-03004 221AA004 BOLT,HEX.SOCKET HEAD 2
28 KYB-M713E-00 222D0411 BEARING_RADIAL 1
29 KYB-M713G-00 226A0107 SEAL 2
30 KYB-M7136-00 216E1513 PIN_LOCATE 3
32 90990-01J140 221AA095 BOLT,HEX.S/H WW 4
33 91312-03010 221AA007 BOLT,HEX.SOCKET HEAD 4
34 90112-2AJ008 221AA002 BOLT,HEX.SOCKET HEAD 2
35 90990-01J135 221AA089 BOLT,HEX.S/H WW 4
42 KYB-M7121-00 1011DA15 BLOCK 1
43 KYX-M712J-00 BRACKET 1
44 90990-01J138 221AA099 BOLT,HEX.S/H WW 8
45 90990-01J147 221AA103 BOLT,HEX.S/H WW 2
46 91312-04014 221AA019 BOLT,HEX.SOCKET HEAD 2
47 92902-04200 221HA104 WASHER, PLAIN 2
49 KYX-M710P-00 ASSY-VALVE 1
50 KYX-M710J-00 BRACKET,VALVE 1
51 90990-01J139 221AA092 BOLT,HEX.S/H WW 9
52 KYB-M7117-00 1011DA2A COVER 1
53 KYB-M711G-00 0916D70P BRACKET 1
54 KYB-M711F-00 0916D70M BRACKET 1
55 KYB-M712L-00 211H0398 SHEET 1
56 KYB-M712K-00 211H0361 SHEET 1
57 KYB-M711J-00 225F0550 PIPE_FITTINGS 1
58 91312-03035 221AA014 BOLT,HEX.SOCKET HEAD 2
60 92902-03200 221HA103 WASHER,PLAIN 4
62-01 KYX-M710S-00 SENSOR,LAND-12 ASSY. 2 Nozzle 1, 2
62-02 KYX-M710S-10 SENSOR,LAND-3 ASSY. 1 Nozzle 3
63 91312-03010 221AA007 BOLT,HEX.SOCKET HEAD 2
64 KYB-M65AW-00 23N30632 WIRING 13
65 90990-11J010 221DA056 SCREW,PAN HEAD WW 1
66 $AB80 TIE 80MM 1
73-01 KYB-M7119-00 1011DG02 HNS,MFHEAD ROBOT 1 Nozzle 1, 3
73-02 KYB-M7119-10 HNS,MFHEAD ROBOT 1 Nozzle 2

– 167 –
MULTI-FUNC. HEAD SECTION
2006-009
No.
Part No.
Part Name Qty. Detail
Yamaha Hitachi
2 KYB-M710G-00 0916D70H SHAFT 1
9 KYB-M712P-00 216A1658 COLLAR 1
10
KYB-M712R-00 216A1659 COLLAR
1
11
KYB-M7133-00 222M1351 SPRING_COMP
1
13 KYB-M7135-00 222M1407 SPRING_COMP 1
14 KYB-M712W-00 216E1682 PIN_LOCATE 1
27 99009-11400 1011DA19 CIRCLIP 1
34 90112-2AJ008 221AA002 BOLT,HEX.SOCKET HEAD 2
36 90990-28J191 221HA202 WASHER,PLAIN 2
39 90990-02J020 221C0001 SCREW,SET 2
70 KYB-M7131-00 221G0110 NUT 1
71 KYB-M711M-00 10113C0R FILTER,ASSY. 1
77 KYB-M710B-00 10113C0G ASSY_NOZZLE_SHAFT 1
77-01 KYB-M712T-00 216C0773 ROD 1
77-02 KYB-M7130-00 217A0139 CAP 1
77-03 KYB-M712V-00 216E1512 PIN_LOCATE 1
77-04 KYB-M712N-00 216A1200 COLLAR 1
77-05 KYB-M712M-00 216A1199 COLLAR 1
77-06 KYB-M7134-00 222M1352 SPRING_COMP 1
77-07 KYB-M711A-00 215B0120 BUSH_LINEAR 1
77-08 KYB-M713J-00 226A0212 SEAL 3
77-09 KYB-M711D-00 226A0086 SEAL 2
78 KYB-M710R-00 10113C0H ASSY_NOZZLE-HOLDER 1
