P-329-009_SIGMA-G5SII - 第73页
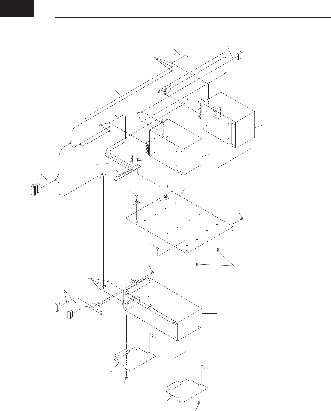
– 67 – ELEC TRI CA L S EC TIO N 2 2006-009 A X19404 915 914 841 907 840 841 840 915 914 915 914 913 915 914 915 914 908 909 912 910 9 11 915 914 915 901 902 903 915 903 915 903 904 906 905 902 U85 (UC16) M177 U82 U81 U18…

– 67 –
ELECTRICAL SECTION 2
2006-009
A
X19404
915
914
841
907
840
841
840
915
914
915
914
913
915
914
915
914
908
909
912
910
911
915
914
915
901
902
903
915
903
915
903
904
906
905
902
U85
(UC16)
M177
U82
U81
U180
D81
U91
U92
D89
CPU2
U85
U82
U81
U91
CPU1
U92
U93
U94
A10
A63(B)
A63(F)
A63(B)
A63(F)
A10
No.
Part No.
Part Name Qty. Detail
Yamaha Hitachi
901 KU8-M66F5-20 CORD-VGA-2M 1
902 KYB-M6574-00 1005BC6S CORD-USB2M-A-A 1
903 KYB-M658H-00 23N30590 ACCESS-WIRING 2
904 KYB-M65BS-00 4W203562 LAN-CABLE-05M 1
905 KYB-M6570-00 1005BC5T LAN-CABLE-1M 1
906 KYX-M655K-00 HNS,CAMERA 1
907 KYB-M6573-00 1005BC5Z CORD-RS232C-4M 1
908 KYB-M6572-00 1005BC5Y CORD-RS232C-2M 1
909 KYB-M654E-00 1010BC6W CORD-FIBER 1
910 KYB-M654D-00 1010BC6V CORD-FIBER 1
911 KYB-M653Y-00 1010BC2V HNS,AE-LINK 1
912 KYB-M6540-00 1010BC2W HNS,AE-LINK 1
913 KYA-M656N-00 4W202695 CORD-LAN 1
914
KYB-M6588-00
23N20103 TUBE-WIRING 1
915 $AB100-W 0916D209 TIE 100MM 16

