KE-2070-2080-2080R 操作手册2 Rev00.pdf - 第28页
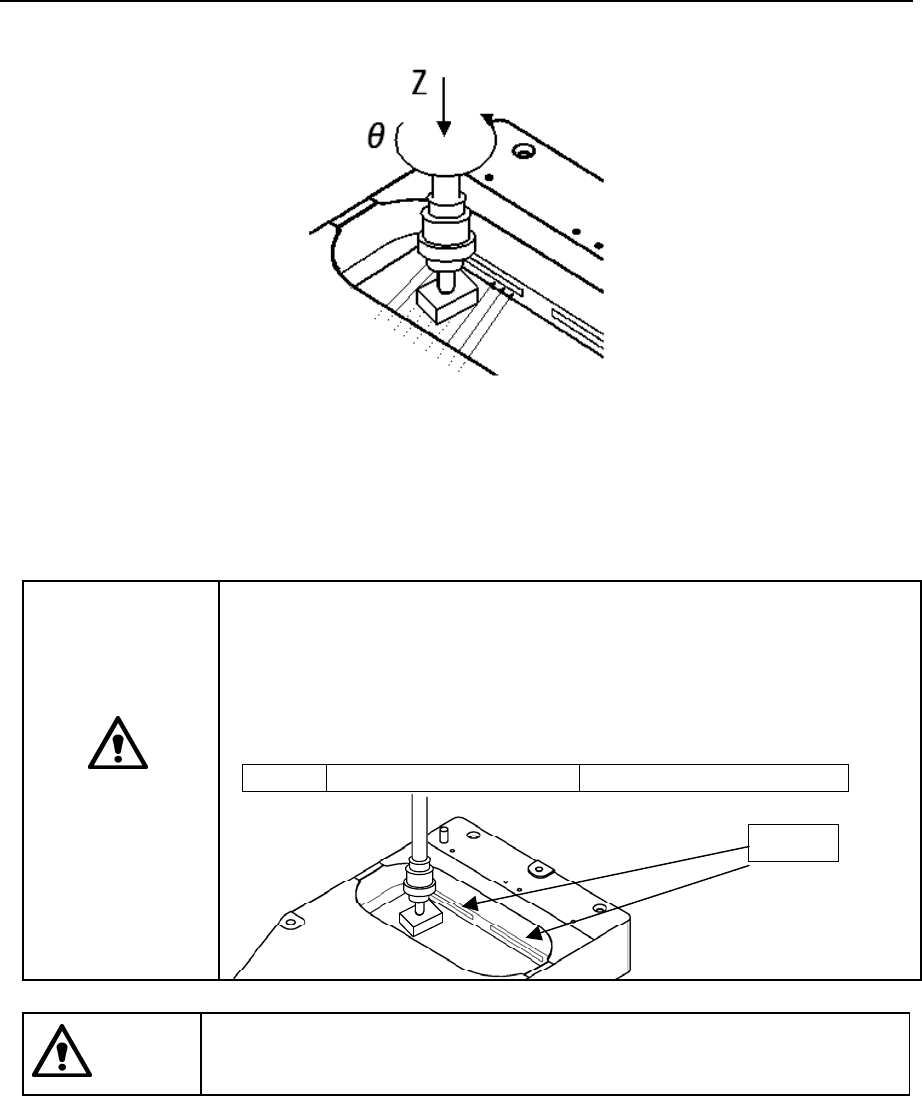
第 1 章 设备概要 Rev02 1-18 1-4-5 定心系统 本装置采用非接触式定心方式, 从侧面照射LED激光, 读取其光影, 根据激光校准传感器识 别组件位置角度。 图 1-14 LNC60 通过Z轴的上下移动 ,用真空来吸取组件,向组 件投射 LED 。组件上被 LED 遮住的部分成为 阴影,用θ轴旋转组件,可知该阴影宽度的变化。 ◇ 从阴影宽度的变化,求出所吸取组件的位置偏移及角度偏移,校正该偏移量后进行贴片。 保护激光装置…

第 1 章 设备概要 Rev02
1-17
3. 识别用标记
请按下述条件制作识别用标记。(图1-12)
但形状推荐使用均匀带色的圆形。
此外,标记周围的空白区域以图1-13所示范围为准。
A
C
C
A
B
A
B
B
三角形
A
B
A
B
C
C
B
B
B
正方形
中抜き正方形
菱形
中抜き菱形
円形
中抜き円形
B
A
C
B
A
C
B
B
中抜き三角形 逆三角形 中抜き逆三角形
市松模様(1)
市松模様(2)
十字
图 1-12 识别标记形状
1. 识别时,标记为上述方向的角度。
但非矩阵基板指定为“使用每一电路的标记”时,基准电路的标记为上述方向的
角度,以90°为单位配置的电路均为可识别标记。
2. 一张基板内的基准,建议使用同一形状和同一大小的标记。
3. 可识别铜箔及镀锡。
4. 最大登录数
基板标记 1组(2个标记或3个标记)
IC标记 50组(2对标记~3对标记)
5. 可登录项目
标记编号、重心检测窗、检测时正色/反色的区別
标记形状、外形尺寸、投射有效值、统一性
6. 如无识别用标记,通过登录用户指定的模板,可进行标记识别。
4. 间隙
请确保各识别标记周围没有导体图案、低
温焊接保护层、标记等其他元件。
此外,该间隙区域的尺寸,请设定为识别
标记外围0.5mm以上的大正方形。
图 1-13 识别标记的间隙区域
A 和 C 尺寸 :
0.5~3.0mm±10%以上
B 尺寸:
0.2mm 以上
0.5 mm 以上
0.5mm 以上
间隙区域
识别标记
注意 :
0.5 mm 以上
正方形
中空正方形
菱形 中空菱形
三角形 三角形 中空三角形 倒三角形 中空倒三角形
圆形 中空圆形 格子状(1) 格子状(2) 十字

第 1 章 设备概要 Rev02
1-18
1-4-5 定心系统
本装置采用非接触式定心方式,从侧面照射LED激光,读取其光影,根据激光校准传感器识
别组件位置角度。
图 1-14 LNC60
通过Z轴的上下移动,用真空来吸取组件,向组件投射LED。组件上被LED遮住的部分成为
阴影,用θ轴旋转组件,可知该阴影宽度的变化。
◇ 从阴影宽度的变化,求出所吸取组件的位置偏移及角度偏移,校正该偏移量后进行贴片。
保护激光装置玻
璃面时的有关注
意事项
激光装置的组件检测部位外罩玻璃面划伤后,在罕见情况下,会造成识别
错误,因此注意以下几点。
1.请不要使用超过最大尺寸的组件。
2.尽管是标准规格尺寸内的组件,但挪动吸取位置就有可能使组件接触玻
璃面,请特别注意。
规格(最大组件尺寸)
LNC60 正方形部品: □33.5mm 对角线长度: 47.0mm
注意
若不按本说明书的步骤进行控制、调整与操作,将有可能导致危险的辐射。
玻璃

第 1 章 设备概要 Rev02
1-19
1-4-6 X,Y,Z,θ轴的说明
本设备进行数值控制的轴有以下 4 个(X、Y、Z、θ)。
(1) X、Y 轴
装置的左右方向为X,前后方向为Y,以0.01mm为单位,显示为X=○○○.○○mm,Y=○○
○.○○mm。坐标系分为生产程序用坐标与示教用坐标。两坐标系将被自动变更,因此无需
刻意分开使用。
(2) Z 轴
显示高度,以0.01mm为单位,表示为Z=○○.○○mm。夹紧基板时基板上表面(不使用夹具)
为0,上升方向为+。
(3) θ轴
显示贴片头的旋转角度,以0.05°为单位,表示为A=○○.○○。
以逆时针旋转为正值。
θ+
Z+
Y+
X+
注意)带“”记号的元件仅可在KE-2080 上进行贴片。
图 1-15
注意
在 X 轴下侧、Y 轴框架上侧中贴了线性磁尺。
请不要把磁铁,或带磁性的(带磁性的驱动器、支撑销等)部件等靠近线
性磁尺上,否则会导致故障。
OCC-L
L1 吸嘴轴
L2 吸嘴轴
L3 吸嘴轴
L4 吸嘴轴
L5 吸嘴轴
L6 吸嘴轴
R1 吸嘴轴
OCC-R
LNC60 贴片头
IC 贴片头
X轴
Y轴