P-0183-001 - 第179页
MODEL TCM-X300S 0306-001 Key No. P AR T No. P AR T NAME Q’ ty REMARKS NOTE 177 KC-2 10 1 630 086 0597 ASSY ,LEVER 2 8 1 4 KC - 0 1 0 - 10 1 10 1 -01 630 085 9225 L EVER 1 10 1 -02 630 001 1425 BEARING,RADIAL 2 6 0 0 0 Z …

MODEL TCM-X300S
0306-001
176
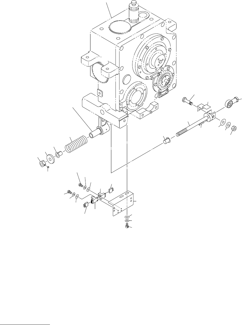
ࠞࡓ㧟ゲㇱ CAM SHAFT 3 AXIS SECTION
Fig. KC-2 ࡁ࠭࡞ಾᦧ߃ㇱ Nozzle Changer
104
105
106
103
102
107
121
120
119
117
109
108
118
122
118
119
122
113
120
121
108
109
117
103
123
107
106
105
104
102
116
115
113
123
116
115
112
111
110
112
111
110
See Fig.KC-4
Key No.301
See Fig.KC-4
Key No.325
See Fig.KC-4
Key No.325
101-02
101-03
101-05
101-01
101-04
101-05
101-02
101
101
101-02
101-03
101-05
101-04
101-01
101-05
101-02

MODEL TCM-X300S
0306-001
Key No. PART No. PART NAME Q’ty REMARKS
NOTE
177
KC-2
101 630 086 0597 ASSY,LEVER 2 814KC-010-101
101 -01 630 085 9225 LEVER 1
101 -02 630 001 1425 BEARING,RADIAL 2 6000ZZNR
101 -03 630 085 9157 COLLAR 1
101 -04 630 085 9584 WASHER 1
101 -05 630 084 8564 BEARING,RADIAL 2 F695ZZ
102 630 085 9232 LEVER 2 814KC-010-102
103 630 032 5201 CAM FOLLOWER 2 CF-5BUU 814KC-010-103
104 411 141 0505 NUT HEX 5 2 814KC-010-104
105 411 141 6705 WASHER SPR 5 2 814KC-010-105
106 411 142 3406 WASHER F 5X10X1 2 814KC-010-106
107 630 097 0968 SPRING,COMP 2 814KC-010-107
108 630 002 4494 SPRING,COMP 2 5632 814KC-010-108
109 630 085 9195 PIN,HINGE 2 814KC-010-109
110 411 141 0901 NUT HEX 8 2 814KC-010-110
111 411 141 3100 WASHER SPR 8 2 814KC-010-111
112 411 141 6101 WASHER F 8X15.5X1.6 2 814KC-010-112
113 630 005 0868 BEARING,PARTS(LOCK NUT) 2 WBK10L-01 814KC-010-113
115 411 141 0703 NUT HEX 6 2 814KC-010-115
116 411 141 3001 WASHER SPR 6 2 814KC-010-116
117 411 141 6002 WASHER F 6X11.5X1.6 2 814KC-010-117
118 630 085 9201 PIN,HINGE 2 814KC-010-118
119 411 141 0307 NUT HEX 4 2 814KC-010-119
120 411 141 2905 WASHER SPR 4 2 814KC-010-120
121 411 141 5906 WASHER F 4X8X0.8 2 814KC-010-121
122 630 000 8920 SET SCREW 2 814KC-010-122
123 630 094 0817 BOLT,HEX 2 814KC-010-123

MODEL TCM-X300S
0306-001
178
ࠞࡓ㧟ゲㇱ CAM SHAFT 3 AXIS SECTION
Fig. KC-3 ࠞ࠶࠲ࡃࡠ࠶࠼ Cutter Lever Rod
220
221
219
216
218
218
217
217
224
224
222
222
223
223
206
See Fig.KC-1
Key No.5
See Fig.KC-1
Key No.1
205
204
202
203
215
209
201
211
212
205
214
213
210