00191912-01 - 第502页
11 Stationserweiterungen / Hardware Betriebsanleitung SIPLACE 80S-20/F4 11.9 Dispens-Flussmittelauftrag (80F4) Softwareversion SR.406.xx Ausgab e 02/2000 DE 500 VORSIC HT Achten Si e beim Her ausschraube n der Zentr ierp…

Betriebsanleitung SIPLACE 80S-20/F4 11 Stationserweiterungen / Hardware
Softwareversion SR.406.xx Ausgabe 02/2000 DE 11.9 Dispens-Flussmittelauftrag (80F4)
499
11.9.6 Wechseln der kompletten Dosiernadel mit Zentrierpipette
Ist die Zentrierpipette defekt, kann diese einzeln gewechselt werden. Die Dosiernadel ist eine
komplette Baugruppe. Das Wechseln der kompletten Dosiernadel kann notwendig sein, falls die
Dosiernadel oder der Schlauchdurch Kristallbildung des Flussmittels verstopft und deshalb aus-
getauscht werden muss. Dabei wird die komplette Baugruppe getauscht.
Abb. 11.9 - 4 Dosierschlauch (Tube blunt 29") wechseln
(1) Dosiernadelspitze (2) Zentrierpipette
(3) Klemmteile (4) Zylinderdeckel
(5) Dosiernadel komplett (6) Ventil
(7) Zylinder

11 Stationserweiterungen / Hardware Betriebsanleitung SIPLACE 80S-20/F4
11.9 Dispens-Flussmittelauftrag (80F4) Softwareversion SR.406.xx Ausgabe 02/2000 DE
500
VORSICHT
Achten Sie beim Herausschrauben der Zentrierpipette darauf, dass die zwei Klemmteile, die die
Dosiernadel im Zylinder klemmen, nicht verloren werden. 11
Å Schrauben Sie die Zentrierpipette locker.
Å Ziehen Sie den Zylinderdeckel vom Zylinder ab und ziehen Sie die komplette Dosiernadel aus
dem Zylinder.
Å Klemmen Sie das Schlauchende der Dosiernadel am Ventil der Dosierpumpe ab.
Å Fädeln Sie die neue Dosiernadel durch den Zylinderdeckel und durch den Zylinder in die Zen-
trierpipetteein. Die Spitze der Dosiernadel muss dabei ca. 3 mm aus der Zentrierpipette her-
ausstehen.
Å Ziehen Sie die Zentrierpipette wieder fest.
Å Drücken Sie den Zylinderdeckel auf den Zylinder.
Å Kontrollieren Sie den Abstand der Dosiernadel zur Leiterplatte. Drücken Sie dabei den Hub-
kolben nach unten. Der Abstand muss dann ca. 1 mm betragen.
Ist dieser Abstand nicht eingehalten, dann müssen Sie den Abstand neu einstellen.

Betriebsanleitung SIPLACE 80S-20/F4 11 Stationserweiterungen / Hardware
Softwareversion SR.406.xx Ausgabe 02/2000 DE 11.9 Dispens-Flussmittelauftrag (80F4)
501
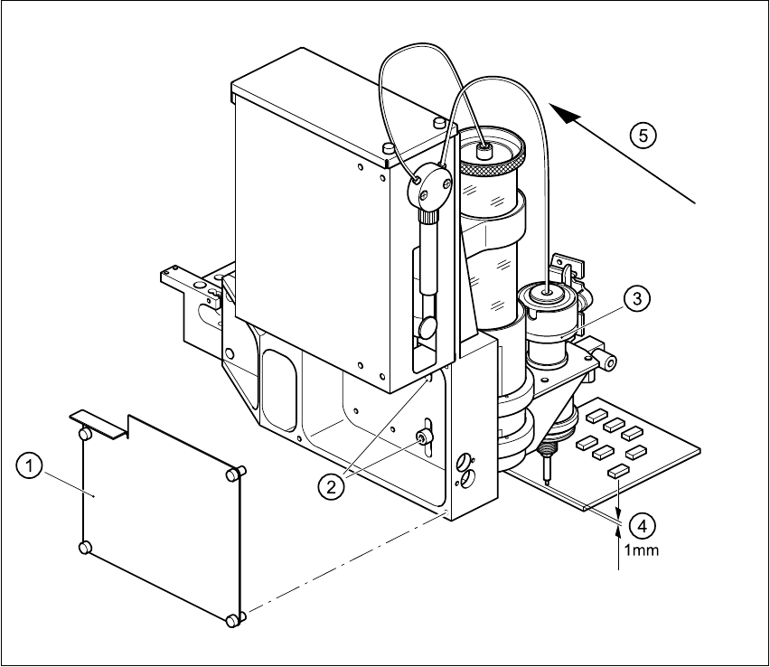
11.9.6.1 Abstand der Dosiernadel zur Leiterplatte einstellen
Abb. 11.9 - 5 Abstand Dosiernadel zur Leiterplatte einstellen
Å Lösen Sie die 4 Befestigungsschrauben für die hintere Abdeckung am Flussmittelauftrag und
entfernen Sie diese Abdeckung.
Å Lockern Sie die beiden Befestigungsschrauben an den Langlöchern.
Å Drücken Sie den Hubkolben nach unten und justieren Sie den Flussmittelauftrag so ein, dass
der Abstand Dosiernadelspitze zur Leiterplatte 1 mm beträgt.
(1) Hintere Abdeckung mit vier Befestigungsschrauben
(2) Zwei Befestigungsschrauben des Flussmittelauftrags
(3) Hubkolben
(4) Abstand von 1 mm zur Leiterplatte einstellen
(5) Flussmittelauftrag auf Anschlag drücken komplett