DEUKYX-193-5100_G5S2_VOL5 - 第109页
DEUKYX 3-7 193-5100 1.3 V on V orderseite 1.3.4 XY -Motorverstärkereinheit Front A21F A22F A23F 10 X-Achse Y2-Achse Y1-Achse 3-7A Symbol Name Hinwe ise A 21F X 1(H 1 ) Ac hse S er vo Motorverstärker A 22F Y 1 (H1 ) Ac hs…

DEUKYX
3-6193-5100
1.3 Von Vorderseite
1.3.3 LED Lichtsteuerung LP
CON1
CON2
CON3
CON4
CON5
CON6
CON7
CON8
CN5
CN1
CN8
CN7
CN3
CN2
CN6
CON10
A21F
X(B2)
ADD:3
A22F
Y1(B2)
ADD:4
A23F
Y2(B2)
ADD:5
U95
Lighting Ctrl
PCB
U95
7
3-6A
Symbol Name Hinweise
U95 LED Lichtsteuerung LP Modell UC19

DEUKYX
3-7193-5100
1.3 Von Vorderseite
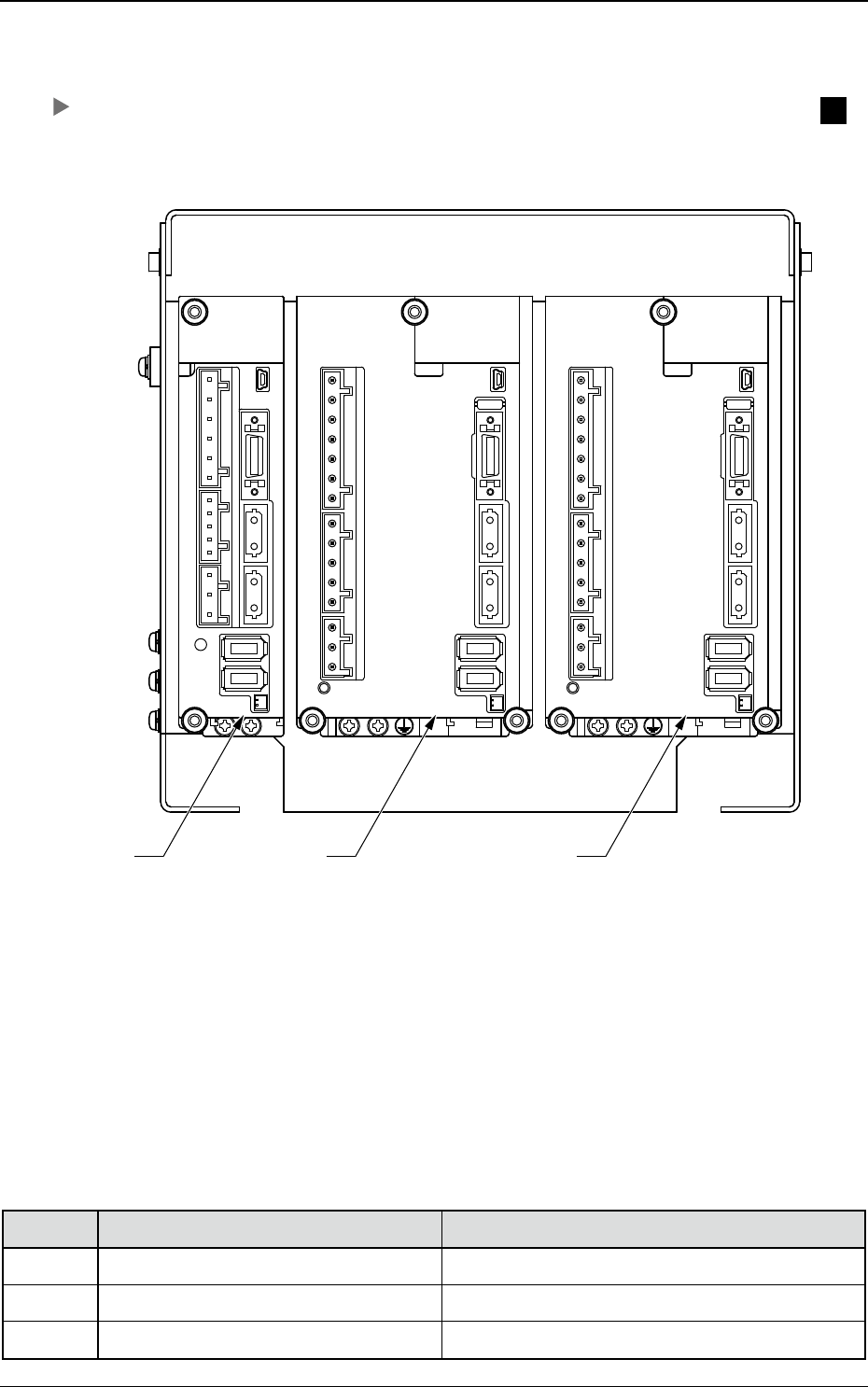
1.3.4 XY-Motorverstärkereinheit Front
A21F A22F A23F
10
X-Achse Y2-AchseY1-Achse
3-7A
Symbol Name Hinweise
A21F X1(H1) Achse Servo Motorverstärker
A22F Y1 (H1) Achse Servo Motorverstärker
A23F Y2 (H1) Achse Servo Motorverstärker

DEUKYX
3-8193-5100
1.3 Von Vorderseite
1.3.5 CPU1
COM1
COM2
LAN1
LAN2
USB2 USB10
VGA
CAM
I/O
COGNEX
DVI
USB3 USB11
X9201
X9202
X9108
X9107
X9106
X9105
X9109
X9104
X9103
X9102
U92
U91
11
3-8A
Symbol Name Hinweise
U91 Betriebs- und Erkennungs-CPU
U92 Framegrabber 1