DEUKYX-193-5100_G5S2_VOL5 - 第164页
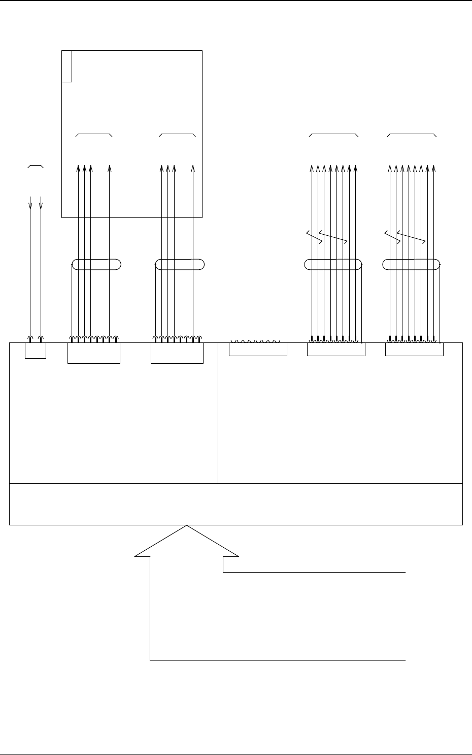
DEUKYX 4-38 193-5100 2.23 CPU2 U82 Schaltverbindung 2.23 CPU2 U82 Schaltverbindung X8201 SSCNET3 Motion Contorl U82 1CH X8203 1CH FG 1 2 X8202 SSCNET3 2CH 1 2 J1 XY STP B1 XY STP F1 HEAD STP B1 HEAD STP F1 446 [D-/08/2B]…

DEUKYX
4-37193-5100
2.22 CPU2 U81 Schaltverbindung
2.22 CPU2 U81 Schaltverbindung
8
7
4
6
5
2
3
1
N.C.
N.C.
TD+
RD+
TD-
N.C.
RD-
N.C.
CN8
X8102
LAN
8
9
7
4
6
5
2
3
1
Case
CN1-1
CTS
RI
RTS
DCD
TxD
RxD
GND
DSR
DTR
SERIAL1
X8104
8
9
7
4
6
5
2
3
1
Case
CN1-2
X8109
1
3
2
5
6
4
7
10
11
12
13
14
15
9
8
CN3
N.C.
GND
GND
GREEN
BLUE
RED
GND
DDC VCC
GND
N.C.
DDC DAT
H-SYNC
V-SYNC
DDC CLK
GND
VGA
KEY(PS/2)
XG22P1
J1
J2
1
2
3
4
5
6
7
8
9
10
11
12
13
14
15
16
17
18
19
20
U180
MOUSE(PS/2)
USB1
USB2
USB3
USB4
CN7
CTS
RI
RTS
DCD
TxD
RxD
GND
DSR
DTR
SERIAL2
CF
D81
CN6
CN5
CN4
CN2-2
CN2-1
U81
CPU
(512MB)
J6
J8(Upper)
DIMM Memory
J7(Lower)
DIMM Memory
(512MB)
Unimplemented
+3.3VDC
+3.3VDC
GND
+5VDC
GND
+5V SB
+12VDC
+3.3VDC
+3.3VDC
+3.3VDC
-12VDC
GND
GND
GND
+5VDC
+5VDC
+5VDC
GND
[R-/01/4F]
from G21-MAIN
[B-/06/1D]
to X30B-X30C2
[R-/01/7B]
from U91-LAN2
:3
:2
:4
:5
:6
:7
:8
FG
[B-/07/1D]
to X30F-X30C2
:3
:2
:4
:5
:6
:7
:8
FG
:1
:6
:7
:2
:8
:4
:FG
:5
:3
CPCI-bus
PSU_POWER OK
KYX-000-CC-020

DEUKYX
4-38193-5100
2.23 CPU2 U82 Schaltverbindung
2.23 CPU2 U82 Schaltverbindung
X8201
SSCNET3
Motion Contorl
U82
1CH
X8203
1CH
FG
1
2
X8202
SSCNET3
2CH
1
2
J1 XY STP B1
XY STP F1
HEAD STP B1
HEAD STP F1
446
[D-/08/2B]
from U01-CN8
[D-/08/2C]
from U01-CN8
1EXSTP1
2EXSTP2
3EXSTP3
4EXSTP4
5EXSTP5
6EXSTP6
7EXSTP7
8EXSTP8
9-18---
26-43---
19-21NC
44-46NC
23COM1
24
25
48
49
50
EMI
22
EMICOM 47
COM1
COM1
COM2
COM2
COM2
FG
1EXSTP1
2EXSTP2
3EXSTP3
4EXSTP4
5EXSTP5
6EXSTP6
7EXSTP7
8EXSTP8
9-18---
26-43---
19-21NC
44-46NC
23COM1
24
25
48
49
50
EMI
22
EMICOM 47
COM1
COM1
COM2
COM2
COM2
24A3
24A3
10
24A3
24A3
2CH
to A21B-CN1A
to A31B-CNP1
U180
CPCI-bus
CONNECTOR DI
CONNECTOR DI
X8204
HEAD STP B1
HEAD STP F1
24A3
24A3
Reserve
(from X18303)
KYX-000-CC-021

DEUKYX
4-39193-5100
2.24 CPU2 U85 Schaltverbindung
2.24 CPU2 U85 Schaltverbindung
24V IN
24A
10
X8500
U85
HSIO
AE-LINK(RS485)
A1
A2
A3
A4
B1
B2
B3
B4
CH2
10
COM A
24B1
COM B
A1
A2
A3
A4
B1
B2
B3
B4
CH1
X8501
X8502
SL-SRS
1
2
24V
GND
1
2
3
4
5
6
7
8
UP
RX+
RX-
TX+
SG
SG
TX-
SG
SG
FG
1
2
3
4
5
6
7
8
DN
X85DN
RX+
RX-
TX+
SG
SG
TX-
SG
SG
FG
1
2
3
4
5
6
7
8
T
X85T
RX+
RX-
TX+
SG
SG
TX-
SG
SG
FG
to U01-CN1
to U08-CN1
[D-/09/7B]
[N-/08/2A]
RX+
RX-
TX+
SG
SG
TX-
SG
SG
RX+
RX-
TX+
SG
SG
TX-
SG
SG
to A10-N2
[N-/04/7A]
10
COM A
24B1
COM B
[N-/01/6A]
[B-/02/7C]
U180
CPCI-bus
P1
to Conveyor Unit
KYX-000-CC-022