N7202A029B - 第159页
Ref No. Remark s R 1 Q'ty 25-D マスククリーニング :SPG Mask C leaning:SPG イラスト No. Part No. 品 名 品 番 数量 R 2 パーツリスト Kit No. キット品番 Kit Name キット名称 N610140081AA Part Nam e 備 考 セク ショ ンNo . PARTS LIST Section No. R 3 PLATE 1 1 N210…

25-D
マスククリーニング:SPG
Mask Cleaning:SPG
パーツレイアウト
Kit No.
キット品番
Kit Name
キット名称
N610140081AA
セクションNo.
PARTS LAYOUT
Section No.
--
S129
( KN610140081AA-07-4 )

Ref
No.
Remarks R
1
Q'ty
25-D
マスククリーニング:SPG
Mask Cleaning:SPG
イラスト
No.
Part No.
品 名品 番 数量
R
2
パーツリスト
Kit No.
キット品番
Kit Name
キット名称
N610140081AA
Part Name
備 考
セクションNo.
PARTS LIST
Section No.
R
3
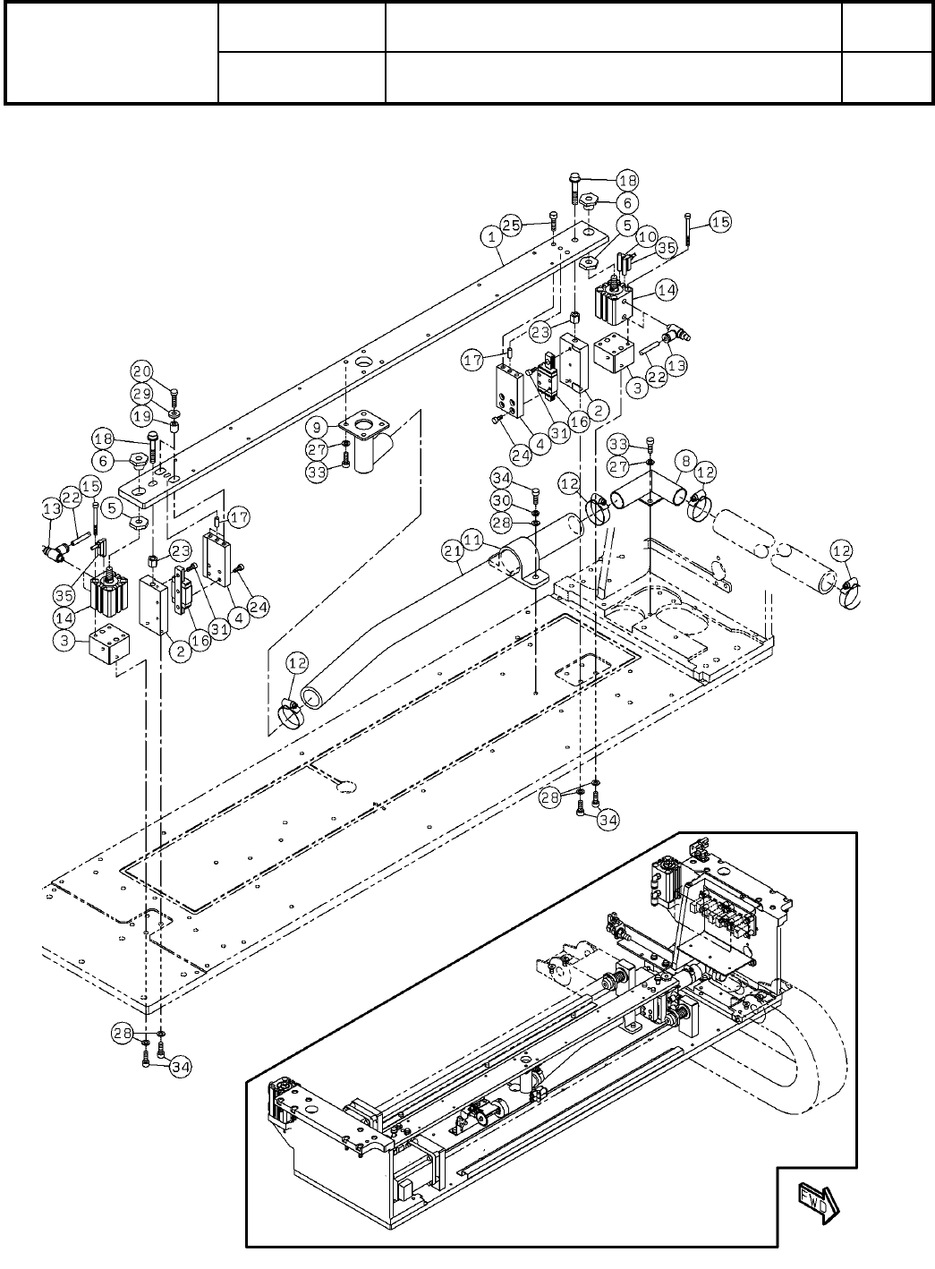
PLATE
1
1 N210172396AC
PLATE
2
2 N210172397AB
BLOCK
2
3 N210174073AA
PLATE
2
4 N210172398AA
NUT
2
5 N210163552AA
JOINT
2
6 N210163551AA
JOINT
1
8 N210172408AB
JOINT
1
9 N210172409AA
SWITCH
1
10 N610148181AB
BAND
1
11 N510061709AA G-6
BAND
4
12 N462FS25 FS-25
SPEED-CONTROLLER
4
13 KXF00YMAA00 AS1201F-M5-04
CYLINDER
2
14 N510064301AA CDQSB16-10DM
BOLT
8
15 N510017327AA
Hexagon socket head cap screw M3X35-10.9 A2J (Trivalent)
LINEAR-WAY
2
16 N510016065AA SRS9MUU+55LM(01871092K000)
PIN
2
17 N986MMS410 MMS4-10
BOLT
2
18 N510064085AA
Hexagon socket head cap with flange screw M5X30-10.9 A2J (Trivalent)
SPACER
2
19 KXF078UAA00 CU-408
BOLT
2
20 N510036446AA LH0416 Trivalent chromate
HOSE
1
21 N510065684AA EC-19
TUBE
1
22 KXF03PPAA00 TFU0425B-2
SPACER
2
23 N510019896AA ASF-508E
BOLT
8
24 N510017341AA
Hexagon socket head cap screw M3X8-10.9 A2J (Trivalent)
BOLT
2
25 N510017351AA
Hexagon socket head cap screw M4X16-10.9 A2J (Trivalent)
WASHER
7
27 N510018479AA
Small round-plain washer 4 10H A2J (Trivalent)
WASHER
10
28 N510018497AA
Round finish plain washer 4 10H A2J (Trivalent)
WASHER
2
29 N510020099AA Thick washer M4
WASHER
2
30 N510018330AA Spring lock washer No.2 4 S A2J (Trivalent)
BOLT
6
31 N510017337AA
Hexagon socket head cap screw M3X6-10.9 A2J (Trivalent)
BOLT
7
33 N510017381AA
Hexagon socket head cap screw M4X8-10.9 A2J (Trivalent)
BOLT
10
34 N510017346AA
Hexagon socket head cap screw M4X12-10.9 A2J (Trivalent)
SENSOR
1
35 N610159469AA
S130
--
( KN610140081AA-07-4 )

26-A
溶剤供給ユニット:SPG
Solvent Supply Unit:SPG
パーツレイアウト
Kit No.
キット品番
Kit Name
キット名称
N610140083AA
セクションNo.
PARTS LAYOUT
Section No.
--
S131
( KN610140083AA-05-1 )