N7202A029B - 第254页
5 爪付きマスク吸着Mサイズ 枠対応分割クランパ:SPG Mask Vacuum M -size Capable Separate C lamper W ith Foil:S パーツレイアウト Kit No. キット 品番 Kit Name キット名称 N610140119AA セクションNo. PARTS LAYOUT Section No. - - O15 ( KN610140119AA-01 )

Ref
No.
Remarks R
1
Q'ty
4
ブロアユニット制御:SPG
Blower Unit (H):SPG
イラスト
No.
Part No.
品 名品 番 数量
R
2
パーツリスト
Kit No.
キット品番
Kit Name
キット名称
N610146323AA
Part Name
備 考
セクションNo.
PARTS LIST
Section No.
R
3
MOTOR-CONTROLLER
1
1 N510060530AA
S
3G3MX2-AB007
SCREW
1
2XYN4+J8FN
Cross recessed Pan head machine screw with SW & Small round-plain was
O14
--
( KN610146323AA-03 )

5
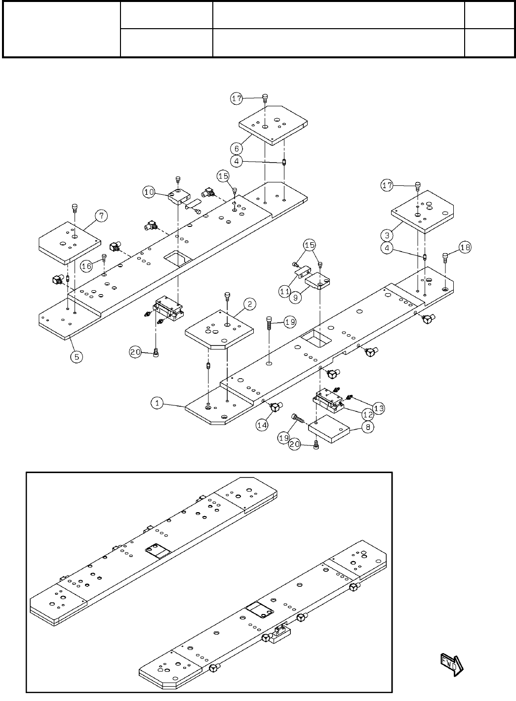
爪付きマスク吸着Mサイズ枠対応分割クランパ:SPG
Mask Vacuum M-size Capable Separate Clamper With Foil:S
パーツレイアウト
Kit No.
キット品番
Kit Name
キット名称
N610140119AA
セクションNo.
PARTS LAYOUT
Section No.
--
O15
( KN610140119AA-01 )

Ref
No.
Remarks R
1
Q'ty
5
爪付きマスク吸着Mサイズ枠対応分割クランパ:SPG
Mask Vacuum M-size Capable Separate Clamper With Foil:S
イラスト
No.
Part No.
品 名品 番 数量
R
2
パーツリスト
Kit No.
キット品番
Kit Name
キット名称
N610140119AA
Part Name
備 考
セクションNo.
PARTS LIST
Section No.
R
3
CLAMPER
1
1 N210173899AB
PLATE
1
2 N210173900AB
PLATE
1
3 N210173901AB
PIN
8
4 N210162965AA
CLAMPER
1
5 N210173902AB
PLATE
1
6 N210173903AB
PLATE
1
7 N210173904AB
PLATE
1
8 N210143297AA
PLATE
1
9 N210114704AA
PLATE
1
10 N210173905AA
PLATE
2
11 N210114705AB
AIR-SLIDE
2
12 N510019323AA MXPJ6-5-X23A
JOINT
4
13 N510064400AA M-3AU-4-X83
JOINT
8
14 KXF02T9AA00 M-5HL-4
BOLT
16
15 N510017333AA
Hexagon socket head cap screw M3X5-10.9 A2J (Trivalent)
BOLT
4
16 N510017341AA
Hexagon socket head cap screw M3X8-10.9 A2J (Trivalent)
BOLT
8
17 N510017376AA
Hexagon socket head cap screw M4X6-10.9 A2J (Trivalent)
BOLT
4
18 N510017344AA
Hexagon socket head cap screw M4X10-10.9 A2J (Trivalent)
BOLT
8
19 N510017351AA
Hexagon socket head cap screw M4X16-10.9 A2J (Trivalent)
BOLT
4
20 N510017381AA
Hexagon socket head cap screw M4X8-10.9 A2J (Trivalent)
O16
--
( KN610140119AA-01 )