N7202A029B - 第361页
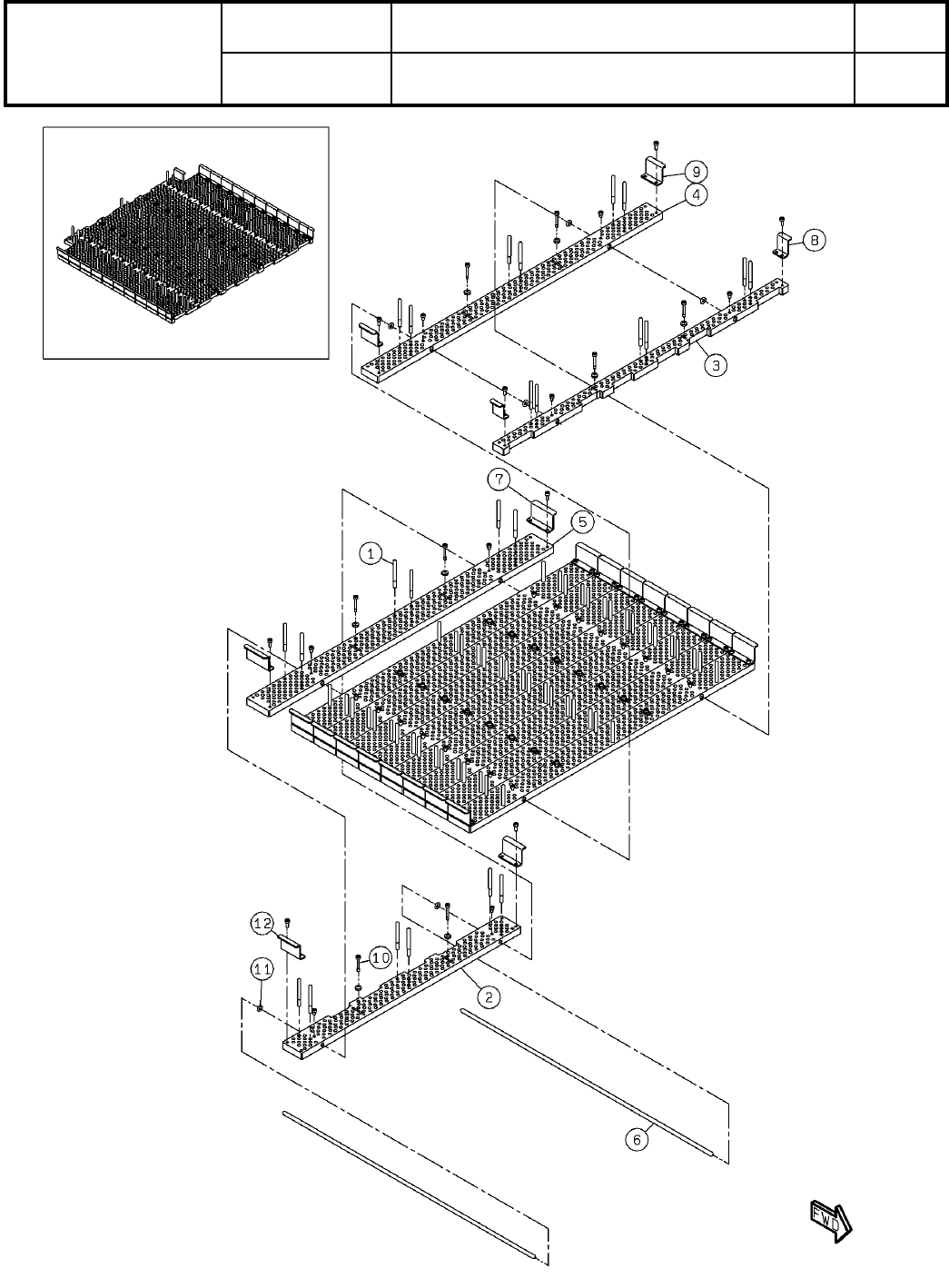
Ref No. Remarks R 1 Q'ty 55 基板下受けピンセット(350×300):SPD Board-Support Pins Set(350x300):SPD イラスト No. Part No. 品 名 品 番 数量 R 2 パーツリスト Kit No. キット品番 Kit Name キット名称 N610118475AA Part Nam e 備 考 セク ショ ンNo . PARTS LIST Section…

55
基板下受けピンセット(350×300):SPD
Board-Support Pins Set(350x300):SPD
パーツレイアウト
Kit No.
キット品番
Kit Name
キット名称
N610118475AA
セクションNo.
PARTS LAYOUT
Section No.
--
O121
( KN610118475AA-02 )

Ref
No.
Remarks R
1
Q'ty
55
基板下受けピンセット(350×300):SPD
Board-Support Pins Set(350x300):SPD
イラスト
No.
Part No.
品 名品 番 数量
R
2
パーツリスト
Kit No.
キット品番
Kit Name
キット名称
N610118475AA
Part Name
備 考
セクションNo.
PARTS LIST
Section No.
R
3
PIN
50
1 KXFB00FFA00
PLATE
1
2 N210146688AB
PLATE
6
3 N210146689AA
DOG
2
4 N210132576AA
DOG
12
5 N210132577AA
BOLT
14
6 N510049401AA SSC-M3X16
O122
--
( KN610118475AA-02 )

56
基板下受けピンL(一括交換)
Board-Support Pins L (Collectively Changing)
パーツレイアウト
Kit No.
キット品番
Kit Name
キット名称
KXFX04CDA00
セクションNo.
PARTS LAYOUT
Section No.
--
O123
( KKXFX04CDA00-03 )