Empty tape guide channel_20211124_024541 - 第3页
Empty tape guide channel Page 3 / 3 24.11.2021 Pos. Item no. Description Part marking 1 00334290S03 EMPTY TAPE DUCT S 50 SPARE PART 2 00337245-03 SIDE PANEL LEFT 3 00334295-02 BAFFLE INSIDE 4 00334296-01 GUIDE METAL OUTS…

Empty tape guide channel
Page 1 / 3 24.11.2021

Empty tape guide channel
Page 2 / 3 24.11.2021

Empty tape guide channel
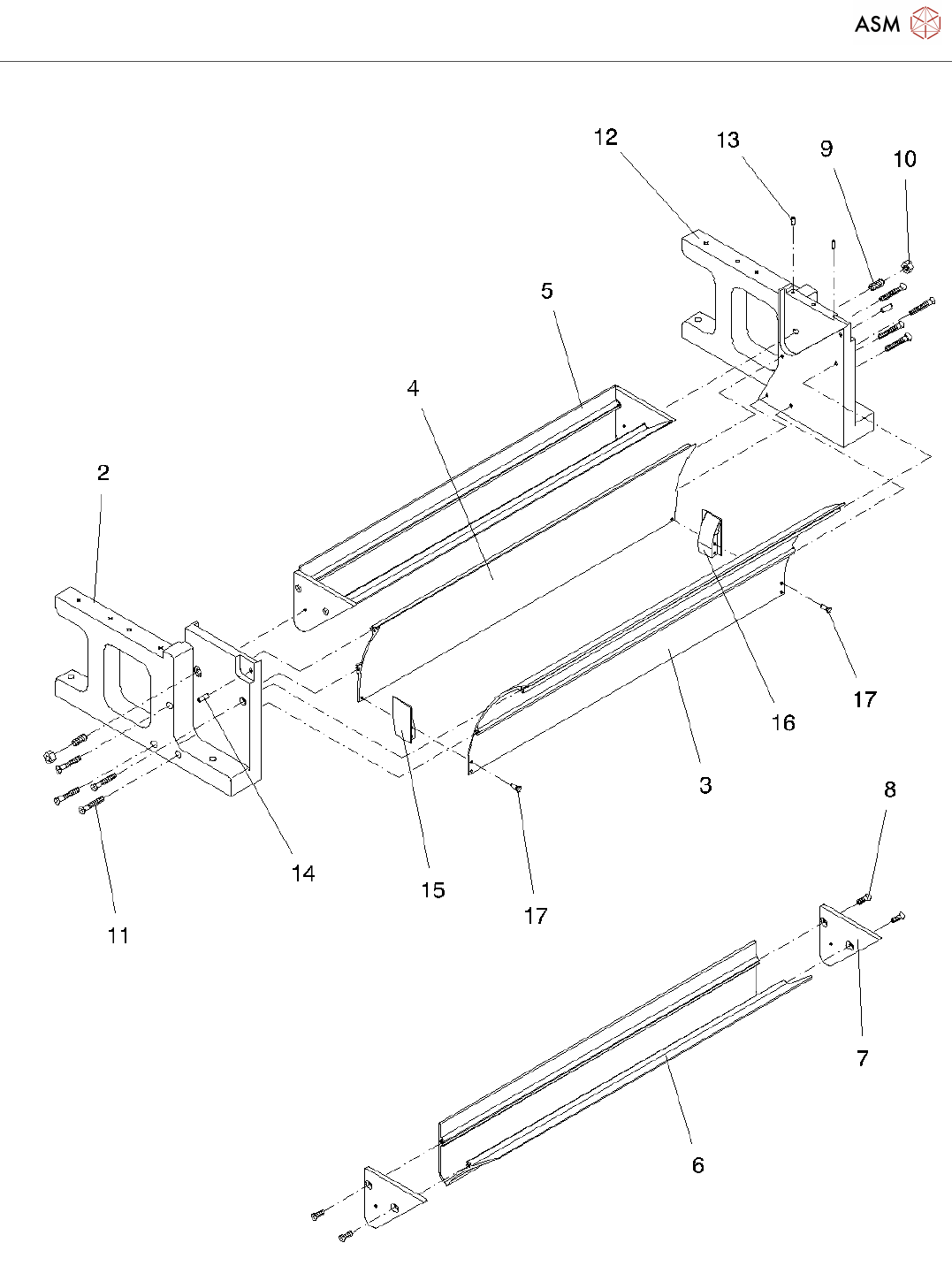
Page 3 / 3 24.11.2021
Pos. Item no. Description Part marking
1 00334290S03 EMPTY TAPE DUCT S 50 SPARE PART
2 00337245-03 SIDE PANEL LEFT
3 00334295-02 BAFFLE INSIDE
4 00334296-01 GUIDE METAL OUTSIDE
5 00334297-02 REJECT BOX
6 00334278-01 REJECT BOX (PROFILE)
7 00334280-02 COVER
8 00344925-01 THREAD-CUTTING SCREW M4*16
9 00310615-01 SPRING-LOADED PRESSURE PLATE
M6*14
10 00095553-01 HEXAGON NUT
11 00345124-01 THREAD-CUTTING SCREW M4*20
12 00337246-03 SIDE PANEL RIGHT
13 00619842-01 PARALLEL PIN 3M5*10
14 00095619-01 DIN 6325 - 4M5 X 14-ST
15 00344852-03 DEFLECTOR LEFT
16 00344853-03 DEFLECTOR RIGHT
17 00095305-01 COUNTER-SUNK HEAD SCREW M3 X
8-4.8
18 00344764-02 NOZZLE REJECT BOX SPARE PART
Powered by TCPDF (www.tcpdf.org)