Chassis_20211124_094519 - 第9页
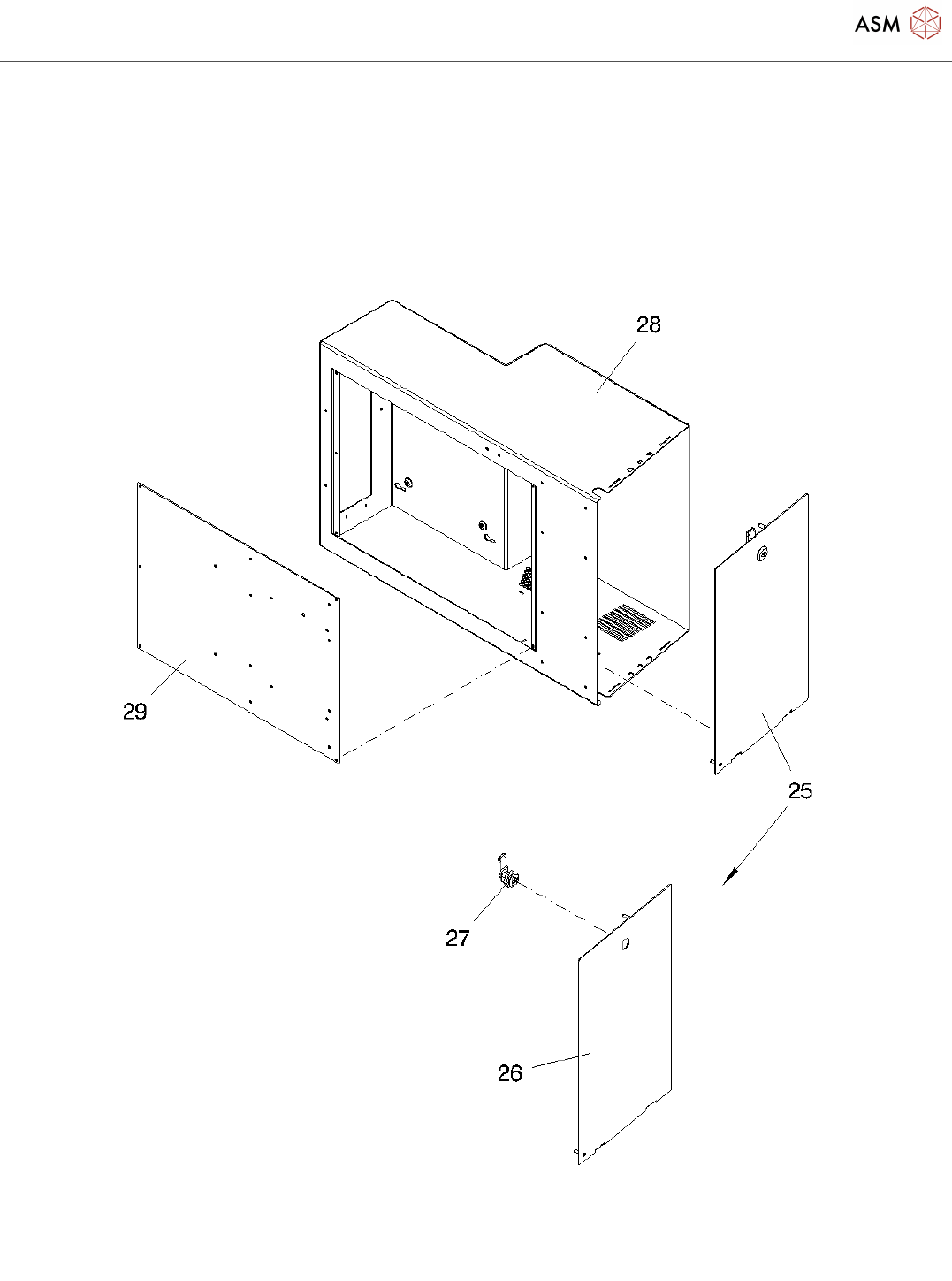
Chassis Page 9 / 9 24.11.2021 Pos. Item no. Description Part marking 27 03003524-01 LOCK WITH DOUBLE BIT / BAR T=22 28 03059377-02 INFRASTUCTURE BOX WELD ASSEMBLY 29 03068301-01 SIDE PART CASTES CPL. 30 03068979-01 HOLDE…

Chassis
Page 7 / 9 24.11.2021

Chassis
Page 8 / 9 24.11.2021
Pos. Item no. Description Part marking
2 03054798-05 GR BASE FRAME / P001
3 03054241-03 GR INFRASTRUCTURE BOX /P001
4 03063886-01 DOOR COMPLETE
5 03003524-01 LOCK WITH DOUBLE BIT / BAR T=22
6 03068188-01 DOOR POWER SUPPLY EARTH BOLT
46 03082958-01 PROTECTION BRACKET CPL. SPARE PART
7 03079356-01 COVER INFRASTUCTURE BOX
CURRENT COMPLETE
8 03069056-01 INFRA. BOX WELD ASMB.
CURRENT/PNEUMATIC
9 03063368-01 GR INFRASTRUCTURE BOX BOX-PC
/P001
10 03058644-02 DOOR COMPLETE
11 03062978-01 DOOR + INDEX BOLT
12 03003524-01 LOCK WITH DOUBLE BIT / BAR T=22
13 03059377-02 INFRASTUCTURE BOX WELD
ASSEMBLY
03063516-01 KLETTOSTAR-LOOP 20X80
(00348189-01)
Spare Part
14 00348189-01 KLETTOSTAR-SOFT 20 MM WHITE
SK GLUE 22
03063517-01 KLETTOSTAR-HOOK 20X150
(00348188-01)
Spare Part
15 00348188-01 KLETTOSTAR-VELCRO 20MM WHITE
SK GLUE 22
16 03068301-01 SIDE PART CASTES CPL.
17 03063382-01 GR INFRASTRUCTURE BOX
PNEUMATIC /P001
18 03058644-02 DOOR COMPLETE
19 03062978-01 DOOR + INDEX BOLT
20 03003524-01 LOCK WITH DOUBLE BIT / BAR T=22
21 03075515-02 INFRA. BOX WELD ASSY PNEUMATIC
22 03075520-01 SIDE PART CASTES CPL.
23 00346434S01 EDGE PROTECTION TYPE 4610026
(HAPPICH)
CONSUMABLE
24 03063487-01 GR INFRASTRUCTURE BOX
DISTRIBUTOR /P001
SPARE PART
25 03058644-02 DOOR COMPLETE
26 03062978-01 DOOR + INDEX BOLT

Chassis
Page 9 / 9 24.11.2021
Pos. Item no. Description Part marking
27 03003524-01 LOCK WITH DOUBLE BIT / BAR T=22
28 03059377-02 INFRASTUCTURE BOX WELD
ASSEMBLY
29 03068301-01 SIDE PART CASTES CPL.
30 03068979-01 HOLDER LEFT CPL. SPARE PART
31 03067744-01 HOLDER RIGHT COMPLETE
32 03073034-01 HOLDER TAPE CUTTER LEFT CPL.
33 03072672-01 HOLDER TAPE CUTTER CPL. RIGHT
34 03067046-03 HEIGHT ADAPTER/P001 930MM SPARE PART
44 03067048-03 HEIGHT ADAPTER/P001 900MM SPARE PART
45 03065876-04 HEIGHT ADAPTER/P001 950MM
35 03062465-01 COVER PLATE CPL./ P001
36 03069023-01 COVER PLATE TOP CPL. / P001
37 03068662-01 GUIDE PROFILE STE
38 03068149-03 GUIDE PROFILE
39 03069297-01 SPACER 20 THICK
40 03072642-01 EARTHING STRAP 10 QMM L.300
41 03072718-01 COVER SHEET COMPLETE
42 03006518-02 VENTILATOR PLATE DR.130
43 03007366-01 COVER FOR WIRING DIAGRAM SPARE PART
Powered by TCPDF (www.tcpdf.org)