00198169-02_TX技术培训(中文) - 第234页
9 控制和通信 9.10 GigE视像系统 234 技术培训 SIPLACE TX系列 01/2018 9.10 GigE视像系统 GigE是用于影像系统硬件的一个术语,在TX贴片机上包括相机类型和总线结构。 1. 以太网接头 2. 以太网线缆通信(黑色或绿色) ● GigE是一种关于高性能工业相机的接口标准。它为通过以太网网络传输高速视频和相关控制数 据提供了一个框架。 ● 它与现有的 SIPLACE 影像系统硬件不兼容。 ● Gig…

9 控制和通信
9.9 供料器通信
技术培训 SIPLACE TX系列 01/2018 233
控制和通信 – FCU概览
9.9 供料器通信
供料器控制单元(FCU)和X供料器之间的通信通过供料器CAN总线进行。
该CAN总线仅负责FCU和供料器之间的通信。
FCU至每个供料器的数据和电源非接触式传输。

9 控制和通信
9.10 GigE视像系统
234 技术培训 SIPLACE TX系列 01/2018
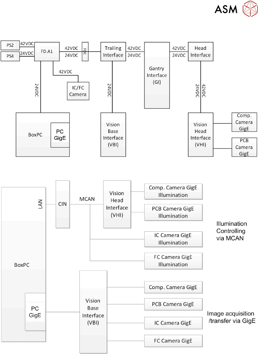
9.10 GigE视像系统
GigE是用于影像系统硬件的一个术语,在TX贴片机上包括相机类型和总线结构。
1. 以太网接头
2. 以太网线缆通信(黑色或绿色)
●
GigE是一种关于高性能工业相机的接口标准。它为通过以太网网络传输高速视频和相关控制数
据提供了一个框架。
●
它与现有的 SIPLACE 影像系统硬件不兼容。
●
GigE 网络接口卡(以太网适配器)在 BoxPC 内。
●
所有GigE相机使用相同的传感器型号表示SIPLACE影像,除了在型号后面加一个G,例如
SST23G。
TX上通过 GigE和CAN总线进行影像通信
●
来自元件和PCB相机的图像以数字的形式发送到影像基础接口板(VBI)。
●
通过拖曳电缆“扩频”(非同轴电缆)进行传输。
●
来自 IC和FC 相机的图像直接通过影像基础接口板(VBI)发送到 PC的GigE 适配板。
●
贴片机CAN总线执行照明控制。
●
储存在元件形状中的各照明值通过 CAN总线传输到相机中。

9 控制和通信
9.10 GigE视像系统
技术培训 SIPLACE TX系列 01/2018 235
GigE视像系统 电源概览
GigE视像系统 相机通信概览