N7202A066B - 第291页

Ref No. Remark s R 1 Q'ty 8-A 延長コンベ ア(デュアル):NPM -WX Extension Conv eyor:NPM -W X イラスト No. Part No. 品 名 品 番 数量 R 2 パーツリスト Kit No. キット品番 Kit Name キット名称 MTKA009280AA Part Nam e 備 考 セク ショ ンNo . PARTS LIST Section No. R …

100%1 / 694
8-A
延長コンベア(デュアル):NPM-WX
Extension Conveyor:NPM-WX
パーツレイアウト
Kit No.
キット品番
Kit Name
キット名称
MTKA009280AA
セクションNo.
PARTS LAYOUT
Section No.
--
O53
( KMTKA009280AA-05-1 )
Ref
No.
Remarks R
1
Q'ty
8-A
延長コンベア(デュアル):NPM-WX
Extension Conveyor:NPM-WX
イラスト
No.
Part No.
品  名品  番 数量
R
2
パーツリスト
Kit No.
キット品番
Kit Name
キット名称
MTKA009280AA
Part Name
備   考
セクションNo.
PARTS LIST
Section No.
R
3
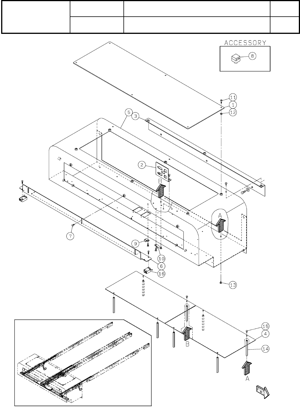
FRAME
2
1 MTPA019535AB
FRAME
2
2 MTPA019536AB
GUIDE
4
3 MTPA016097AA
PLATE
2
4 MTPA020629AA
PLATE
2
5 MTPA020630AA
PLATE
4
6 MTPA020631AB
SHEET
2
8 MTPA015878AA
BRACKET
2
9 MTPB007448AA
BRACKET
2
10 MTPB007449AB
PULLEY
16
11 N610127907AA
BELT
4
12 MTNK002591AA TA-4UEB M/D2 4.5WX0.65TX1638L
NUT
4
13 N510048038AA NSMT-04-4
SCREW
5
14 N510018279AA
Cross recessed Truss head machine screw M4X6-4.8 A2J (Trivalent)
SLIDE-PACK
1
15 MTNB000696AA 2FBW3590XRUU+900L(A)(23576261K000)
SPACER
8
16 MTNK002705AA CF-401.5E
BOLT
8
17 N510017552AA
SSS 003 Hexagon socket button head screw M5X6-10.9 A2J (Trivalent)
O54
--
( KMTKA009280AA-05-1 )
8-B
延長コンベア(デュアル):NPM-WX
Extension Conveyor:NPM-WX
パーツレイアウト
Kit No.
キット品番
Kit Name
キット名称
MTKA009280AA
セクションNo.
PARTS LAYOUT
Section No.
--
O55
( KMTKA009280AA-05-2 )