N7202A066B - 第137页
Ref No. Remarks R 1 Q'ty 7 XY軸R側配線:NPM-WX 専用部 XY -Axis Rear Side W iring:NPM -W X Exclusiv e イラスト No. Part No. 品 名 品 番 数量 R 2 パーツリスト Kit No. キット品番 Kit Name キット名称 MTKA008064AA Part Nam e 備 考 セク ショ ンNo . PARTS LIST Se…

7
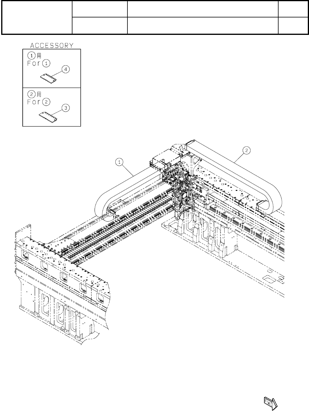
XY軸R側配線:NPM-WX 専用部
XY-Axis Rear Side Wiring:NPM-WX Exclusive
パーツレイアウト
Kit No.
キット品番
Kit Name
キット名称
MTKA008064AA
セクションNo.
PARTS LAYOUT
Section No.
--
S15
( KMTKA008064AA-09 )

Ref
No.
Remarks R
1
Q'ty
7
XY軸R側配線:NPM-WX 専用部
XY-Axis Rear Side Wiring:NPM-WX Exclusive
イラスト
No.
Part No.
品 名品 番 数量
R
2
パーツリスト
Kit No.
キット品番
Kit Name
キット名称
MTKA008064AA
Part Name
備 考
セクションNo.
PARTS LIST
Section No.
R
3
CABLE-BEAR
1
1 MTNW001071AA TKR0200W50R55-TK(ZC020.5119)
CABLE-VEYOR
1
2 MTNW000502AA TKR0200W60R55-TK(ZC020.2139)
CABLE-SUPPORT
4
3 MTPA012389AA
CABLE-SUPPORT
4
4 N210142601AA
S16
--
( KMTKA008064AA-09 )

8
銘板・警告ラベル(X軸(後側)):NPM-WX 専用部
LABEL(X-AXIS(REAR)):NPM-WX Exclusive
パーツレイアウト
Kit No.
キット品番
Kit Name
キット名称
MTKA014022AA
セクションNo.
PARTS LAYOUT
Section No.
--
S17
( KMTKA014022AA-01 )