N7202A066B - 第320页
14-A 30連交換台車駆動部(左側):NPM-WX 30 Slot Feeder Cart Drive Unit(Left Side):N PM-W X パーツレイアウト Kit No. キット 品番 Kit Name キット名称 MTKA012469AA セクションNo. PARTS LAYOUT Section No. - - O83 ( KMTKA012469AA-04-1 )

Ref
No.
Remarks R
1
Q'ty
13-H
下受けピン自動交換ユニット:NPM-WX
Support Pin Automatic Change Unit:NPM-WX
イラスト
No.
Part No.
品 名品 番 数量
R
2
パーツリスト
Kit No.
キット品番
Kit Name
キット名称
MTKA014298AA
Part Name
備 考
セクションNo.
PARTS LIST
Section No.
R
3
Stopper Unit
1
1 MTKA014251AA
PLATE
8
2 N210170479AB
STOPPER
8
3 N210170480AB
SPACER
16
4 N510050257AA CF-405ZE
O82
--
( KMTKA014298AA-00-8 )

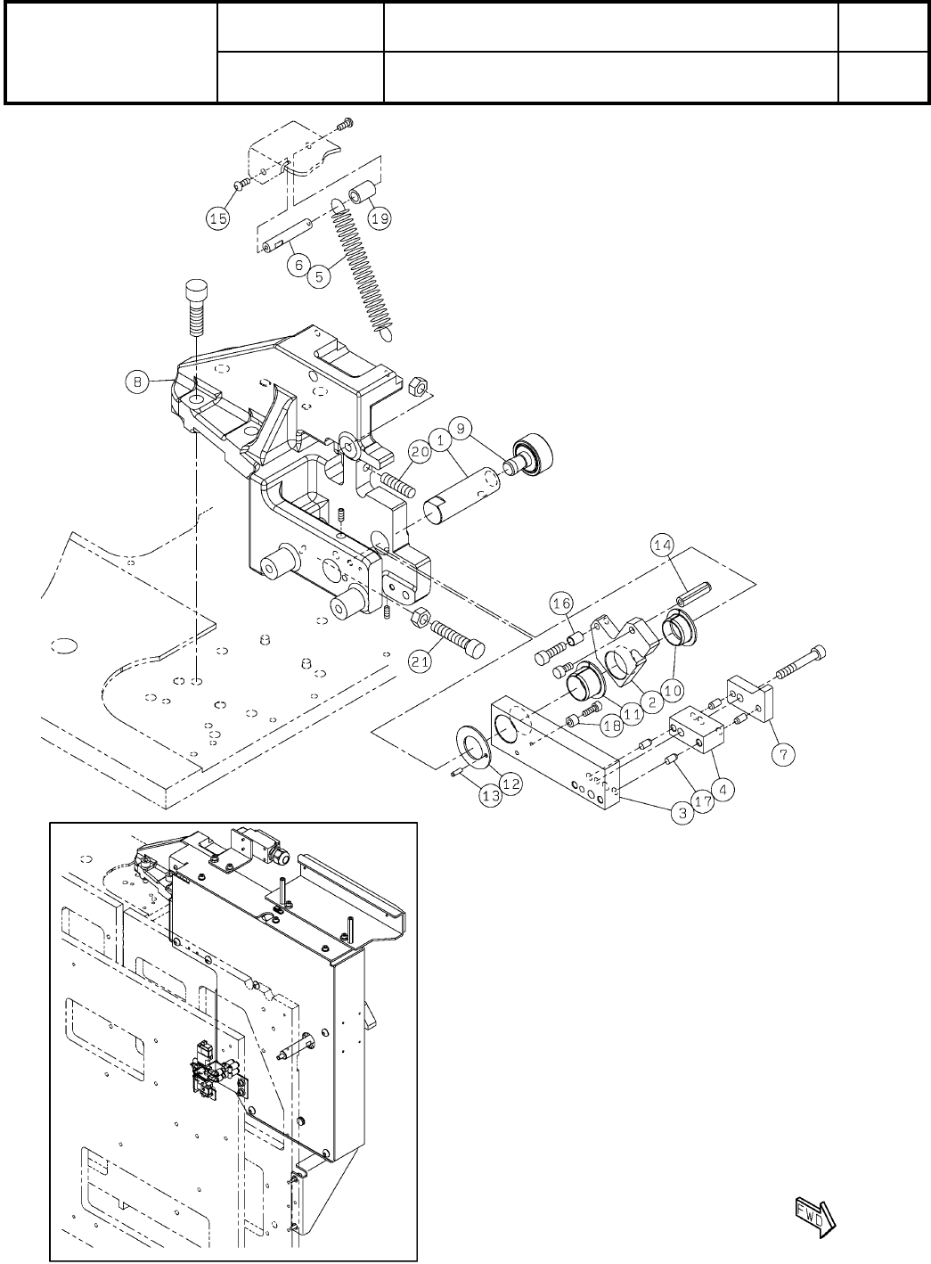
14-A
30連交換台車駆動部(左側):NPM-WX
30 Slot Feeder Cart Drive Unit(Left Side):NPM-WX
パーツレイアウト
Kit No.
キット品番
Kit Name
キット名称
MTKA012469AA
セクションNo.
PARTS LAYOUT
Section No.
--
O83
( KMTKA012469AA-04-1 )

Ref
No.
Remarks R
1
Q'ty
14-A
30連交換台車駆動部(左側):NPM-WX
30 Slot Feeder Cart Drive Unit(Left Side):NPM-WX
イラスト
No.
Part No.
品 名品 番 数量
R
2
パーツリスト
Kit No.
キット品番
Kit Name
キット名称
MTKA012469AA
Part Name
備 考
セクションNo.
PARTS LIST
Section No.
R
3
SHAFT
1
1 N210091107AA
LEVER
1
2 N210103082AE
LEVER
1
3 N210143124AB
SPACER
1
4 N210143115AA
SPRING
1
5 N210146764AB
POST
1
6 N210155169AB
GUIDE
1
7 N210199740AA
BRACKET
1
8 MTKP009325AB
CAM-FOLLOWER
1
9 N510036568AA CF-SFU-12B
BUSH
1
10 N510037242AA LFF-2010
BUSH
1
11 N510013369AA LFF-2015
WASHER
1
12 N510037241AA LFW-2015
PIN
1
13 N510020590AA MMS3-10
DOWEL-PIN
1
14 N510038675AA MMST8-30
BOLT
2
15 N510017516AA
SSS 003 Hexagon socket button head screw M4X10-10.9 A2J (Trivalent)
SPACER
1
16 MTNK000503AA CF-610ZE
PIN
4
17 N510020607AA MMS5-10
SPACER
1
18 N510019918AA CF-406E
TUBE
1
19 KXF03VCAA00 TU1208B-20
BOLT
1
20 N510061253AA ANBN8-30
BOLT
1
21 N510017479AA
Hexagon socket head cap screw M8X40-10.9 A2J (Trivalent) Full thread
O84
--
( KMTKA012469AA-04-1 )