NM-8224A,B,C PARTS LIST_ - 第113页
) 1 / 上部 n \ U P P E R A N V I L S E C T I O N 部 個 数 考 備 番 品 名 品 No . PART NAME Q ’ TY REMARKS REF PART No . No . 六 角 穴 付 ^ in 15 X 20 V 701 XVE 5 B 20 FP HEXAGON SOCKET HEAD SCREW 2 六 角 穴 付 本 朴 V 702 XVE 5 B 12 FP HEX…

r
>
e
几上部
lYI
UPPER
ANVIL
SECTION
V
703
V
703
V
704
V
706
V
706
V
703
PXQ
0
K
04
-
V
700
-
B
^
A
M
97

)
1
/
上部
n
\
UPPER
ANVIL
SECTION
部
個数
考
備
番
品
名
品
No
.
PART
NAME
Q
’
TY
REMARKS
REF
PART
No
.
No
.
六角穴付
^
in
15
X
20
V
701
XVE
5
B
20
FP
HEXAGON
SOCKET
HEAD
SCREW
2
六角穴付本朴
V
702
XVE
5
B
12
FP
HEXAGON
SOCKET
HEAD
SCREW
M
5
X
12
六角穴付
tnW
'
HEXAGON
SOCKET
HEAD
SCREW
M
4
X
12
V
703
XVE
4
B
12
FP
4
六角穴付
V
704
XVE
4
B
6
FP
HEXAGON
SOCKET
HEAD
SCREW
4
M
4
X
6
六角穴付栌
JP
卜
V
706
XVE
3
B
6
FP
冊
XAGON
SOCKET
HEAD
SCREW
3
M
3
X
6
PX
00
K
04
-
V
700
-
B
_
A
M
98

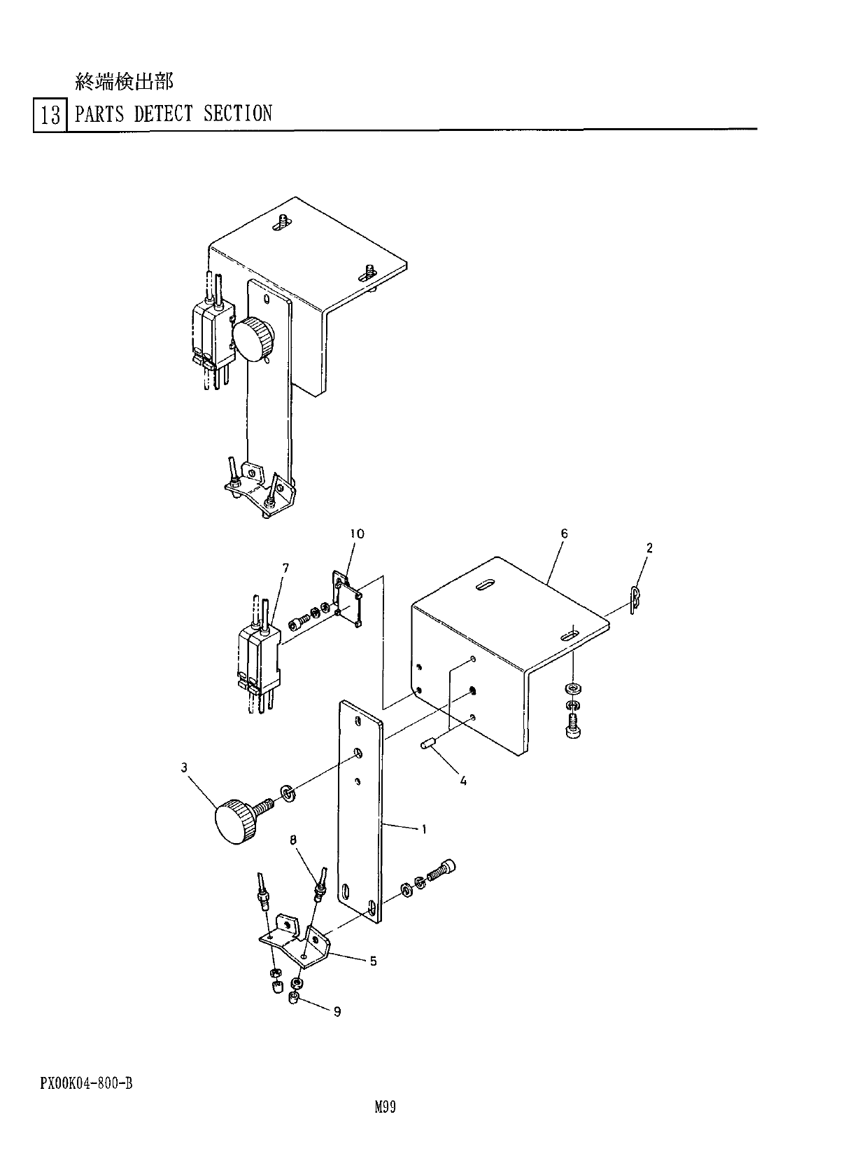
終端検出部
I
3
I
PARTS
DETECT
SECTION
#
PXOOK
04
-
800
-
B
M
99