NM-8224A,B,C PARTS LIST_ - 第152页
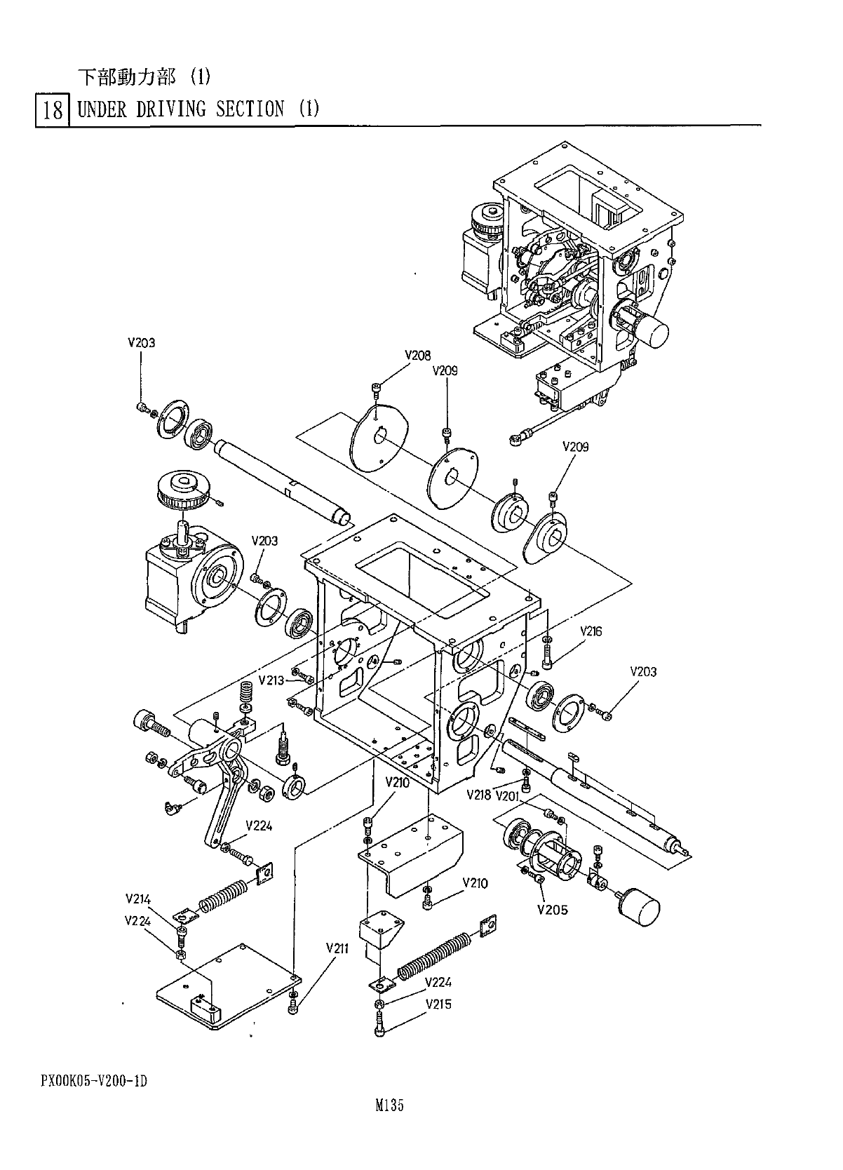
下 部 動 力 部 ⑴ 18 l UNDER DRIVING SECTION ( 1 ) V 203 V 208 V 209 V 209 V 26 V 203 V 218 V 201 V 224 V 210 V 214 V 205 V 224 V 211 V 224 V 215 PX 00 K 05 - V 200 - 1 D M 135

下 部 動 力 部
⑴
lil
UNDER
DRIVING
SECTION
(
1
)
僅
考
個数
備
部
名
品
番
品
No
.
Q
'
TY
REMARKS
REF
PART
No
.
PART
NAME
No
.
K
+
SPACER
51
X
00
K
05314
B
-
MT
6
X
1
TWz
^
TJ
GREASE
NIPPLE
52
N
560
A
6
MT
1
BN
PX
00
K
05
-
200
-
2
F
M
134
-
1

下 部 動 力 部
⑴
18
l
UNDER
DRIVING
SECTION
(
1
)
V
203
V
208
V
209
V
209
V
26
V
203
V
218
V
201
V
224
V
210
V
214
V
205
V
224
V
211
V
224
V
215
PX
00
K
05
-
V
200
-
1
D
M
135

下 部 動 力 部
⑴
18
l
UNDER
DRIVING
SECTION
(
1
)
部
個数
備
考
番
名
品
品
No
.
Q
,
TY
REMARKS
REF
PART
No
.
PART
NAME
No
.
六角穴付东
’
Ah
V
201
XVE
3
B
10
FP
HEXAGON
SOCKET
HEAD
SCREW
4
M
3
X
10
六角穴付
V
203
XVE
5
B
10
FP
HEXAGON
SOCKET
HEAD
SCREW
9
M
5
X
10
3
><
DELETE
>
V
204
六角穴付
HEXAGON
SOCKET
HEAD
SCREW
M
5
X
15
VZ
05
XVE
5
B
15
FP
3
iW
/
HXDELETE
)
V
206
六角穴付
V
208
XVE
6
B
20
FP
HEXAGON
SOCKET
HEAD
SCREW
3
M
6
X
20
六角穴付
VJy
V
209
XVE
6
B
25
FP
HEXAGON
SOCKET
HEAD
SCREW
4
M
6
X
25
六角穴付吖
V
210
XVE
8
B
20
FP
HEXAGON
SOCKET
HEAD
SCREW
8
M
8
X
20
六角穴付
^
JH
V
211
XVE
8
B
25
FP
HEXAGON
SOCKET
HEAD
SCREW
M
8
X
25
4
六角穴付
f
V
213
HEXAGON
SOCKET
HEAD
SCREW
XVE
8
B
45
FP
4
M
8
X
45
六角穴付
^
V
214
XVE
10
B
30
FP
HEXAGON
SOCKET
HEAD
SCREW
2
M
10
X
30
六角穴付
4
’
JH
V
215
XVE
10
B
35
FP
HEXAGON
SOCKET
HEAD
SCREW
2
M
10
X
35
六角穴付
f
V
216
XVE
10
B
40
FP
HEXAGON
SOCKET
HEAD
SCREW
6
M
10
X
40
六角穴 付 扩針
V
218
XVE
4
B
16
FP
HEXAGON
SOCKET
HEAD
SCREW
3
M
4
X
16
<
W
/
aXDELETE
)
V
221
六角
tTF
V
224
XNH
10
DFP
HEXAGON
NUT
M
10
,
lyi
6
PXO
0
KO
5
-
V
200
-
1
D
M
136