NM-8224A,B,C PARTS LIST_ - 第160页
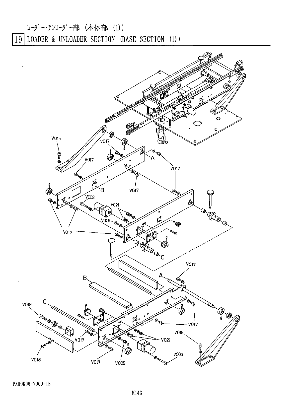
口一夕 ' ' - 夕 部 ( 本 体 部 ⑴ ) 1 ^ 1 LOADER & UNLOADER SECTION ( BASE SECTION ⑴ ) V 015 V 017 V 017 V 019 Y 018 V 017 V 005 PX 00 K 06 - V 000 - 1 B M 143

DU
>
口
-
夕
、
部
(
本体部
⑴
)
19
l
LOADER
&
UNLOADER
SECTION
(
BASE
SECTION
⑴
)
im
考
部
名
個数
備
番
品
品
No
.
PART
NAME
Q
'
TY
REMARKS
REF
PART
No
.
No
.
XOOKO
6041
WF
MFT
H
7
F
SHAFT
2
X
00
K
06042
2
TFT
X
00
K
06043
PLATE
3
TFF
PLATE
4
X
00
K
06044
六角穴付止
;
<
SET
SCREW
M
4
X
10
,
tm
5
XXE
4
C
10
FP
4
六角穴付止彡衫
’
SET
SCREW
M
5
xi
2
,
tm
6
XXE
5
C
12
FP
12
六角穴付皿匕
‘
又
HEXAGON
SOCKET
SCREW
N
986
YYYY
-
688
4
1
M
35
<
26
>
8
<
27
>
9
揺動板
(
C
)
SHAKING
PLATE
(
0
TO
X
00
K
06050
t
-
夕
-
7
°
H
X
00
K
06051
MOTOR
PLATE
2
11
r
-
u
-
PULLEY
X
00
K
06052
12
2
N
648
MB
019000
PULLEY
13
4
MB
019000
iW
XOOKO
6055
FLANGE
14
6
1
W
XOOK
06056
FLANGE
15
2
V
7
W
XLC
6300
ZZ
BEARING
6300
ZZ
16
<
28
>
17
Tuv
¥
X
00
K
06059
BLOCK
18
f
7
v
;
K
T
9
M
4
GA
12.5
F
GEAR
HEAD
M
4
GA
12
.
5
F
2
小型
㈠
MOTOR
20
M
4
RA
1
G
4
L
2
M
4
RA
1
G
4
L
4
P
1
W
100
V
¥
K
VYJV
BALL
BEAIING
21
XLC
6001
ZZ
2
MIZZ
TrW
KNOB
X
006
-
334
22
2
16
XTT
5
X
006
-
159
-
1
丽
SHAFT
HOLDER
23
24
X
006
-
159
-
2
SHAFT
HOLDER
KITVTW
25
N
520
MB
1420
DU
DRY
BEARING
4
MB
1420
DU
揺動板
(
A
)
26
X
00
K
06063
SHAKING
PLATE
(
A
)
27
X
00
K
06064
SHAKING
PLATE
(
B
)
28
X
00
K
06067
7
。
1
^
卜
PLATE
PX
00
K
06
-
Q
00
-
1
D
M
142

口一夕
'
'
-
夕 部
(
本 体 部
⑴
)
1
^
1
LOADER
&
UNLOADER
SECTION
(
BASE
SECTION
⑴
)
V
015
V
017
V
017
V
019
Y
018
V
017
V
005
PX
00
K
06
-
V
000
-
1
B
M
143

D
-
T
-
-
部
(
本 体 部
⑴
)
19
l
LOADER
&
UNLOADER
SECTION
(
BASE
SECTION
⑴
)
部
個数
考
名
備
番
品
No
.
PP
Q
’
TY
PART
No
.
PART
NAME
REMARKS
REF
No
.
六角穴付
^
JH
HEXAGON
SOCKET
HEAD
SCREW
M
3
X
50
XVG
3
B
50
FP
4
V
003
六角穴付
Oh
HEXAGON
SOCKET
HEAD
SCREW
8
M
4
X
10
XVG
4
B
10
FP
V
005
六角穴付
Oh
XVG
8
B
25
FP
HEXAGON
SOCKET
HEAD
SCREW
4
M
8
X
25
V
015
六角穴付
^
B
HEXAGON
SOCKET
HEAD
SCREff
37
V
017
XVG
5
B
10
FP
M
5
X
10
六角穴付东
’
於
HEXAGON
SOCKET
HEAD
SCREW
V
018
XVG
6
B
16
FP
2
M
6
X
16
六角穴付
M
XVH
10
B
30
FP
HEXAGON
SOCKET
HEAD
SCREW
M
10
X
30
Y
019
六角于外
HEXAGON
NUT
4
M
4
,
lyi
V
021
XNG
4
AFP
PXO
0
K
06
-
V
000
-
1
B
M
144