NM-8224A,B,C PARTS LIST_ - 第39页
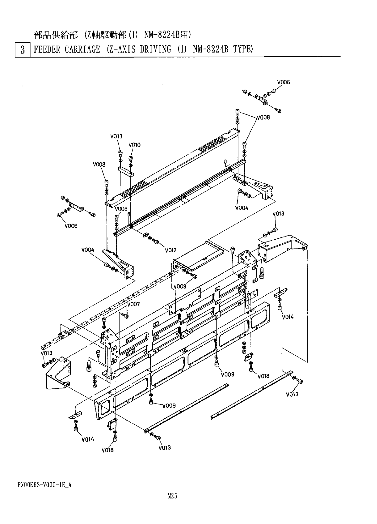
部 品 供 給 部 ( Z 軸 駆 動 部 ⑴ 丽 - 8224 B 用 ) J ] FEEDER CARRIAGE ( Z - AXIS DRIVING ⑴ NM - 8224 B TYPE ) 個 数 備 考 部 名 番 品 品 No . QT TY REMARKS PART NAME REF PART No . No . 8 M 8 X 30 六角穴付 HEXAGON SOCKET HEAD SCREW V 004 XVE 8 B…

部品供給部
(
Z
軸駆動部
⑴
NM
-
8224
B
用
)
Y
\
FEEDER
CARRIAGE
(
Z
-
AXIS
DRIVING
(
1
)
NM
-
8224
B
TYPE
)
V
013
\
V
013
V
013
V
018
PXOOK
63
-
VOOO
-
1
E
_
A
M
25

部品供給部
(
Z
軸駆動部
⑴
丽
-
8224
B
用
)
J
]
FEEDER
CARRIAGE
(
Z
-
AXIS
DRIVING
⑴
NM
-
8224
B
TYPE
)
個数
備
考
部
名
番
品
品
No
.
QT
TY
REMARKS
PART
NAME
REF
PART
No
.
No
.
8
M
8
X
30
六角穴付
HEXAGON
SOCKET
HEAD
SCREW
V
004
XVE
8
B
30
FP
六角穴付
40
P
卜
4
M
8
X
20
HEXAGON
SOCKET
HEAD
SCREW
V
006
XVE
8
B
20
FP
12
M
6
X
25
六角穴付本舯
HEXAGON
SOCKET
HEAD
SCREW
W
XVE
6
B
25
FP
M
6
X
20
六角穴付扩針
HEXAGON
SOCKET
HEAD
SCREW
8
V
008
XVE
6
B
20
FP
六角穴付
¥
JY
冊
XAGON
SOCKET
HEAD
SCREW
16
M
6
X
16
V
009
XVE
6
B
16
FP
六角穴付
Oh
HEXAGON
SOCKET
冊
AD
SCREW
63
M
5
X
25
VO
10
XVE
5
B
25
FP
六角穴付
YJy
HEXAGON
SOCKET
HEAD
SCREW
10
M
5
X
12
VO
12
XVE
5
B
12
FP
六角穴付丨
*
h
79
M
5
X
10
HEXAGON
SOCKET
HEAD
SCREW
VO
13
XVE
5
B
10
FP
M
4
X
20
六角穴付敢針
HEXAGON
SOCKET
HEAD
SCREW
4
VO
14
XVE
4
B
20
FP
M
3
X
8
六角穴付
in
讣
HEXAGON
SOCKET
HEAD
SCREW
4
VO
18
XVE
3
B
8
FP
PX
00
K
63
-
V
000
-
1
E
_
A
M
26

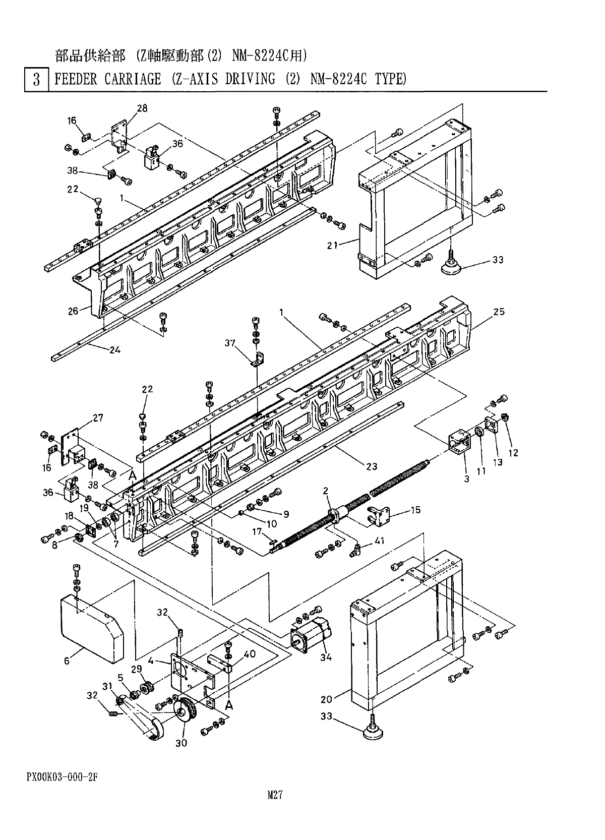
部品供給部
(
Z
軸駆動部
⑵
NM
-
8224
C
用
)
3
~
|
FEEDER
CARRIAGE
(
Z
-
AXIS
DRIVING
(
2
)
NM
-
8224
C
TYPE
)
PX
00
K
03
-
000
-
2
F
M
27