NM-8224A,B,C PARTS LIST_ - 第43页
部品供給部 ( Z 軸駆動部 ⑵ NM - 8224 C 用 ) 31 FEEDER CARRIAGE ( Z - AXIS DRIVING ( 2 ) NM - 8224 C TYPE ) 部 個 数 考 番 名 備 品 品 No . PART No . PART NAME Q ’ TY REMARKS REF No . 六角穴付 t r ) ^ voor XVE 10 B 35 FP HEXAGON SOCKET HEAD SCRE…


部品供給部
(
Z
軸駆動部
⑵
NM
-
8224
C
用
)
31
FEEDER
CARRIAGE
(
Z
-
AXIS
DRIVING
(
2
)
NM
-
8224
C
TYPE
)
部
個数
考
番
名
備
品
品
No
.
PART
No
.
PART
NAME
Q
’
TY
REMARKS
REF
No
.
六角穴付
tr
)
^
voor
XVE
10
B
35
FP
HEXAGON
SOCKET
HEAD
SCREW
24
M
10
X
35
六角穴付
H
V
002
XVE
8
B
40
FP
HEXAGON
SOCKET
HEAD
SCREW
22
M
8
X
40
六角穴付
VM
HEXAGON
SOCKET
HEAD
SCREW
V
003
XVE
8
B
35
FP
4
M
8
X
35
六角穴付
O
卜
V
004
XVE
8
B
30
FP
HEXAGON
SOCKET
HEAD
SCREW
12
M
8
X
30
六角穴付
V
005
XVE
8
B
25
FP
HEXAGON
SOCKET
HEAD
SCREW
M
8
X
25
8
六角穴付
HEXAGON
SOCKET
HEAD
SCREW
XVE
6
B
25
FP
V
007
36
M
6
X
25
六角穴付
V
010
XVE
5
B
30
FP
HEXAGON
SOCKET
HEAD
SCREW
M
5
X
30
4
六角 穴 付扩 於
V
011
XVE
5
B
20
FP
HEXAGON
SOCKET
HEAD
SCREW
M
5
X
20
4
六 角 穴 付 朴
V
012
XVE
5
B
12
FP
HEXAGON
SOCKET
HEAD
SCREW
M
5
X
12
4
六角穴 付 肊 針
VO
14
XVE
4
B
20
FP
HEXAGON
SOCKET
HEAD
SCREW
4
M
4
X
20
六角穴付
XVE
4
B
18
FP
HEXAGON
SOCKET
HEAD
SCREW
V
015
4
M
4
X
18
六角穴付
WU
HEXAGON
SOCKET
HEAD
SCREW
VO
16
XVE
3
B
28
FP
4
M
3
X
28
六角穴付
HEXAGON
SOCKET
HEAD
SCREW
V
017
XVE
3
B
14
FP
8
M
3
X
14
V
020
<
W
/
H
><
DELETE
>
六角
:
hh
V
023
XNG
3
AFP
HEXAGON
NUT
8
M
3
,
lva
六角穴付
JIOV
卜
V
024
XVE
6
B
50
FP
HEXAGON
SOCKET
HEAD
SCREW
2
M
6
X
50
PX
00
K
03
-
V
00
O
-
2
F
M
30

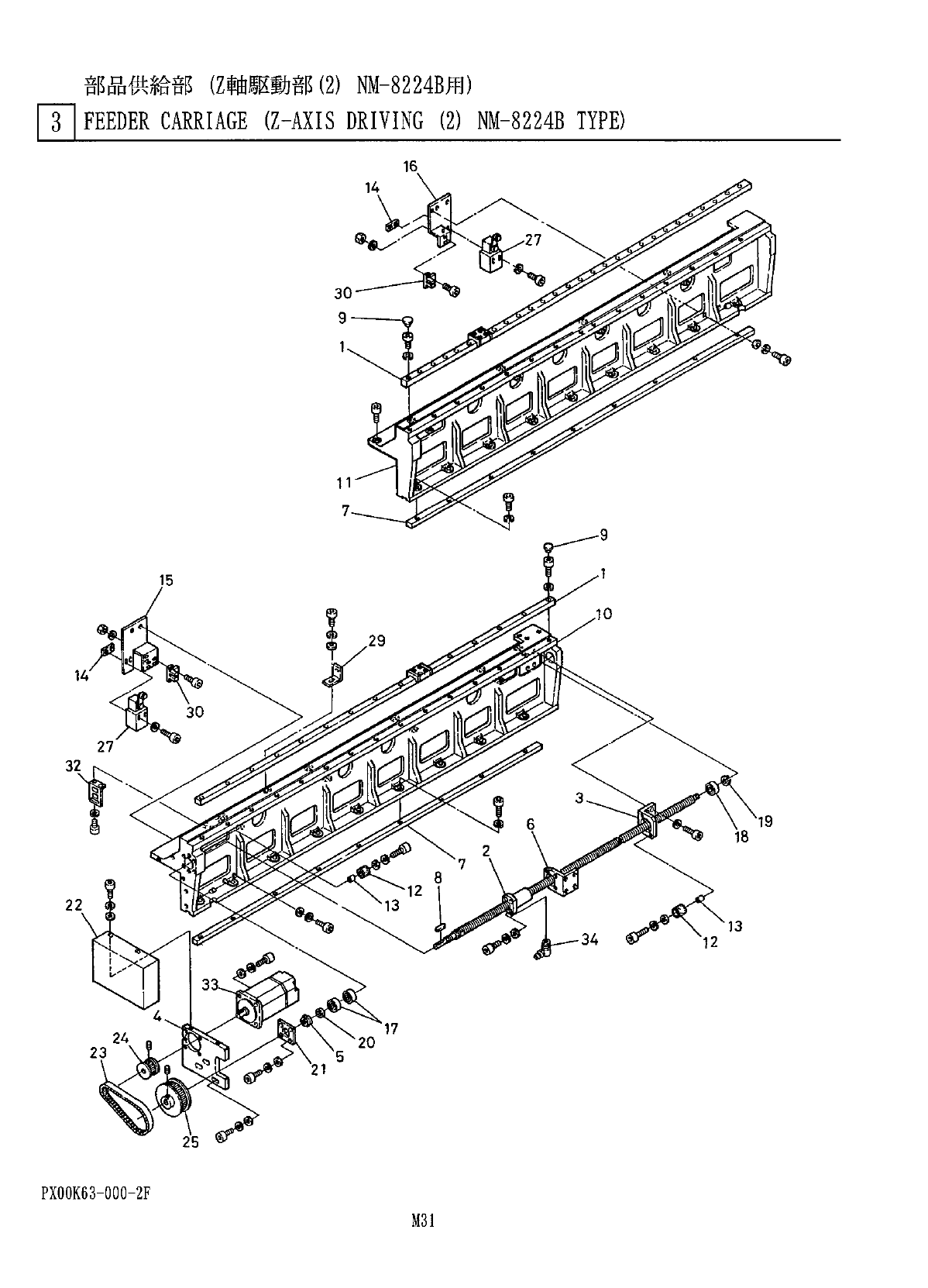
部品供給部
(
Z
軸駆動部
⑵
NM
-
8224
B
用
)
J
]
FEEDER
CARRIAGE
(
Z
-
AXIS
DRIVING
⑵
NM
-
8224
B
TYPE
)
PX
00
K
63
-
000
-
2
F