NM-8224A,B,C PARTS LIST_ - 第63页
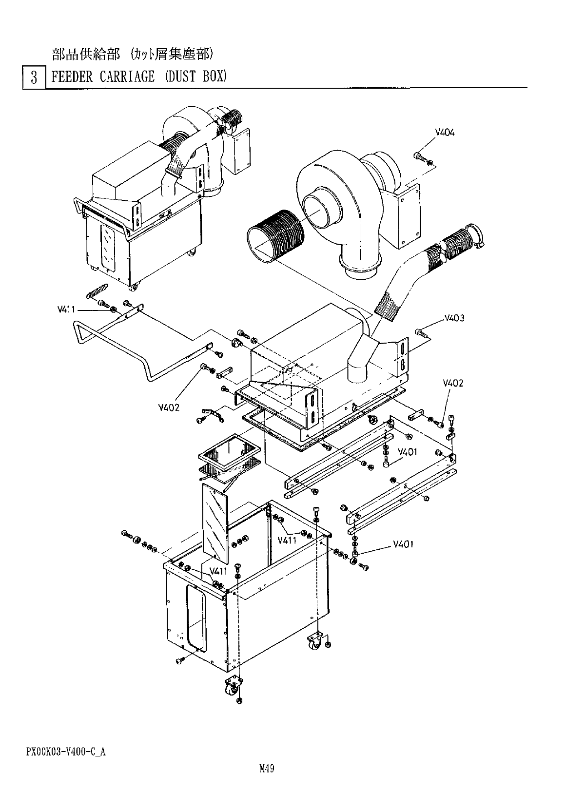
部品供給部 ( 力外屑集麈部 ) 3 l FEEDER CARRIAGE ( DUST BOX ) 部 考 個 数 備 番 品 名 品 No . PART NAME Q ’ TY REMARKS REF PART No . No . X 00 G 03301 CLAMPER im ) - 1 2 XOOG 03303 FILTER CASE < m ' 3 > < DELETE > I 77 > …

部品供給部
(
力外屑集塵部
)
3
l
FEEDER
CARRIAGE
(
DUST
BOX
)
PX
00
G
03
-
300
-
lE
_
A

部品供給部
(
力外屑集麈部
)
3
l
FEEDER
CARRIAGE
(
DUST
BOX
)
部
考
個数
備
番
品
名
品
No
.
PART
NAME
Q
’
TY
REMARKS
REF
PART
No
.
No
.
X
00
G
03301
CLAMPER
im
)
-
1
2
XOOG
03303
FILTER
CASE
<
m
'
3
>
<
DELETE
>
I
77
>
7
*
D
7
N
935
AH
500
JM
AH
-
500
4
N
980
K
420
-
044
W
CASTER
2
K
-
420
R
-
32
-
UR
5
MAIN
FRAME
6
X
00
G
03309
A
AW
7
X
00
G
03310
PACKING
v
1
W
I
XLC
606
ZZ
BEARING
4
'
SMZZ
F
7
9
X
00
G
03312
PIN
4
引張
;
)
’
本
10
N
986
AWS
1265
SPRING
AWS
12
-
65
X
00
G
03315
LEVER
11
T
2
X
00
G
033
I
6
FF
RAIT
2
T
3
X
00
G
03320
丽
14
N
935
YYYY
-
055
*
-
又
HOSE
15
X
00
G
03323
1
W
FILTER
74
夕止〆
16
X
00
G
03324
FILTER
STOPPER
軸用
C
型止
;
(
攝
'
2
STW
=
8
17
XUB
8
FP
SNAP
RING
(
0
D
.
U
.
7
*
18
N
520
MB
0812
DU
DU
BUSHING
I
MB
0812
DU
支点
t
=
>
X
00
G
03329
FULCULUM
PIN
2
19
7
夕
W
板
20
X
00
G
03331
ACRYL
PLATE
F
7
F
X
00
G
03332
21
GUIDE
2
22
X
00
G
03334
只
W
STOPPER
23
X
00
G
03335
STOPPER
自在丽
24
N
980
K
420
-
045
CASTER
2
K
-
420
G
-
32
-
UR
25
7
M
>
26
<
m
'
3
><
DELETE
>
27
3
>
<
DELETE
>
28
N
935
DT
65
T
FJ
HOSE
DT
-
65
,
hW
-
f
(
650
mm
)
A
*
29
N
348
HS
40
HOSE
BAND
HS
¥
30
X
00
G
03350
STOPPER
2
PX
00
G
03
-
30
C
-
1
E
_
A
M
48

部品供給部
(
力
、
y
卜屑集塵部
)
J
]
FEEDER
CARRIAGE
①
UST
BOX
)
0
PX
00
K
03
-
V
4
OO
-
C
_
A
M
49