NM-8224A,B,C PARTS LIST_ - 第69页
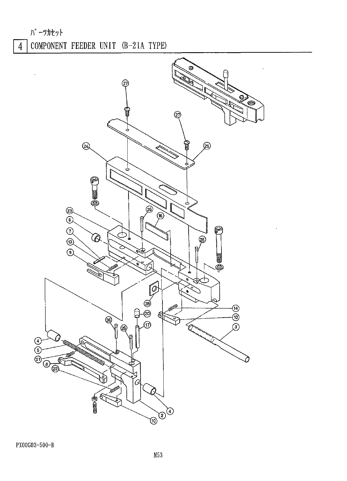
A ° - ■ 外 H COMPONENT FEEDER UNIT ( B - 21 A TYPE ) 册 個 数 備 考 部 名 番 品 品 No . Q ’ TY REMARKS REF PART No . PART NAME No . 7 ^ 28 八 。 - 7 力 b 卜 i 二 . ? 卜 X 00 G 03500 COMPONENT FEEDER UNIT < 23 > 送 liiV FEED SLIDE 2 …

T
1
COMPONENT
FEEDER
UNIT
(
B
-
21
A
TYPE
)
PX
00
G
03
-
500
-
B
M
53

A
°
-
■
外
H
COMPONENT
FEEDER
UNIT
(
B
-
21
A
TYPE
)
册
個数
備
考
部
名
番
品
品
No
.
Q
’
TY
REMARKS
REF
PART
No
.
PART
NAME
No
.
7
^
28
八
。
-
7
力
b
卜
i
二
.
?
卜
X
00
G
03500
COMPONENT
FEEDER
UNIT
<
23
>
送
liiV
FEED
SLIDE
2
X
021
-
272
力
’
仆
,
軸
X
003
-
073
GUIDE
SHAFT
3
D
U
7
'
r
/
a
N
540
MB
0712
DU
DU
BUSHING
2
MB
0712
DU
4
圧縮
MING
5
X
003
-
075
7
VW
SPRING
HOLDER
6
X
003
-
076
SPRING
PIN
<
/
)
2
X
16
L
T
XPL
216
送
1
J
爪
(
A
>
FEED
PAWL
(
A
)
X
021
-
279
8
送
1
J
爪
⑻
FEED
PAWL
(
B
)
9
X
003
-
080
送
1
J
爪
⑹
FEED
PAWL
(
C
)
10
X
021
-
281
2
W
11
圧縮
A
‘
本
SPRING
13
X
003
-
084
圧縮
A
’
本
SPRING
14
X
003
-
085
15
MHB
X
003
-
089
TURNING
LOCK
16
SPRING
PIN
<
J
>
4
X
40
L
XPL
440
17
19
20
N
98805
CAP
TOM
圧縮
/
V
孝
21
X
003
-
083
-
1
SPRING
圧縮
;
VI
22
X
003
-
083
-
2
MING
送
1
J
本体
23
X
00
G
03501
FEED
BODY
TTTTH
7
24
X
0
OGO
35
O
2
GUIDE
PLATE
WW
25
X
00
G
03503
RETAINER
PLATE
支点
26
X
00
G
03504
FULCRUM
PIN
T
十字穴付
tv
小衫
’
27
XSN
3
+
5
FY
MEW
H
3
X
5
2
W
-
(
B
)
STOPPER
(
B
)
28
X
00
K
03517
PX
00
G
03
-
500
-
B
M
54

八
°
巧力七
7
卜
T
\
COMPONENT
FEEDER
UNIT
(
C
-
21
B
TYPE
)
x
2
PXOOKO
3
-
540
-
C
M
55