NM-8224A,B,C PARTS LIST_ - 第83页
揷 入 部 ⑴ 6 l INSERTION HEAD SECTION ( 1 ) 考 部 名 個数 備 品 番 品 No . REF PART No . Q ' TY REMARKS PART NAME No . TA ' 27 - v TW 7009 A - DF XLLN 7009 ADF ANGULAR BEARING lset W 2 v " t 7 i - 3 XNRNFU 09 SC BEARI…

揷 入 部
⑴
6
l
INSERTION
HEAD
SECTION
⑴
39
/
31
29
25
30
41
2 1
16
32
A
6
44
43
28
*
4 0
17
45
14
PXOOK
04
-
1
OO
-
1
F
.
A
M
67

揷 入 部
⑴
6
l
INSERTION
HEAD
SECTION
(
1
)
考
部
名
個数
備
品
番
品
No
.
REF
PART
No
.
Q
'
TY
REMARKS
PART
NAME
No
.
TA
'
27
-
v
TW
7009
A
-
DF
XLLN
7009
ADF
ANGULAR
BEARING
lset
W
2
v
"
t
7
i
-
3
XNRNFU
09
SC
BEARING
NUT
FU
09
SC
<
42
>
4
5
XPJ
6
C
18
FW
PARALLEL
PIN
2
H
7
A
-
D
6
X
18
MK
上下軸
X
00
K
04117
HEAD
UP
/
DOWN
SHAFT
6
7
XPA
3
L
3
F
20
T
7
KEY
3
X
3
X
20
,
'
J
357
ft
VK
7
V
~
h
8
X
00
K
04125
HEAD
FRAME
W
9
X
00
K
04126
RETAINER
v
WW
TO
XLCNF
608
ZZ
BEARING
F
608
ZZ
\
JW
XLC
608
ZZ
11
BEARING
608
ZZ
m
H
X
00
K
04129
B
SHAFT
V
刊乃
押工
T
3
X
00
K
04130
BEARING
RETAINER
FTF
14
X
00
K
04131
GUIDE
15
X
00
K
04132
IEVER
引張
A
,
本
16
X
00
K
04133
SPRING
17
X
00
K
04134
STOPPER
夕
,
⑽
>
18
XPJ
5
C
15
FW
PARALLEL
PIN
H
7
A
-
D
5
X
15
TT
19
X
00
K
04138
cm
20
XPL
25
A
16
WFff
SPRING
PIN
D
2.5
X
16
A
'
丰掛
Y
7
。
H
IT
X
00
K
04140
SPRING
HOOK
PLATE
22
<
43
>
7
V
十
23
X
00
K
04146
SPACER
本体
mv
24
X
00
K
04149
FLANGE
W
WWYW
25
X
00
K
04151
BLOCK
X
00
K
04152
26
*
7
-
COLLAR
27
X
00
K
04161
T
)
!
)
-
RACK
STOPPER
六角穴付止
)
i
衫
’
28
XXE
3
C
4
FP
SET
SCREW
M
3
X
4
,
丽
5
(
B
)
29
X
004
-
105
-
1
INSERT
PUSHER
(
B
)
挿 入
7
°
分
]
’
厶
30
X
004
-
105
-
2
INSERT
PUSHER
RUBBER
To
□
HTT
7
31
XPL
2
A
10
WFW
ROLL
PIN
2
mlo
上端
Xh
"
;
A
*
-
32
X
004
-
108
UPPER
END
STOPPER
平 行
33
XPJ
4
C
14
FW
PARALLEL
PIN
I
H
7
A
-
D
4
X
14
34
X
004
-
113
W
RACK
35
XPA
3
L
3
F
10
IEY
3
X
3
X
10
,
'
JaW
36
X
004
-
117
W
COLLAR
7
WTT
37
XPJ
3
A
10
FW
PARALLEL
PIN
M
6
A
-
D
3
XI
0
夕
,
⑽
匕
。
:
/
38
XPJ
4
A
15
FW
PARALLEL
PIN
2
H
7
A
-
D
4
X
15
7
°
TA
~
yt
7
h
39
X
004
-
351
PUSHER
SHAFT
移 替
i
位 置
IhK
-
40
X
004
-
129
POSITIONING
STOPPER
41
X
0
OK
04174
v
;
K
回 転 軸
HEAD
ROTATION
SHAFT
FTF
丽
7
FA
42
X
00
K
04175
GUIDE
CHUCK
FRAME
43
X
00
K
04178
YimTVT
SPRING
HOOK
PLATE
K
1
W
44
XLCNW
683
ZZA
BEARING
W
683
ZZA
45
X
001
-
053
W
COLLAR
M
4
W
4
46
X
001
-
040
-
2
WASHER
M
53
々
4
PX
00
K
04
-
100
-
1
F
_
A
M
68

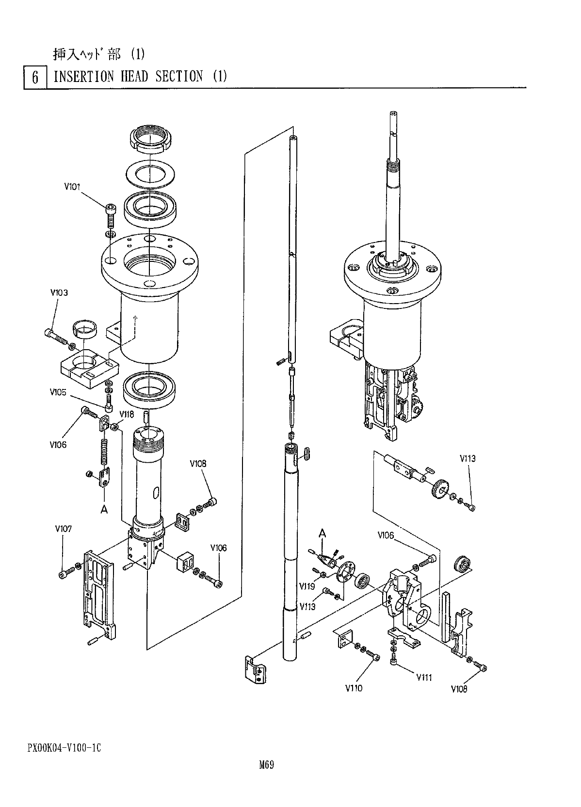
揷 入
A
7
K
部
⑴
6
~
|
INSERTION
HEAD
SECTION
(
1
)
w
V
101
K
©
V
103
V
118
V
113
V
108
0
V
107
A
V
106
V
106
V
119
V
113
V
111
V
110
V
108
PX
00
K
04
-
V
100
-
1
C
M
69