NM-8224A,B,C PARTS LIST_ - 第87页
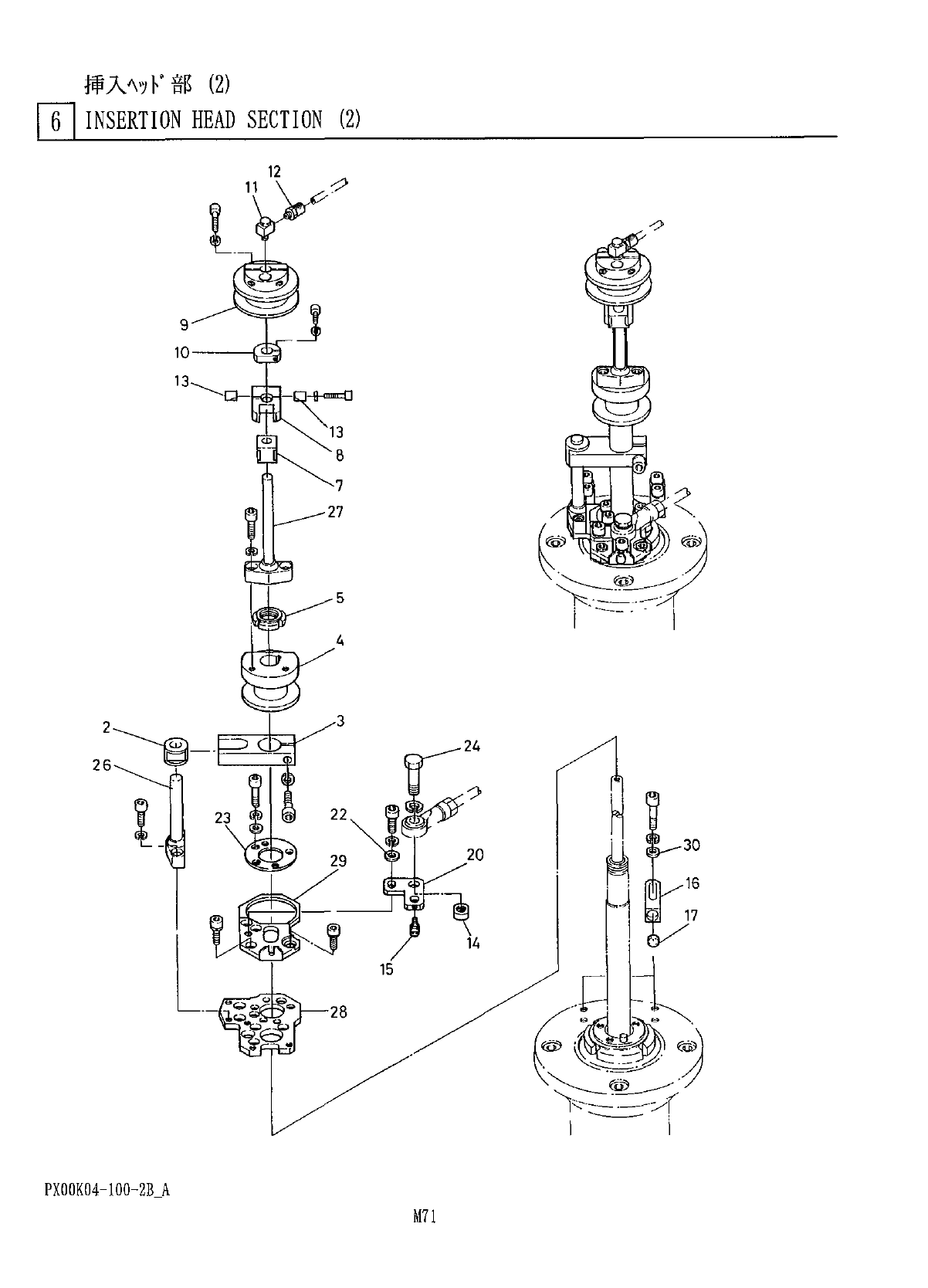
揷 入 A 7 K 部 ⑵ FI INSERTION HEAD SECTION ⑵ 個 数 備 考 部 名 番 品 品 No . Q ’ TY REMARKS PART NAME REF PART No . No . W SLIDER 2 X 00 K 04115 ARM 3 X 00 K 04116 7 — A n 7 才 口 7 - 受 CAM FOLLOWER HOLDER 4 X 00 K 04119 FU 03 SC BEAR…

揷 入
A
7
K
部
⑵
6
l
INSERTION
HEAD
SECTION
⑵
4
PX
00
K
04
-
100
-
2
Bj
M
71

揷 入
A
7
K
部
⑵
FI
INSERTION
HEAD
SECTION
⑵
個数
備
考
部
名
番
品
品
No
.
Q
’
TY
REMARKS
PART
NAME
REF
PART
No
.
No
.
W
SLIDER
2
X
00
K
04115
ARM
3
X
00
K
04116
7
—
A
n
7
才 口
7
-
受
CAM
FOLLOWER
HOLDER
4
X
00
K
04119
FU
03
SC
BEARING
NUT
5
XNRNFU
03
SC
<
27
>
6
mr
-
SLIDER
X
00
K
04123
ARM
8
XOOK
04124
7
-
A
M
7
tD
7
-
S
CAM
FOLLOWER
HOLDER
I
X
00
K
04135
COLLAR
TO
X
00
K
04136
JF
1
二
;
、
.
工
M
.
UNIVERSAL
ELBOW
M
-
5
UL
N
431
M
5
UL
11
水
-
又
:
I
M
-
5
H
-
6
N
431
M
5
H
6
HOSE
NIPPLE
12
COTTER
13
X
00
K
04145
37
夕一
lset
X
00
K
04156
于
7
卜
NUT
14
調整
f
朴
BOLT
X
00
K
04158
15
又
h
,
V
-
STOPPER
2
X
00
K
04159
T
6
STOPPER
RUBBER
2
17
X
00
K
04160
<
28
>
T
8
19
IW
-
20
X
00
K
04164
SLIDER
~
<
W
/
3
>
<
DELETE
>
IT
COLLAR
2
22
X
00
K
04166
IF
WXM
3
23
X
00
R
04167
BOLT
24
X
00
K
04168
<
W
/
H
><
DELETE
>
25
1
^
7
F
MFT
26
X
00
K
04172
TtTF
MFT
27
X
00
K
04173
(
1
)
STAGE
(
1
)
28
X
00
K
04176
STAGE
(
2
)
If
-
'
/
(
2
)
29
X
00
K
04177
W
X
001
-
040
-
1
WASHER
4
M
635
V
'
fA
PX
00
K
04
-
100
-
2
B
_
A
M
72

挿 入
A
7
K
部
⑵
6
l
INSERTION
HEAD
SECTION
(
2
)
V
109
V
112
V
109
V
106
V
102
V
107
V
104
\
V
109
V
104
1
V
107
PX
00
K
04
-
V
100
-
2
B
M
73