NM-8224A,B,C PARTS LIST_ - 第91页
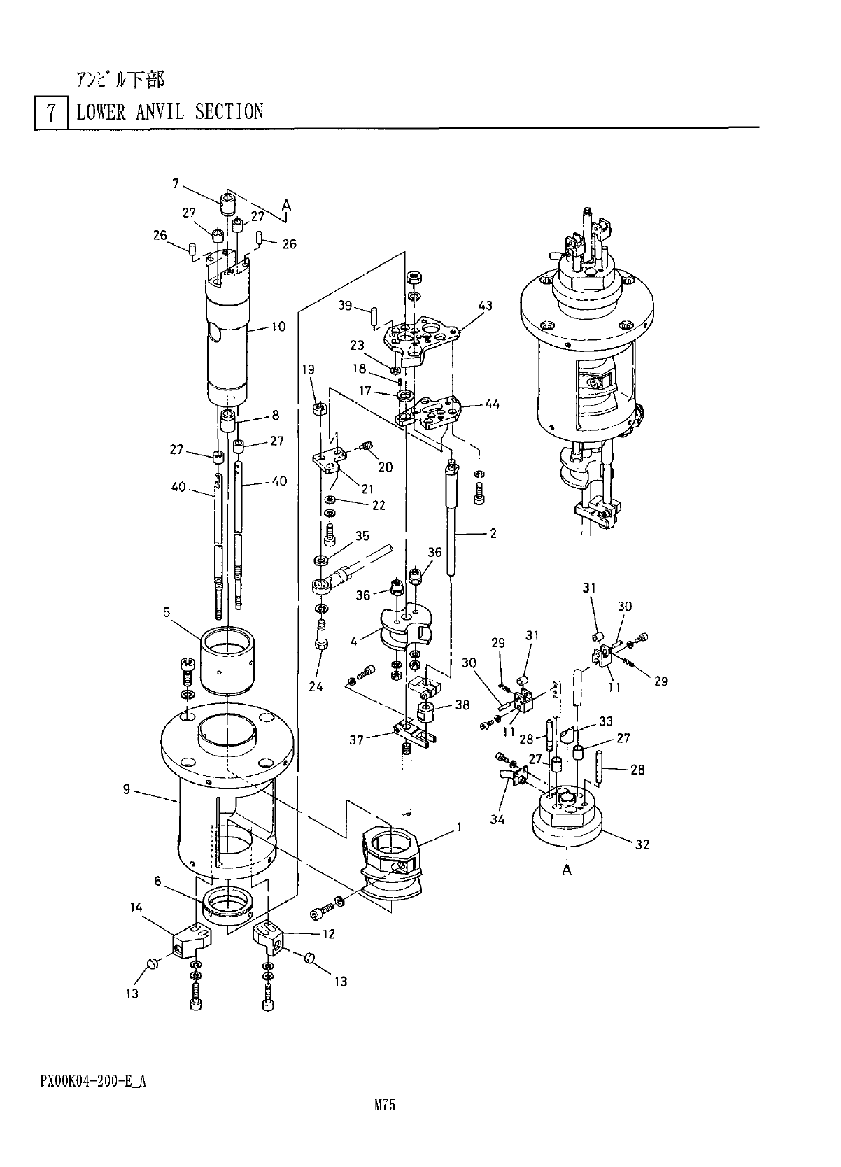
7 > t ' ' A 下部 71 LOWER ANVIL SECTION S 卜 部 個 数 備 考 名 番 品 品 PART NAME Q ’ TY REMARKS REF PART No . No . 力 A 7 扣 7 - 受 ( A [ CAM FOLLOWER HOLDER ( A ) X 00 K 04203 SLIDE SHAFT 2 XO 0 KO 42 O 8 < W / 3 >…

TAf
)
1
/
下部
71
LOWER
ANVIL
SECTION
P
^
-
26
39
1
23
18
19
8
^
-
一〆
27
27
20
40
40
21
22
35
36
31
36
\
30
5
29
11
33
27
28
,
—
—
28
9
PX
00
K
04
-
200
-
E
.
A
M
75

7
>
t
'
'
A
下部
71
LOWER
ANVIL
SECTION
S
卜
部
個数
備
考
名
番
品
品
PART
NAME
Q
’
TY
REMARKS
REF
PART
No
.
No
.
力
A
7
扣
7
-
受
(
A
[
CAM
FOLLOWER
HOLDER
(
A
)
X
00
K
04203
SLIDE
SHAFT
2
XO
0
KO
42
O
8
<
W
/
3
>
<
DELETE
>
I
力
A
7
邛
7
-
受
(
B
[
CAM
FOLLOWER
HOLDER
(
B
)
X
00
K
04210
4
Tlfl
X
00
K
04212
BUSHING
5
1
'
-
?
yi
BUSHING
6
X
00
K
04213
7
’
BUSHING
X
00
K
04214
7
7
*
BUSHING
8
X
00
K
04215
7
>
f
)
\
>
取付
77
>
-
/
ANVIL
MOUNTING
FLANGE
9
X
00
K
04216
7
>
fjP
本体
TO
X
00
K
04217
ANVIL
BODY
7
。
T
/
'
i
-
PUSHER
2
11
X
00
K
04219
7
>
t
1
回転
IhK
-
ANVIL
ROTATION
STOPPER
12
X
00
K
04220
又
M
。
一
STOPPER
2
13
X
00
K
04221
JWJ
回転又卜
7
八
’
ANVIL
ROTATION
STOPPER
X
00
K
04222
14
<
4
l
>
T
5
W
T
6
芯出
〉
力
5
-
COLLAR
X
00
K
04227
1
17
W
T
8
XPL
2
A
6
WFff
SPRING
PIN
1
NUT
T
9
X
00
K
04156
調整扩
JP
卜
BOLT
20
X
00
K
04158
-
SLIDER
21
X
00
K
04164
COLLAR
2
22
X
0
OKO
4166
COLLAR
I
23
X
00
R
04167
TO
24
X
00
K
04168
BOLT
<
W
/
3
><
DELETE
>
25
rwry
26
XPJ
6
C
12
FW
PARALLEL
PIN
2
H
7
A
-
B
6
X
12
Y v i
m
MB
0812
DD
27
N
520
MB
0812
DU
DRY
METAL
6
F
>
PIN
28
X
004
-
033
2
irw
SPRING
PIN
29
XPL
2
A
12
WFW
2
D
2
X
12
YV
PIN
30
X
004
-
074
2
31
X
004
-
075
ROLLER
2
a
-
y
-
FTF
W
-
32
X
004
-
386
DUST
COVER
YU
W
-
33
X
004
-
387
DUST
COYER
fi
-
r
継手
34
X
004
-
388
TUBE
JOINT
35
N
560
SSWA
-
028
IF
WlAR
SSWA
15
-
2
.
0
36
X
005
-
004
于外
NUT
2
37
回転止
;
i
ROTMY
STOPPER
X
005
-
014
38
X
005
-
015
軸受
BEARING
HOLDER
平行
O
39
XPJ
6
C
20
FW
PARALLEL
PIN
H
7
A
-
D
6
X
20
40
X
005
-
329
7
’
V
'
A
~
DTF
PUSHER
ROD
2
<
43
>
41
42
<
44
>
li
-
V
(
3
)
STAGE
(
3
)
43
X
00
K
04231
(
4
)
44
X
00
K
04232
STAGE
(
4
)
PX
00
K
04
-
200
-
E
_
A
M
76

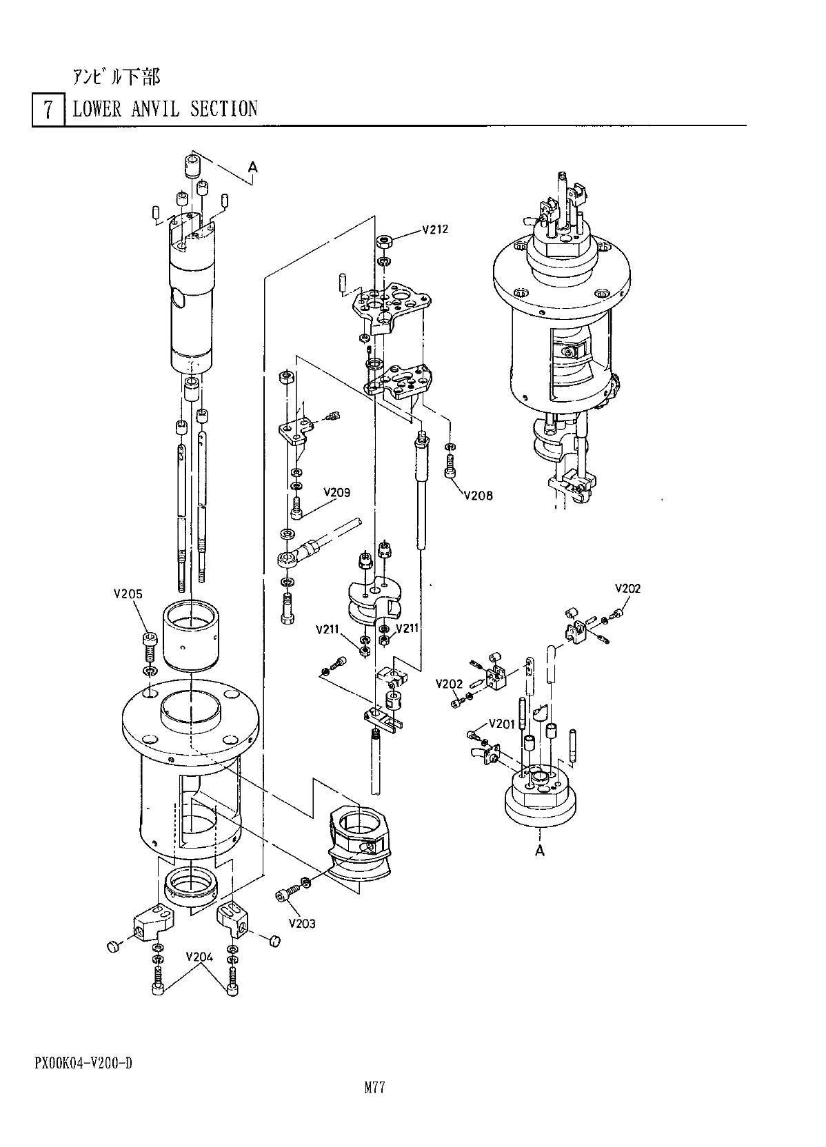
r
>
t
'
'
A
下部
71
LOWER
ANVIL
SECTION
V
212
fT
u
0
PXOOK
04
-
V
200
-
D