NM-8224A,B,C PARTS LIST_ - 第94页
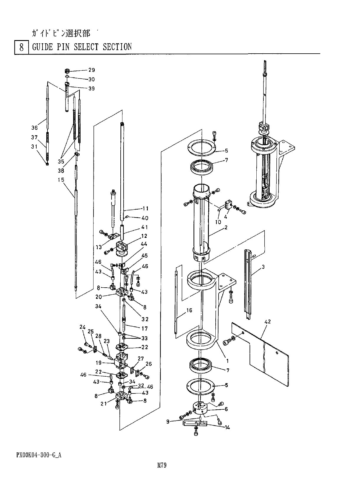
力 選 択 部 ’ 8 l GUIDE PIN SELECT SECTION ! 2 9 3 0 3 9 3 6 3 7 3 1 3 5 3 8 1 5 k 0 4 0 i 4 1 • 12 4 4 13 4 5 4 6 4 6 4 3 1 8 4 3 20 3 4 8 3 2 1 7 3 3 2 3 2 2 2 7 2 6 3 4 ■ 3 J - 46 4 3 8 PX 00 K 04 - 300 - G . A M 79

jytf
下部
71
LOWER
ANVIL
SECTION
im
部
個数
考
名
備
番
品
品
No
.
PART
NAME
Q
’
TY
REMARKS
PART
No
.
REF
No
.
HEXAGON
SOCKET
HEAD
SCREW
V
201
XVE
3
B
10
FP
2
M
3
X
10
六角穴付
Oh
HEXAGON
SOCKET
HEAD
SCREW
Y
202
XVE
4
B
15
FP
4
M
4
X
15
六角穴付
f
舒
V
203
XVE
6
B
20
FP
HEXAGON
SOCKET
HEAD
SCREW
5
M
6
X
20
六角穴付
*
.
朴
V
204
XVE
6
B
25
FP
HEXAGON
SOCKET
HEAD
SCREW
4
M
6
X
25
六角穴付
f
針
V
205
XVE
8
B
20
FP
HEXAGON
SOCKET
HEAD
SCREW
4
M
8
X
20
<
W
/
H
><
DELETE
>
V
207
六角穴付
JT
JI
4
Y
208
XVE
5
B
16
FP
HEXAGON
SOCKET
HEAD
SCREW
3
M
5
X
16
六角穴付
4
’
針
Y
209
XVE
6
B
16
FP
HEXAGON
SOCKET
HEAD
SCREW
2
M
6
X
16
六角于外
V
211
XNG
6
DFP
HEXAGON
NUT
2
M
6
,
lyj
V
212
XNG
8
DFP
六角
t
外
HEXAGON
NUT
M
8
(
\
yj
PX
00
K
04
-
V
200
-
D
M
78

力 選 択 部
’
8
l
GUIDE
PIN
SELECT
SECTION
!
29
30
39
36
37
31
35
38
15
k
0
40
i
41
•
12
44
13
45
46
46
43
1
8
43
20
34
8
32
17
33
23
22
27
26
34
■
3
J
-
46
43
8
PX
00
K
04
-
300
-
G
.
A
M
79

力
3
Kt
°
>
選択部
8
~
|
GUIDE
PIN
SELECT
SECTION
部
個数
備
考
名
番
品
品
No
.
REMARKS
Q
'
TY
PART
NAME
REF
PART
No
.
No
.
T
BRACKET
XOOK
04301
旋回
A
*
\
r
ROTATION
PIPE
2
X
00
K
04302
XOOK
04303
RAIL
3
7
*
X
00
K
04304
4
W
X
00
K
04309
RETAINER
2
5
BLOCK
6
XOOK
04310
V
nW
BEARING
2
MTzz
7
XLC
6911
ZZ
A
*
-
7
'
iW
HOSE
ELBOW
4
M
-
3
ALU
-
4
8
N
431
M
3
ALU
4
平行
t
°
>
PARALLEL
PIN
M
6
A
-
D
5
X
15
9
XPJ
5
A
15
FW
wry
PARALLEL
PIN
2
M
6
A
-
D
4
X
10
TO
XPJ
4
A
10
FW
FTTITW
X
00
K
04320
GUIDE
PIN
ROD
11
CAM
FOLLOWER
HOLDER
12
X
00
K
04321
-
STOPPER
X
00
K
04322
13
旋回
7
°
I
/
-
卜
ROTATION
PLATE
14
X
00
K
04323
選択叶
r
SELECTION
ROD
3
15
X
00
K
04325
TTK
X
00
K
04326
GUM
16
FIT
7
X
00
K
0432
B
PISTON
2
17
<
44
>
<
45
>
18
y
'
J
/
f
1
'
□
*
;
?
T
9
X
944
-
203
A
CYLINDER
BLOCK
"
7
MAF
PLATE
(
A
)
X
804
-
023
20
X
804
-
024
7
夕
(
B
)
PLATE
(
B
)
21
22
X
804
-
026
PACKING
2
23
X
804
-
031
LOCK
PISTON
24
X
804
-
032
卩
7
夕
:
Al
\
LOCK
SHAFT
25
X
804
-
033
PLATE
26
X
804
-
034
PLATE
27
X
804
-
035
PACKING
圧縮八
’
本
28
X
804
-
036
SPRING
29
X
055
-
903
t
;
(
卜
NUT
¥
W
30
N
554
S
001024
O
-
RING
SO
-
010
-
24
1
UW
31
X
055
-
917
SPRING
HOLDER
2
32
N
555
MYA
4
MY
A
'
7
+
>
PACKING
4
MYA
-
4
33
MYAW
PACKING
N
555
MYA
5
4
MYA
-
5
D
.
U
.
7
•
炊
i
'
J
-
K
力
.
仆
m
)
M
N
520
MB
0606
DU
D
.
U
.
BUSHING
2
MB
0606
DU
35
X
044
-
001
A
LEAD
GUIDE
PIN
(
A
)
2
36
X
044
-
002
'
J
-
K
力
.
仆
•
匕
•
>
®
LEAD
GUIDE
PIN
(
B
)
37
X
044
-
090
圧縮斤字
SPRING
4
A
'
授
⑻
38
X
044
-
005
A
SPRING
HOLDER
(
B
)
2
3
本
i
-
'
HJ
'
jfy
*
3
本
39
X
044
-
006
CARTRIDGE
39
X
044
-
206
CARTRIDGE
P
=
2
.
54.5
.
08
—
DO
.
7
40
XPJ
12
C
3
FW
平行
PARALLEL
PIN
H
7
A
-
D
1
2
X
3
X
044
-
008
41
MM
保 護
-
42
X
904
-
009
A
PROTECTION
COVER
43
N
431
BS
04
vFr
SLEEVE
4
BS
-
D
4
X
00
K
043291
TW
44
BLOCK
X
00
K
043292
7
'
UV
!
J
45
BLOCK
击
°
!
)
朴夕
>
于
i
7
’
46
N
4354
US
TUBE
2
US
15
-
04
,
YB
PX
00
K
04
-
300
-
G
_
A
M
80