FX-3-Rev11(k-) - 第41页
- 36 - NOTE( 注記 ) #01....TYPE XL XL 仕様 REF.NO NOTE PART NO D E S C R I P T I O N 品 名 Qty 1 400-46741 X FRAME S X フレーム S 4 2 400-46750 LINEAR GU IDE X リニアガイド X 8 3 #01 400-92172 X LMT BR ACKET L XL X リミットブラケット L XL 4 4 SM…

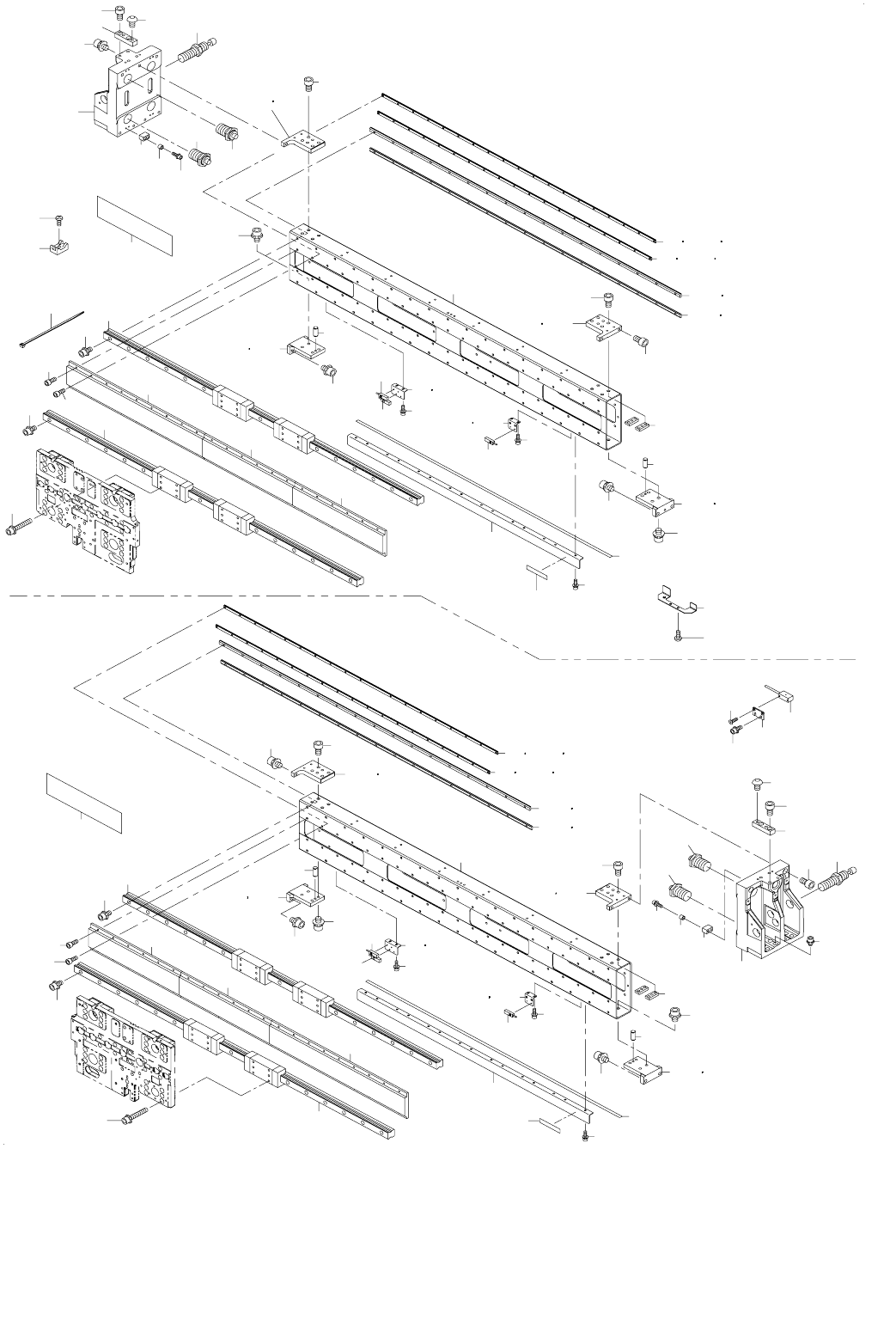
- 35 -
18.X-Y COMPONENTS (4)
X−Y関係(4)
54 58
54
58
2
4
4
2
8
54 58
8
54 58
9
10
8
54 58
8
54 58
54
58
54
58
4
2
14
15
55
15
55
14
22
56
22
56
13
13
13
23
16
16
17
19
20
11
53
10
27
29
29
30
30
31
31
34
34
33
26
35
12
35
36
36
20
37
37
40
57
40
57
41
51
41
17
3
38
39
51
32
32
39
3 38
16
23
42
43
44
45
24
46
47
47
48
48
50
49
21
28
28
18
53
36
1
1
2
25
25
25
25
4
9
9
9
52
26
20
18
53
51
525
5
6
7
7
6
7
7
36
11
53
51
23
33

- 36 -
NOTE( 注記 ) #01....TYPE XL XL 仕様
REF.NO NOTE PART NO D E S C R I P T I O N
品 名
Qty
1 400-46741 X FRAME S
X フレーム S
4
2 400-46750 LINEAR GUIDE X
リニアガイド X
8
3
#01
400-92172 X LMT BRACKET L XL
X リミットブラケット L XL
4
4 SM-6052002-TN BOLT
六角穴ボルト
34
5 SL-6053092-TN SCREW
座金付き六角穴ボルト
96
6 400-48015 LINEAR MOTOR STATOR
リニアモータ固定子
4
7 400-48016 LINEAR MOTOR STATOR
リニアモータ固定子
8
8 400-47381 X MT PLATE NUT
X MT プレートナット
8
9 SM-6041202-TN SCREW M4X0.7 L=12
六角穴ボルト M 4 X 0.7 L =12
168
10 400-70188 CAUTION LABEL 50
リニア注意ラベル50
8
11 400-58664 X SUP JOINT FLU
X サポートジョイント FLU
4
12 SL-6063592-TN SCREW
座金付き六角穴ボルト M 6 L =35
4
13 SM-6062002-TN SCREW M6 L=20
六角穴ボルト M 6 L =20
20
14 400-46745 PLATE NUT S
プレートナット S
24
15 400-58665 X SUP JOINT FLB
X サポートジョイント FLB
4
16 SL-6062592-TN SCREW
座金付き六角穴ボルト
8
17 SL-6061692-TN BOLT
座金付き六角穴ボルト
16
18 400-58666 X SUP JOINT FRU
X サポートジョイント FRU
4
19 SL-6063592-TN SCREW
座金付き六角穴ボルト M 6 L =35
4
20 SM-6062002-TN SCREW M6 L=20
六角穴ボルト M 6 L =20
20
21 EA-9500B02-00 CABLE BAND 150
結束バンド 150
24
22 400-58667 X SUP JOINT FRB
X サポートジョイント FRB
4
23 SL-6062592-TN SCREW
座金付き六角穴ボルト
24
24 400-44531 MAGNETIC SCALE X SENSOR UNIT
マグネチックスケール X センサユニット
4
25 PH-0500122-C0 PIN
平行ピン
16
26 400-58410 X FRAME END
X フレームエンド
4
27 SL-6082592-TN BOLT
座金付き六角穴ボルト
16
28 400-48026 MAGNETIC SCALE X
マグネスケール X
4
29 400-63714 X STOPPER RUBBER
X ストッパラバー
8
30 E2779-721-000 STOPPER COLLAR
ストッパカラー
32
31 SL-6031692-TN SCREW
座金付き六角穴ボルト
16
32 400-02229 X ORG RANGE SENSOR ASM
X 軸原点周囲センサ組
4
33 400-58668 CB BLOCK YSB
CB ブロック YSB
2
34 SM-6061202-TN BOLT
六角穴ボルト
4
35 SM-3061252-TN SCREW M6 L=12
丸ねじ M 6 L =12
4
36 PA-9000730-00 SHOCK ABSORBER
ショック アブソーバ
8
37 PA-9000740-00 SHOCK ABSORBER
ショック アブソーバ
4
38 400-46759 X LMT BRACKET L
XLMT ブラケット L
4
39 SL-6030892-TN SCREW
座金付き六角穴ボルト
8
40 400-46760 X LMT BRACKET H
XLMT ブラケット H
4
41 SL-6030892-TN SCREW
座金付き六角穴ボルト
8
42 400-56581 X SENSOR DOG
X センサドグ
4
43 SM-3040652-TN SCREW M4 L=6
丸ねじ M 4 L =6
8
44 400-46761 X MSH SPACER
XMSH スペーサ
4
45 SM-1030601-SC SCREW M3 L=6
皿小ねじ M 3 X 0.5 L =6
8
46 SL-6041092-TN SCREW
座金付き六角穴ボルト
8
47 400-69610 X MSC GUARD
X MSC ガード
4
48 SL-6030892-TN SCREW
座金付き六角穴ボルト
36
49 HX-0029400-00 FIXED BASE
固定ベース
60
50 SM-4040601-SC SCREW M4X0.7 L=6
なべ小ねじ M 4 X 0.7 L =6
80
51 400-02227 X PLUS LMT SENSOR ASM
X 軸プラスリミットセンサ組
8
52 E2333-715-000 CAUTION SEAL
注意シール
8
53
#01
400-92170 X SUP JOINT FLU XL
X サポートジョイント FLU XL
8
54 400-89685 X LM PLATE NUT H2
X LM プレート ナット H 2
8
55
#01
400-92173 X SUP JOINT FLB XL
X サポートジョイント FLB XL
4
56
#01
400-92174 X SUP JOINT FRB XL
X サポートジョイント FRB XL
4
57
#01
400-92171 X LMT BRACKET H XL
X リミットブラケット H XL
4
58 400-89684 X LM PLATE NUT H1
X LM プレート ナット H 1
8

- 37 -
19.X-Y COMPONENTS (5)
X−Y関係(5)
1
2
1
6
9
58
10
11
12
13
13
10
15
14
9
58
15
16
16
17
17
18
18
19
19
14
21
20
6
34
35
22
28
31
39
37
25
42
43
43
42
44
44
46
46
46
1
1
2
31
42
43
43
42
44
44
45
46
46
48
53
52
51
48
50
50
50
46
26
27
30
30
50
38
5
33
8
23
24
36
40
41
57
54
54
4
49
47
47
8
8
47
47
55
32
57
56
46
45
29
45
2
45
2
3
54
3
54
41
33
5
40
57
36
3
3
3
46
3
3
3
8
51
59
59
59
59
7 60
7 60