JX-100_使用说明书.pdf - 第318页
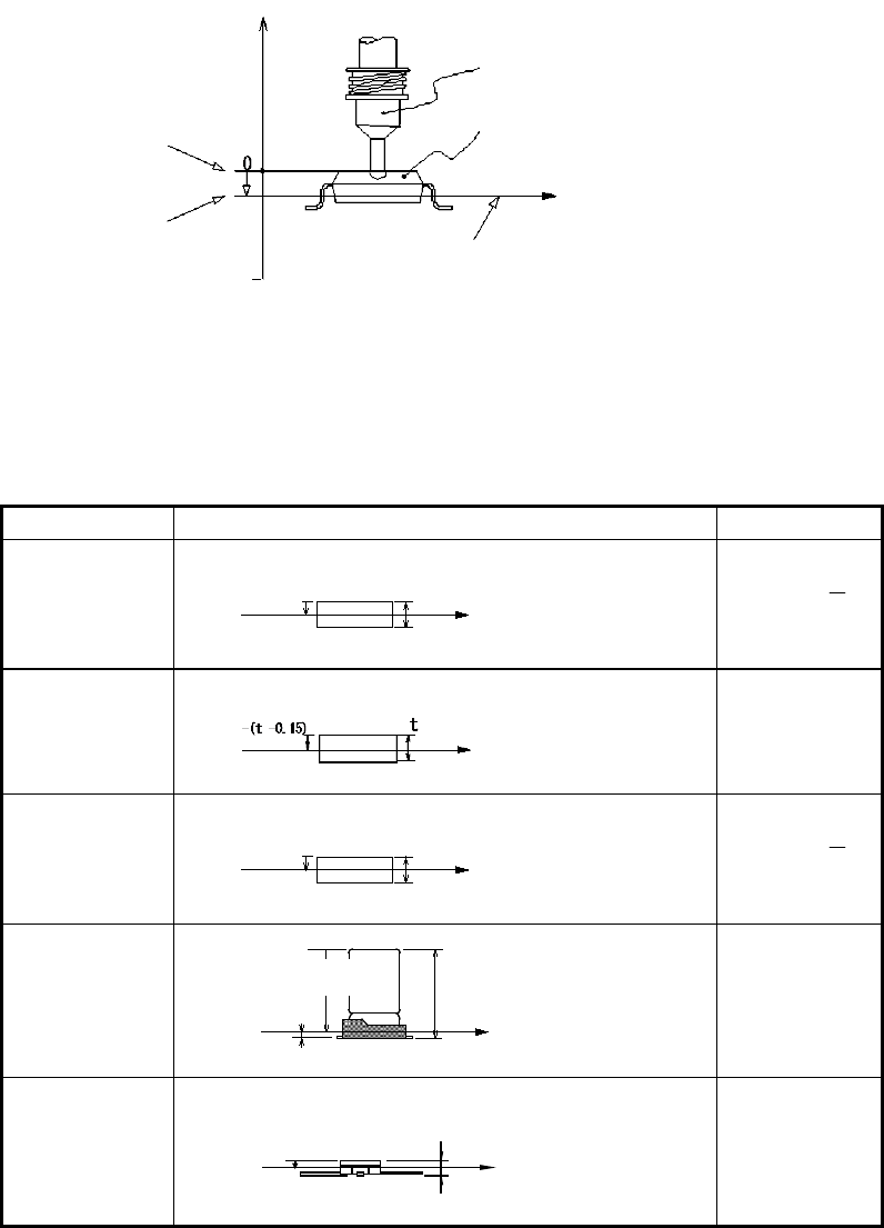
第 1 部 基本篇 第 4 章 制作生产程序 (4) 激光高度 设置激光定中心 时的测量高度。输入 从吸嘴顶端到激光照 射到的测量位置的 距离。 虽然根据元件高度与元 件种类自动决定 初始值,但有时不同的元 件 ( 激光测定位置 为圆筒形或透 明时等 ) ,需要改变初始值。 请设置 可进行稳定识 别的高度。 ◆ 默认值 激光高度的默认 值有时根据元件的种 类和高度来设置。 下表给出了 元件种类和激光高度 的默认值 的关系。 表 4-3-…

第 1 部 基本篇 第 4 章 制作生产程序
激光定中心的中心位置
贴片坐标点
激光定中心的中心位置
激光定中心的中心位置
贴片坐标点
注 1) “贴片偏移”值,请输入从激光定中心的中心位置到贴片坐标点的距离。值的符号如下(箭头
为到贴片坐标点的距离)
例) 按下图贴片时,将贴片偏移输入为“X=0,Y=+3”。
注 2) 偏移值以贴片角度“0”为基准输入。
例) 元件的贴片角度为“90”时,假定贴片角度为“0”,输入“贴片偏移值”。在下列情况时(贴
片角度“90”),输入“X=0、Y=2”。
注 3) 偏移值的输入方法有如本书所述的从“元件数据”的“贴片偏移”输入偏移值和在“贴片数
据”的“X、Y 坐标”上调整偏移值两种方法。
但贴片数据中需要输入各个贴片点的偏移值。因此,当 1 种元件的贴片点数量很多时,或不
想变更贴片数据时,请用“元件数据”的“贴片偏移”输入偏移值。
注 4) 根据元件不同,通过变更“元件数据”—“详述(扩展)”的“激光高度”,有可能改变定中
心的中心位置。因此,有时不输入“贴片偏移”值,改变“激光高度”也能调整贴片位置。
但这种情况下需要在能稳定定中心的位置上设置“激光高度”。
+Y
+X
-
X
-
Y
3
2
4-64

第 1 部 基本篇 第 4 章 制作生产程序
(4) 激光高度
设置激光定中心时的测量高度。输入从吸嘴顶端到激光照射到的测量位置的距离。
虽然根据元件高度与元件种类自动决定初始值,但有时不同的元件(激光测定位置为圆筒形或透
明时等),需要改变初始值。请设置可进行稳定识别的高度。
◆ 默认值
激光高度的默认值有时根据元件的种类和高度来设置。下表给出了元件种类和激光高度的默认值
的关系。
表 4-3-5-2-5-1 元件种类和激光高度的默认值的关系
元件种类
测定位置
测定高度(mm)
方形芯片
レーザ測定位置
部品高さ
t
t
--
2
2
t
-
-
方形芯片
(LED)
-(t - 0.15)
圆筒形芯片
レーザ測定位置
部品高さ
t
t
--
2
2
t
-
-
铝电解电容器
レーザ測定位置
部品高さ
t
β
-(t-β)
-(t-β)
β=0.35
GaAsFET
部品高さ
t
レーザ測定位置
-0.5
-0.5
2
t
元件高度
t
激光测定位置
吸嘴高度
激光高度
激光
元件
吸嘴
(继续)
-
Z
-
Z
2
t
元件高度
t
激光测定位置
元件高度 t
激光测定位置
元件高度
激光测定位置
β
-(t-β
)
β
元件高度
t
激光测定位置
4-65

第 1 部 基本篇 第 4 章 制作生产程序
元件种类
测定位置
测定高度
SOT
レーザ測定位置
モールド部
部品高さ
t
-γ
-r
r=0.25
SOP
HSOP
レーザ測定位置
モールド部
部品高さ
t
-0.7t
-0.7×t
SOJ
レーザ測定位置
モールド部
部品高さ
t
-0.65t
-0.65×t
QFP
レーザ測定位置
モールド部
部品高さ
t
-0.7t
-0.7×t
QFN
レーザ測定位置
モールド部
部品高さ
t
-
0.5
t
-0.5×t
QFJ(PLCC)
-(t - β)
β = 0.4
PQFP(BQFP)
レーザ測定位置
モールド部
部品高さ
t
-0.45t
-0.45×t
TSOP
レーザ測定位置
モールド部
部品高さ
t
-0.7t
-0.7×t
TSOP2
レーザ測定位置
モールド部
部品高さ
t
-0.7t
-0.7×t
元件高度
激光测定位置
激光测定位置
模部
模部
(继续)
激光测定位置
模部
元件高度
激光测定位置
模部
元件高度
元件高度
元件高度
激光测定位置
元件高度
激光测定位置
元件高度
激光测定位置
模部
模部
模部
激光测定位置
元件高度
模部
4-66