JX-100_使用说明书.pdf - 第5页
注意续 各使用环节中的注意事项 搬 运 1. 为防止 提起、移动 时发生颠倒、掉 落事故,请 采取充分的安全 对策。 2. 请在下 述环境下运 输及保管 环境条件 温度 : - 15 ℃ ~ 70 ℃ 湿度 : 20 % ~ 95 % RH ( 但不得有露水 ) 开 封 1. 请阅读 装运用集装 箱内所述的所有 指示。 2. 包装带 绝不能用刀 割开。 3. 请保管 好装运用的 器材。 安 装 1. 为避免 正在运行的 机器意外移动引 …

基本注意事项
1. 使用前,请务必阅读使用说明书、本功能追加部分的使用说明书、以及附件中的所有说明材料,
并注意保管好这些使用说明书,以便可随时阅读。
2.
本项内容,也包括您购买的机器规格之外的项目内容。
3. 本机器的操作,仅限于掌握了该机器操作的操作员使用。
4. 本机器的修理和维护(日常检查、使用说明书指定之外的事项),请委托本公司或经销商进行。
5. 一般性的维护检查、修理(本使用说明书中指定的事项),应由受过本公司指定的保全培训的专职
保全技术员进行。
修理时(本使用说明书中指定的事项),请使用本公司的纯正部件。
安全装置、警告标识
1.
为了防止安全装置缺落引起的事故,操作本机器时,请确认安全装置已正确安装在规定的位置,
然后再进行操作。
2. 拆卸安全装置时,请务必安装在原位置,并确认功能正常。
3.
贴在机器上的警告标识,请正确粘贴,使之醒目可见。若发生剥落或污损,请与本公司联系,
换成新的标识。
4.
安全装置发生故障时,绝不能在拆下安全装置的状态下运行机器。
在拆下安全装置状态下运行,有可能导致死伤事故。
5.
请勿用手触摸修理工程师开关。开关状态被改变时,可能出现危险的动作。
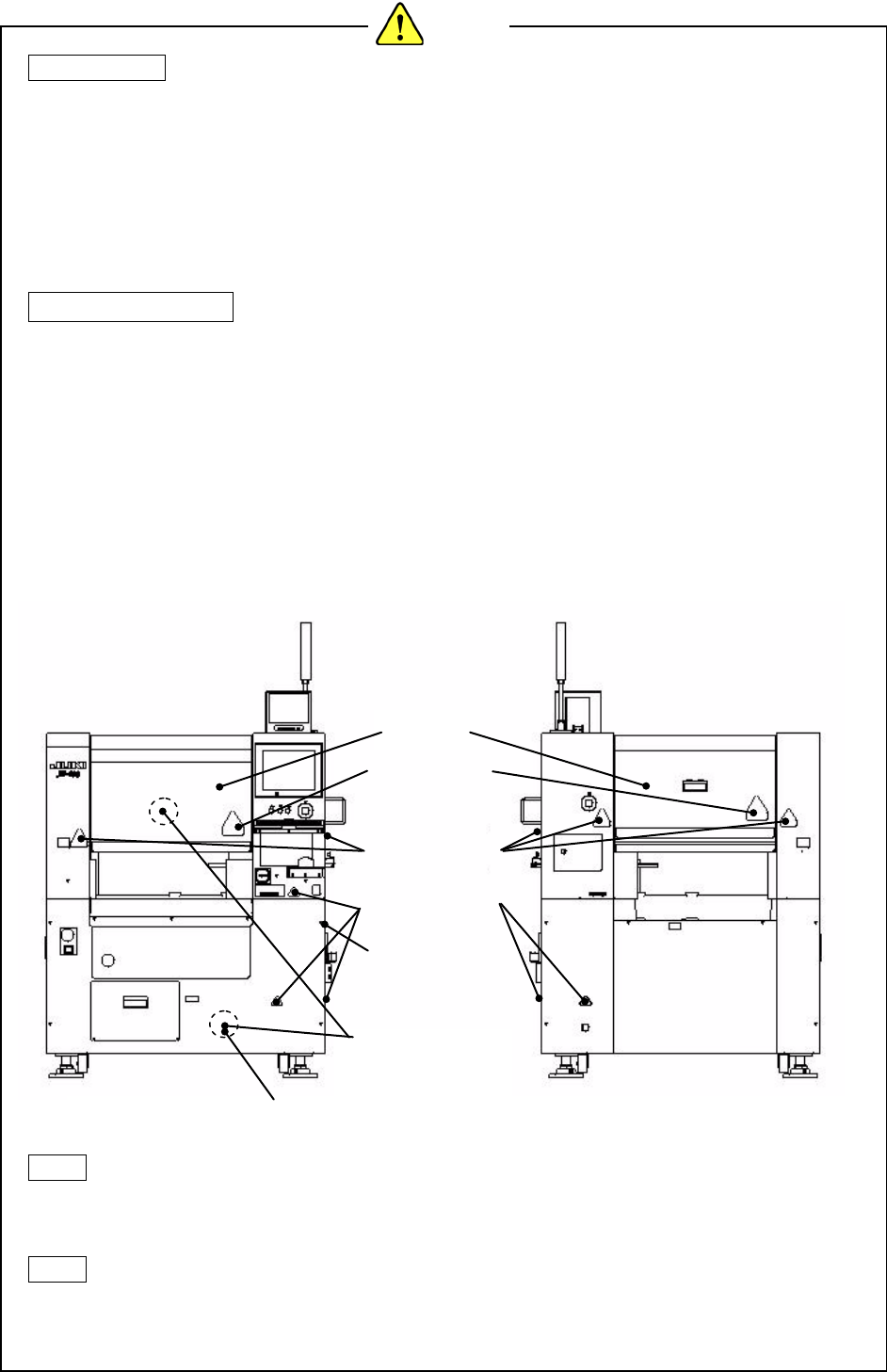
【注意标签及装置额定标牌张贴位置】
【
正面图
】 【
背面图
】
用 途
1. 请勿将本机器用作其它用途。否则由此而引发的责任,本公司概不负责。
2. 请勿对机器进行改造。因改造而引起的事故,本公司概不负责。
培 训
1. 为防止操作不熟悉而引起的事故,请只有受过本公司指定的操作培训、具备适当的知识和操作技能
的操作员,方可操作本机器。
注意
小心活动部的标识
小心被卷入的标识
小心高压的标识
安全盖
禁止触摸标志
修理工程师开关
装置额定标牌
ii

注意续
各使用环节中的注意事项
搬 运
1. 为防止提起、移动时发生颠倒、掉落事故,请采取充分的安全对策。
2. 请在下述环境下运输及保管
环境条件 温度 :-15℃~70℃
湿度 :20%~95%RH (但不得有露水)
开 封
1. 请阅读装运用集装箱内所述的所有指示。
2. 包装带绝不能用刀割开。
3. 请保管好装运用的器材。
安 装
1. 为避免正在运行的机器意外移动引起事故,请用高度调节装置,将滚动轮悬起。
2. 请将本机器设置在水平的地方。请在机器的前后确保 1m 左右的空间。
3. 为防止触电、漏电、火灾,电缆类请使用附件,并连接在规定的位置。
4. 为防止触电、漏电、火灾,在运行时,电缆请勿过度加压。
5. 电源插头、I/F 电缆的连接器,请固定到位。在拔出电源插头、I/F 电缆时,要握住连接器部拔出。
运行前
1. 为了防止人身事故,在接通电源前,请确认连接器、电缆类无损伤、脱落、松弛等。
2.
为了防止人身事故,请勿将手放入驱动部。
3.
在驱动气缸下面注意不要放工具或其他物品。否则在送料器台架下降时与驱动气缸接触,不仅会损
伤放置的东西,还会损坏机器或连接器部,也有引起短路发生火灾的危险。
加 油
1. 黄油请使用 JUKI 指定的黄油。
2. 为了防止炎症、斑疹,黄油附着在眼睛里或身体上时,请立即进行清洗。
3. 误食时,为防止腹泻、呕吐,请立即请医生诊断。
维 护
1. 为了防止因操作不熟悉而引起的事故,修理、调试作业应由熟悉机械的保全技术员进行。
更换零部件时,请使用本公司的纯正部件。对使用非纯正部件所引起的事故,本公司概不负责。
2. 为了防止操作不熟练而引起的事故和触电事故,有关电气的修理、保全(包括配线),请委托有电
气专业知识的人员或本公司、销售公司的技术人员。
3. 为防止意外起动造成事故,请拆下气源管,放出剩余的空气后再进行维护。
4. 为防止人身事故,进行修理调试、零部件更换等作业后,请确认螺钉、螺母等稳固不松弛。
使用环境
1. 为防止因错误操作而引起的事故,请勿在受高频焊机等噪声源(电磁波)影响的环境下使用。
2. 为防止因错误操作而引起的事故,请勿在电源电压超过额定电压±10%的情况下使用。
3. 为防止因错误操作而引起的事故,请在 0.5±0.05MPa 的供气压力下使用。
4. 为了安全使用,请在下述环境下使用。
5. 为防止电气部件破损引起的事故,从冷处将机器突然移动到暖处时,有时会结露,因此,
请在完全无需担心水滴后再接通电源。
运行的环境条件 温度 :10℃~35℃
湿度 :30%~80%RH (但不得有露水)
标高 :
1,000m 以下
6. 为防止电气部件破损而引起的事故,打雷时,请停止使用,并拔出电源插头。
注意
iii

为了安全使用 JX-100/JX-100 LED 的注意事项
1.为了防止触电引起的事故,请勿在接通电源的状态下打开电气设备箱。
2.为防止触电,请勿在拆下接地线的状态下运行。
1.为防止人身受伤,请勿在拆下安全罩、安全装置等状态下运行。
2.为防止人身受伤,请务必小心,以免头发、衣服等被卷入传送带链。
此外,请勿戴手套。
3.为防止人身受伤,维护时(加油、调试、日常检修),请切断电源。
4.为防止人身受伤,请在电源线上使用漏电断路器。
1.本装置的操作系统采用 Windows XP。
除安装本装置提供的软件之外,加装其他软件,不保证正常运行。对 SSD 内组
装的文件进行转移、重命名、文件夹·文件的压缩、复制,也同样不保证正常
运行,敬请谅解。
● 万一出现此钟情况,需要更换新的 SSD,有可能丢失数据,务请格外注意。
为保护操作系统,使用了 Enhanced Write Filter(EWF)组件,进行了 C 盘 ROM 化。
1.请不要在 C 盘保存文件。
把文件保存在 ROM 化后的 C 盘,会仿真占用主存储器。因而,把文件存在 C 盘
里时,会增加主存储器的使用量,压迫系统。反复保存后可能造成内存不足,
显示系统错误,可能需要重启本设备。
2.需要修改 OS 信息时,必须刷新 C 盘操作。
操作方法请参见使用说明书「1-6 更新 C 盘的操作」。
需要修改 OS 信息的操作是指下列事项:
• JX-100/JX-100 LED 系统软件的版本升级
• 触摸屏自我校正
• 添加打印机
• 添加用户
• 变更资源管理器的设置
● 要变更操作系统信息时,在修改 C 盘操作后,需要重启一次本装置。
〈安全盖〉
1.开关安全盖时请注意下列事项。
• 打开安全盖时要把盖子向上开足直到上了锁,确认上了锁后再放开手。
没有上好锁就放开手时,盖子有落下来的危险。
• 关盖子时先解开锁,再关闭盖子。
(请注意,解开锁时不要使盖子落下来导致受伤。
• 不要过渡增加盖子、手把等的负荷。
1.安装等时请不要站到机器上面,以免损坏外罩类。
1.操作机器时,请注意以下事项。否则不能正确运行。
• 不要使用任务管理器,强制结束操作。
• 在机器工作中,请不要按下×按钮。
注意
危险
注意
注意
注意
注意
注意
iv