N7202A047B.pdf - 第101页
Ref No. Remark s R 1 Q'ty 17-A 全体カバー :NPM-W 2 W hole Cover:NPM -W 2 イラストNo. Part No. 品 名 品 番 数量 R 2 パーツリスト Kit No. キット品番 Kit Nam e キット名称 N610154523A A Part Nam e 備 考 セクションN o. PARTS LIST Section No. R 3 BRAC KET 24 …

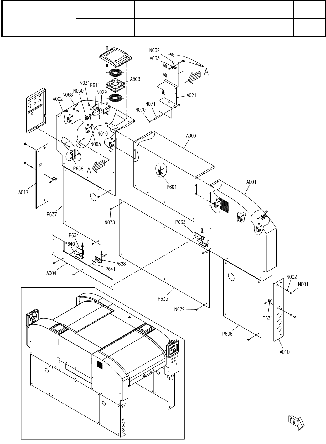
17-A
全体カバー:NPM-W2
Whole Cover:NPM-W2
パーツレイアウト
Kit No.
キット品番
Kit Name
キット名称
N610154523AA
セクションNo.
PARTS LAYOUT
Section No.
-
-
S53
( FN610154523AA-35-1 )
LAYOUT

Ref No. Remarks R
1
Q'ty
17-A
全体カバー:NPM-W2
Whole Cover:NPM-W2
イラストNo.
Part No.
品 名品 番 数量
R
2
パーツリスト
Kit No.
キット品番
Kit Name
キット名称
N610154523AA
Part Name
備 考
セクションNo.
PARTS LIST
Section No.
R
3
BRACKET
24
P601 N210143028AC
BRACKET
2
P611 N210143033AB
BRACKET
1
P628 N210194456AB
BRACKET
4
P631 MTPB001184AA
BRACKET
2
P633 MTPB001224AC
BRACKET
2
P634 MTPB001225AC
COVER
2
P635 N210183430AB
COVER
2
P636 N210183431AB
COVER
2
P637 N210183433AB
BRACKET
1
P638 N210200783AA
PLATE
4
P640 MTPB002994AB
PLATE
2
P641 MTPB002995AA
COVER
1
A001 N610154515AC
COVER
1
A002 N610154516AE
COVER
1
A003 N610154517AC
COVER
1
A004 N610166193AC
COVER
1
A010 MTKP000663AB
COVER
1
A017 MTKP000664AB
COVER
1
A021 N610166195AC
BRACKET
4
A033 N610131585AA
FAN
1
A503 N610128950AB
S
CAP
16
N001 N510024547AA CP-328-B-5-G hole process
BOLT
16
N002 N510017629AA
Hexagon socket Flat head bolt M5X10-10.9 A2J (Trivalent)
CABLE-SUPPORT
12
N010 N348TA1S8 TA1S8
CABLE-SUPPORT
0
N510065712AA HC-0M
SWITCH
2
N029 N510056987AA
S
HS5D-02RNP
JOINT
2
N030 KXF06F4AA00 53015030-WM
CABLE-SUPPORT
0
MTNW000672AA P13512
CABLE-SUPPORT
2
N031 N510048517AA FT4
RUBBER-CUSHION
4
N032 KXF01E0AA00 C-30-CS-2
SCREW
8
N065 N510018279AA
Cross recessed Truss head machine screw M4X6-4.8 A2J (Trivalent)
GASKET
1
N068 MTNZ001552AA 30TS 10-7(AZD4) L=90
SCREW
1
N070 XXE6D20FT
Hexagon socket set screw Cup point M6X20-45H SOB
SPACER
1
N071 N510038223AA ASF-685E
SCREW
14
N078 N510018305AA
Cross recessed Truss head machine screw M6X10-4.8 A2S (Trivalent)
SCREW
14
N079 MTNK001471AA
Cross recessed Truss head machine screw M6X15-4.8 A2S (Trivalent)
S54
-
-
( FN610154523AA-35-1 )

17-B
全体カバー:NPM-W2
Whole Cover:NPM-W2
パーツレイアウト
Kit No.
キット品番
Kit Name
キット名称
N610154523AA
セクションNo.
PARTS LAYOUT
Section No.
-
-
S55
( FN610154523AA-35-2 )
LAYOUT